国際特許分類[A43B21/00]の内容
生活必需品 (1,310,238) | 履物 (4,053) | 履物の特徴;履物の部分 (3,598) | かかと;化粧 (89)
国際特許分類[A43B21/00]の下位に属する分類
材料により特徴づけられるもの (16)
特にはねを飛ばさないように形成されたかかとまたはかかと装着物 (3)
構成に特徴のあるもの (33)
取付具に特徴のあるもの;取付具を固着する装置 (33)
国際特許分類[A43B21/00]に分類される特許
1 - 4 / 4
ヒール付き靴
【課題】主として、パンプスと称されている女性用の靴、特にハイヒールパンプスやミドルヒールパンプス等、ある程度の高さのヒールを有するヒール付きの靴に関し、外反母趾が生じるのを好適に防止することができ、また歩行時に踵が浮いて靴が脱げ易くなることや、靴の前部側の不用意な変形をも防止することができる靴を提供することを課題とする。
【解決手段】甲皮と、ヒールを有する靴底とで靴本体が形成されたヒール付き靴であって、靴本体の前部側内部に、足の指間に挿入可能な鼻緒部が設けられていることを特徴とする。
(もっと読む)
ハイヒール婦人靴及びその装飾品
【課題】 装飾性、ファッション性に優れるとともに、フォーマルな場や華やかなパーティ等の用途に応じた多様な着用を可能としたミュール、パンプス、ブーツ等のハイヒール婦人靴、及びこのハイヒール婦人靴に装着する専用の装飾品を提案する。
【解決手段】 高いヒール3を備えたミュール、パンプス、ブーツ等のハイヒール婦人靴において、ヒール3の後面の上方位置に装着する複数の装飾品7、8を、着脱自在且つ取替自在としたことを特徴する。
(もっと読む)
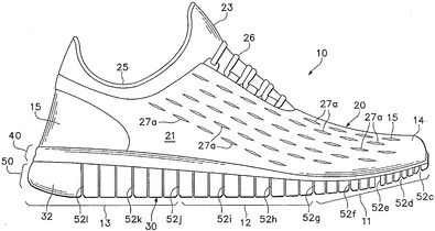
関節のあるソール構造を有する履物品
アッパーおよびアッパーに固定されたソール構造を含む履物品を開示する。ソール構造は、アッパーに隣接して位置し、アッパーの長手方向長さに沿って延びる接続部を含む。複数の離散したソール要素が接続部から下向きに延びている。ソール要素は下面を定め、かつソール要素は、下面から上向きにソール構造内に延びる複数の溝によって分離されている。アウトソールは、溝内に配置され、ソール要素同士の間を延びることができ、アウトソールの下部は、ソール要素の下面を越えて延びる。
(もっと読む)
踵部底板
【課題】 個人差に応じて適応性のある汎用性の踵部底板を提供する。
【解決手段】 厚さが一方の縁部から他方の縁部に向けて傾斜したほぼ円形の板よりなる踵部底板にすることにより、回転させて個人差に適応させる。
(もっと読む)
1 - 4 / 4
[ Back to top ]
