釣り用履き物
【課題】内部に侵入した水が効果的に排水されうる釣り用履き物1の提供。
【解決手段】この釣り用履き物1は、アッパー2と、ミッドソールと3、このミッドソール3の下方に配置されたアウトソール5と、上記ミッドソール3とアウトソール5との対向する面それぞれに装着された、相互に着脱可能な面ファスナー4とを備えており、上記ミッドソール3、及び、このミッドソール3に装着された面ファスナーに排水用の貫通孔15が形成されている。ミッドソール3とアウトソール5との間の、面ファスナー4のフック面13とループ面14との間には必然的に隙間16が形成される。この履き物1の内部に侵入した水は、上記貫通孔15及び隙間16を経由して外部に排出される。
【解決手段】この釣り用履き物1は、アッパー2と、ミッドソールと3、このミッドソール3の下方に配置されたアウトソール5と、上記ミッドソール3とアウトソール5との対向する面それぞれに装着された、相互に着脱可能な面ファスナー4とを備えており、上記ミッドソール3、及び、このミッドソール3に装着された面ファスナーに排水用の貫通孔15が形成されている。ミッドソール3とアウトソール5との間の、面ファスナー4のフック面13とループ面14との間には必然的に隙間16が形成される。この履き物1の内部に侵入した水は、上記貫通孔15及び隙間16を経由して外部に排出される。
【発明の詳細な説明】
【技術分野】
【0001】
本発明は、釣り人に着用されるブーツ、シューズ等の釣り用履き物に関する。
【背景技術】
【0002】
釣り用履き物は、アッパー及びアウトソールを備えている。アウトソールは、アッパーの底に設けられている。アウトソールは、その滑り止め効果を期待して、典型的には、ゴム、フェルト等から形成されている。ゴムからなるアウトソールの、岩等の地面との摩擦係数は大きい。このアウトソールは、グリップ性に優れる。このアウトソールにより、ブーツのスリップが防止される。
【0003】
フェルトからなるアウトソールは、変形能に優れている。このアウトソールは、凹凸のある地面に追従しやすい。フェルトは、吸水性にも優れる。フェルトは、アウトソールと地面との間に水膜を生じさせない。フェルトからなるアウトソールは、滑止性能に優れる。フェルトからなるアウトソールが、特開2006−296624公報及び特開2010−69184公報に開示されている。ゴムからなるアウトソール、及び、フェルトからなるアウトソールが交換可能な釣り用履き物が特開平6−253902号公報に開示されている。
【先行技術文献】
【特許文献】
【0004】
【特許文献1】特開2006−296624公報
【特許文献2】特開2010−69184公報
【特許文献3】特開平6−253902号公報
【発明の概要】
【発明が解決しようとする課題】
【0005】
これらの履き物は、渓流釣り、海釣り等に使用される。釣り人は、ターゲットである魚を求めて釣り場を移動する。釣り人は、これらの履き物を着用した状態で水中に入る場合がある。この場合、履き物の内部に水が侵入して滞留する。海釣りでは、波等の大量の水飛沫がかかる場合がある。このときにも、履き物の内部に海水が侵入する。雨天時の釣りでは、雨水が履き物の内部に侵入する。内部に水が滞留した履き物は、釣り人とって履き心地が悪い。内部に水が滞留すると、履き物の重量が増加する。このような履き物を着用している釣り人は歩きにくい。このような履き物は、その使用後においても乾燥に長時間を要する。
【0006】
履き物内部の水の排出のために、履き物の底を内外に貫通する排水口を形成することが考えられる。底に貫通孔が形成されると、この貫通孔から、履き物の内部に砂、小石、木片等が侵入するおそれがある。
【0007】
本発明は、かかる現状に鑑みてなされたものであり、その目的は、一旦内部に水が侵入しても、効果的に排水することのできる釣り用履き物を提供することである。
【課題を解決するための手段】
【0008】
本発明に係る釣り用履き物は、
アッパーと、
ミッドソールと、
このミッドソールの下方に配置されたアウトソールと、
上記ミッドソールとアウトソールとの対向する面それぞれに装着された、相互に着脱可能な面ファスナーとを備えており、
上記ミッドソールと、このミッドソールに装着された面ファスナーとに、排水用の貫通孔が形成されている。
【0009】
かかる履き物によれば、その内部に侵入した水は、上記ミッドソールの貫通孔を通ってアウトソールの上面に至る。この水は、相互に接合した面ファスナーのフックとループとが形成する隙間を通って外部に流れ出る。
【0010】
好ましくは、上記アウトソールが、フェルト及びゴムのいずれか一方から形成されている。
【0011】
本発明に係る他の釣り用履き物は、
アッパーと、
ミッドソールと、
このミッドソールの下方に配置されたアウトソールとを備えており、
上記ミッドソールに排水用の貫通孔が形成されており、上記アウトソールがフェルトから形成されている。
【0012】
かかる履き物によれば、その内部に侵入した水は、上記ミッドソールの貫通孔を通ってアウトソールの上面に至る。この水は、フェルトから形成されたアウトソール内部を通って外部に流れ出る。
【0013】
好ましくは、上記ミッドソールの上方にインソールが配置されており、このインソールにおける、上記ミッドソールの貫通孔に対応する位置に、排水用の貫通孔が形成されている。
【発明の効果】
【0014】
本発明に係る釣り用履き物では、その面ファスナーのフックとループとが形成する隙間、及び、アウトソールを形成するフェルト自体が排水路を構成しうる。その結果、この履き物の内部に水が一旦侵入しても、効果的に排水されうる。
【図面の簡単な説明】
【0015】
【図1】図1は、本発明の一実施形態に係る釣り用履き物のアウトサイドを示す側面図である。
【図2】図2は、図1の履き物のソール部を示す断面図である。
【図3】図3は、図1の履き物のミッドソールの下面の面ファスナー部分を示す底面図である。
【図4】図4(a)は、図2の履き物の面ファスナが接合している状態を示す、図2のIV部の拡大断面図であり、図4(b)は、図2の履き物の面ファスナが離間している状態を示す断面図である。
【図5】図5は、本発明の他の実施形態に係る釣り用履き物のソール部を示す断面図である。
【図6】図6は、図5のVI部の拡大断面図である。
【発明を実施するための最良の形態】
【0016】
以下、適宜図面が参照されつつ、好ましい実施形態に基づいて本発明が詳細に説明される。
【0017】
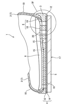
図1は、本発明の一実施形態に係る釣り用履き物1のアウトサイドを示す側面図であり、図2はそのソール部の断面図である。この履き物1は、アッパー2、ミッドソール3、面ファスナー4、アウトソール5及びインソール6を備えている。上記面ファスナー4は、ミッドソール3とアウトソール5とを着脱可能に接合する。
【0018】
アッパー2は、本体7、ベロ8、防砂用のフード9、ガード10及びベルト(紐でもよい)11を備えている。本体7は布製である。典型的には、本体7にメッシュ状の布が用いられる。本体7は合成樹脂又はゴムから形成されてもよい。ベロ8は本体7と同様の材料からなる。ベロ8がスポンジを含んでもよい。
【0019】
ミッドソール3はゴム又は合成樹脂を基材とする。典型的な基材は、エチレン−酢酸ビニル共重合体(EVA)である。ミッドソール3は、アッパー2の底に取り付けられている。この取付は、接着剤によって達成される。接着剤の基材ポリマーとしては、ポリウレタン、ポリクロロプレン及びアクリロニトリル−ブタジエン共重合体が例示される。ポリウレタンが好ましい。ミッドソール3の外縁には、リブ12が形成されている。リブ12は、ミッドソール3の下面より下向きに垂下している。
【0020】
面ファスナー4はフック面13とループ面14とを備えている。フック面13は、接着剤によってミッドソール3の下面に接着されている。ループ面14は、接着剤によってアウトソール5の上面に接着されている。フック面13がアウトソール5に接着され、ループ面14がミッドソール3に接着されてもよい。典型的な面ファスナー4は、ベルクロ社のマジックテープ(登録商標)である。リブ12は、面ファスナー4よりも下方にまで延在している。
【0021】
図2に図3も併せて参照すれば明らかなように、ミッドソール3、及び、このミッドソール3に一体化された面ファスナー4のフック面13には、排水用に複数個の貫通孔15が形成されている。貫通孔15はミッドソール3及びフック面13を貫通している。履き物1のミッドソール3より上方の内部空間は、面ファスナー4のフック面13とループ面14との接合部に連通している。後述するように、フック面13とループ面14との接合部は、必然的に、外部に通じる隙間16となる。
【0022】
上記貫通孔15は円形を呈しているが、貫通孔の形状は円形に限定されない。楕円形、多角形等であってもよい。貫通孔15の個数も限定されない。貫通孔15は、排水効果の観点から、ミッドソール3の上面のうちの低い位置に形成されるのが好ましい。例えば、着用者の足のボールガースに対応する部分、踵に対応する部分等である。「ボールガース(ballgirth)」とは、人の足の親指の付け根と小指の付け根とを結ぶ、幅が最も大きい部分である。
【0023】
アウトソール5は、面ファスナー4によってミッドソール3に着脱可能に接合される。アウトソール5は交換可能である。図2に示されるように、アウトソール5の周縁の上部は、リブ12に囲まれている。従って、面ファスナー4の部分もリブ12に囲まれている。このリブ12により、アウトソール5のミッドソール3からの意図せぬ離脱が防止される。
【0024】
図4に示されるように、面ファスナー4のフック面13は、基材となるシート13aの面に、多数の微細なフック片13bが突設されたものである。上記ループ面14は、基材となるシート14aの面に、多数の微細なループ14bが突設されたものである。基材シート13a、14aは、アウトソール5の安定した接合の観点から、硬質であるのが好ましい。多数のフック片13bと多数のループ14bとが係合し合って、フック面13とループ面14と接合する。従って、多数のフック片13bと多数のループ14bとが存在する両シート13a、14aの間は隙間16となる。
【0025】
前述のとおり、この隙間16はミッドソール3の貫通孔15と連通している。その結果、履き物1の内部に侵入した水は、貫通孔15及び隙間16を通って外部に排水される。この履き物1を着用した釣り人が陸地を歩くことにより、履き物1の内部の圧力上昇、及び、足による直接的な押出により、上記排水が加速される。貫通孔15のみならず、この隙間16も排水路を構成する。使用後の履き物1の乾燥にも長時間を要しない。
【0026】
アウトソール5は接地面17を有する。地面との擦動によって接地面17が摩耗した場合、アウトソール5がミッドソール3から剥がされる。そして、新たなアウトソール5が面ファスナー4によって接合される。図示されていないが、接地面17は凹凸模様を備えている。アウトソール5は、ゴム組成物が架橋されることで得られる。ゴム組成物の基材ゴムとしては、ブチルゴム、天然ゴム、ブタジエンゴム、スチレン−ブタジエンゴム及びアクリロニトリル−ブタジエンゴムが例示される。アウトソール5はフェルトから形成されてもよい。
【0027】
アウトソール5がフェルトから形成されている場合には、アウトソール5に接着されているループ面14に排水用の開口部が形成されるのが好ましい。この開口部は、上記貫通孔15に対応する位置に形成される。また、フェルトは通水性を有している。その結果、履き物1の内部に侵入した水は、貫通孔15、上記開口部及びフェルト内部を通っても、外部に排水されうる。貫通孔15及び上記隙間16のみならず、このフェルト層の内部も排水路を構成する。
【0028】
インソール6は、板状のベース18と、このベース18の周縁においてこのベース18から起立する側壁19とを有している。ベース18は、ミッドソール3の上面に載置されている。インソール6は三次元形状を有する。このインソール6は、「カップインソール」と称されている。インソール6は平板状であってもよい。インソール6はポリマー発泡体である。この発泡体の典型的な基材ポリマーは、エチレン−酢酸ビニル共重合体(EVA)である。メッシュ状のインソール6が用いられてもよい。
【0029】
インソール6が上記発泡体のように通水性を有しないものである場合、このインソール6にも排水用の貫通孔20が形成されるのが好ましい。この貫通孔20は、上記貫通孔15に対応する位置に形成される。その結果、履き物1の内部に侵入した水は、両貫通孔15、20を通って外部に排水される。このインソール6の貫通孔20には、これを覆うメッシュが貼着されてもよい。
【0030】
図5には、他の釣り用履き物21が示されている。この履き物21も、アッパー22、ミッドソール23、アウトソール25及びインソール26を備えている。この履き物21は面ファスナーを備えていない。アウトソール25はフェルトから形成されている。このアウトソール25は、ミッドソール23の下面に、接着剤によって直接に接着されている。このアウトソール25の取り替えはなされ得ない。上記接着剤がアウトソール25の上面からフェルト層にわずかにしみこんで接着剤層30(図6)が形成されている。
【0031】
この履き物21は、さらに、芯板27及びスペーサ28を備えている。芯板27はアッパー22の底を形成する。図5に示されるように、アッパー22の下端及びガード10の下端は折り曲げられている。この折り曲げられた下端が、芯板27とミッドソール23とによって挟まれている。スペーサ28は、芯板27の下面に貼り付けられている。スペーサ28は上記下端によって囲まれ、芯板27とミッドソール23とによって挟まれている。この履き物21の、上記以外の構成は、図1から図4に示された履き物1の構成とほぼ同一であるため、詳細な説明は省略される。
【0032】
ミッドソール23はゴム又は合成樹脂を基材とする。このミッドソール23は、厚肉の軟質層23aと、薄肉の硬質層23bとが一体に接着されたものである。ミッドソール23は、軟質層23a及び硬質層23bのいずれか一層のみであってもよい。硬質層23bがミッドソール23の下面側に配置されている。この硬質層23bの下面にアウトソール25が接着されている。このミッドソール23にはリブが形成されていないが、本発明では形成されていてもよい。
【0033】
ミッドソール23には排水用凹所29が形成されている。この排水用凹所29は、前述の履き物1における貫通孔15と同等の形状、個数、配置となっている。この排水用凹所29は、芯板27、スペーサ28及びミッドソール23を貫通している。この排水用凹所29は、ミッドソール23に一体化されたアウトソール25の部分を貫通してはいない。履き物21の内部に侵入した水は、排水用凹所29及びアウトソール25のフェルト内部を通って外部に排水される。使用後の履き物21の乾燥にも長時間を要しない。
【0034】
図6に示されるように、上記排水用凹所29の底部29aは、アウトソール25の上面よりわずかに下方に位置している。排水用凹所29の底部29aはフェルト層にある。排水用凹所29においては、ミッドソール23とアウトソール25とを接着する接着剤層30は切除されており、存在しない。排水用凹所29の底部29aに接着剤層30が存在すれば、排水が困難となるからである。図6ではインソール6の図示が省略されている。
【0035】
ミッドソール23に上記排水用凹所29を形成する方法は以下のとおりである。第一の方法は、まず、ミッドソール23の下面及びアウトソール25の上面の少なくとも一方に接着剤が塗布される。ミッドソール23の下面にアウトソール25が押圧されて接着される。ここで、この接着面に接着剤層30が形成される。芯板27とスペーサ28とには、予め排水用凹所29に対応する位置に貫通孔が形成されている。ついで、ミッドソール23に複数個の排水用凹所29が形成される。その際、穴あけ加工機により、ミッドソール23の上面から、接着剤層30よりわずかに下方の位置まで穴あけ加工(トムソン加工等)がなされる。この加工により、平面視円形の範囲で、ミッドソール層と、通水を阻害する接着剤層30とが切除される。この加工により、排水用凹所29の底部29aにアウトソール25のフェルト層が露出する。アウトソール25と一体化され、且つ、排水用凹所29が形成されたミッドソール23が、芯板27及びスペーサ28とともにアッパー22に固着される。
【0036】
第二の方法は、まず、芯板27、スペーサ28及びミッドソール23に、排水用凹所29となる複数個の貫通孔が形成される。ついで、別体であるアウトソール25の上面に接着剤が塗布される。接着剤の塗布の前に、アウトソール25の上面における、上記ミッドソール23の貫通孔に対応する位置及び範囲に、マスキングが施される。これは、排水用凹所29の底部29aとなるアウトソール25の上面を、通水を阻害する接着剤層が覆うことを防止するためである。マスクが除去された後、ミッドソール23の下面にアウトソール25が押圧されて接着される。このようにして、ミッドソール23に排水用凹所29が形成される。排水用凹所29が形成され、アウトソール25と一体化されたミッドソール23が、芯板27及びスペーサ28とともにアッパー22に固着する。
【0037】
第一の方法は、第二の方向に較べて、マスキング及びマスクの除去という工程が不要であるため、工数が少ないという点で好ましい。さらに、第一の方法は、接着剤層の乾燥時間が短い点においても好ましい。
【0038】
以上の実施形態は、ベルトを有するシューズを例示している。しかし、本発明は、シューズに限定されず、ブーツ等にも適用可能である。
【産業上の利用可能性】
【0039】
本発明に係る釣り用履き物は、種々の釣り場において利用されうる。本発明に係る釣り用履き物は、排水効果が良好であるため、特に、履き物の内部に水が入る可能性の高い釣りに便利である。
【符号の説明】
【0040】
1、21・・・履き物
2、22・・・アッパー
3、23・・・ミッドソール
4・・・面ファスナー
5、25・・・アウトソール
6、26・・・インソール
7・・・本体
8・・・ベロ
9・・・防砂フード
10・・・ガード
11・・・ベルト
12・・・リブ
13・・・フック面
14・・・ループ面
15・・・貫通孔
16・・・隙間
17・・・接地面
18・・・ベース
19・・・側壁
20・・・貫通孔
27・・・芯板
28・・・スペーサ
29・・・排水用凹所
【技術分野】
【0001】
本発明は、釣り人に着用されるブーツ、シューズ等の釣り用履き物に関する。
【背景技術】
【0002】
釣り用履き物は、アッパー及びアウトソールを備えている。アウトソールは、アッパーの底に設けられている。アウトソールは、その滑り止め効果を期待して、典型的には、ゴム、フェルト等から形成されている。ゴムからなるアウトソールの、岩等の地面との摩擦係数は大きい。このアウトソールは、グリップ性に優れる。このアウトソールにより、ブーツのスリップが防止される。
【0003】
フェルトからなるアウトソールは、変形能に優れている。このアウトソールは、凹凸のある地面に追従しやすい。フェルトは、吸水性にも優れる。フェルトは、アウトソールと地面との間に水膜を生じさせない。フェルトからなるアウトソールは、滑止性能に優れる。フェルトからなるアウトソールが、特開2006−296624公報及び特開2010−69184公報に開示されている。ゴムからなるアウトソール、及び、フェルトからなるアウトソールが交換可能な釣り用履き物が特開平6−253902号公報に開示されている。
【先行技術文献】
【特許文献】
【0004】
【特許文献1】特開2006−296624公報
【特許文献2】特開2010−69184公報
【特許文献3】特開平6−253902号公報
【発明の概要】
【発明が解決しようとする課題】
【0005】
これらの履き物は、渓流釣り、海釣り等に使用される。釣り人は、ターゲットである魚を求めて釣り場を移動する。釣り人は、これらの履き物を着用した状態で水中に入る場合がある。この場合、履き物の内部に水が侵入して滞留する。海釣りでは、波等の大量の水飛沫がかかる場合がある。このときにも、履き物の内部に海水が侵入する。雨天時の釣りでは、雨水が履き物の内部に侵入する。内部に水が滞留した履き物は、釣り人とって履き心地が悪い。内部に水が滞留すると、履き物の重量が増加する。このような履き物を着用している釣り人は歩きにくい。このような履き物は、その使用後においても乾燥に長時間を要する。
【0006】
履き物内部の水の排出のために、履き物の底を内外に貫通する排水口を形成することが考えられる。底に貫通孔が形成されると、この貫通孔から、履き物の内部に砂、小石、木片等が侵入するおそれがある。
【0007】
本発明は、かかる現状に鑑みてなされたものであり、その目的は、一旦内部に水が侵入しても、効果的に排水することのできる釣り用履き物を提供することである。
【課題を解決するための手段】
【0008】
本発明に係る釣り用履き物は、
アッパーと、
ミッドソールと、
このミッドソールの下方に配置されたアウトソールと、
上記ミッドソールとアウトソールとの対向する面それぞれに装着された、相互に着脱可能な面ファスナーとを備えており、
上記ミッドソールと、このミッドソールに装着された面ファスナーとに、排水用の貫通孔が形成されている。
【0009】
かかる履き物によれば、その内部に侵入した水は、上記ミッドソールの貫通孔を通ってアウトソールの上面に至る。この水は、相互に接合した面ファスナーのフックとループとが形成する隙間を通って外部に流れ出る。
【0010】
好ましくは、上記アウトソールが、フェルト及びゴムのいずれか一方から形成されている。
【0011】
本発明に係る他の釣り用履き物は、
アッパーと、
ミッドソールと、
このミッドソールの下方に配置されたアウトソールとを備えており、
上記ミッドソールに排水用の貫通孔が形成されており、上記アウトソールがフェルトから形成されている。
【0012】
かかる履き物によれば、その内部に侵入した水は、上記ミッドソールの貫通孔を通ってアウトソールの上面に至る。この水は、フェルトから形成されたアウトソール内部を通って外部に流れ出る。
【0013】
好ましくは、上記ミッドソールの上方にインソールが配置されており、このインソールにおける、上記ミッドソールの貫通孔に対応する位置に、排水用の貫通孔が形成されている。
【発明の効果】
【0014】
本発明に係る釣り用履き物では、その面ファスナーのフックとループとが形成する隙間、及び、アウトソールを形成するフェルト自体が排水路を構成しうる。その結果、この履き物の内部に水が一旦侵入しても、効果的に排水されうる。
【図面の簡単な説明】
【0015】
【図1】図1は、本発明の一実施形態に係る釣り用履き物のアウトサイドを示す側面図である。
【図2】図2は、図1の履き物のソール部を示す断面図である。
【図3】図3は、図1の履き物のミッドソールの下面の面ファスナー部分を示す底面図である。
【図4】図4(a)は、図2の履き物の面ファスナが接合している状態を示す、図2のIV部の拡大断面図であり、図4(b)は、図2の履き物の面ファスナが離間している状態を示す断面図である。
【図5】図5は、本発明の他の実施形態に係る釣り用履き物のソール部を示す断面図である。
【図6】図6は、図5のVI部の拡大断面図である。
【発明を実施するための最良の形態】
【0016】
以下、適宜図面が参照されつつ、好ましい実施形態に基づいて本発明が詳細に説明される。
【0017】
図1は、本発明の一実施形態に係る釣り用履き物1のアウトサイドを示す側面図であり、図2はそのソール部の断面図である。この履き物1は、アッパー2、ミッドソール3、面ファスナー4、アウトソール5及びインソール6を備えている。上記面ファスナー4は、ミッドソール3とアウトソール5とを着脱可能に接合する。
【0018】
アッパー2は、本体7、ベロ8、防砂用のフード9、ガード10及びベルト(紐でもよい)11を備えている。本体7は布製である。典型的には、本体7にメッシュ状の布が用いられる。本体7は合成樹脂又はゴムから形成されてもよい。ベロ8は本体7と同様の材料からなる。ベロ8がスポンジを含んでもよい。
【0019】
ミッドソール3はゴム又は合成樹脂を基材とする。典型的な基材は、エチレン−酢酸ビニル共重合体(EVA)である。ミッドソール3は、アッパー2の底に取り付けられている。この取付は、接着剤によって達成される。接着剤の基材ポリマーとしては、ポリウレタン、ポリクロロプレン及びアクリロニトリル−ブタジエン共重合体が例示される。ポリウレタンが好ましい。ミッドソール3の外縁には、リブ12が形成されている。リブ12は、ミッドソール3の下面より下向きに垂下している。
【0020】
面ファスナー4はフック面13とループ面14とを備えている。フック面13は、接着剤によってミッドソール3の下面に接着されている。ループ面14は、接着剤によってアウトソール5の上面に接着されている。フック面13がアウトソール5に接着され、ループ面14がミッドソール3に接着されてもよい。典型的な面ファスナー4は、ベルクロ社のマジックテープ(登録商標)である。リブ12は、面ファスナー4よりも下方にまで延在している。
【0021】
図2に図3も併せて参照すれば明らかなように、ミッドソール3、及び、このミッドソール3に一体化された面ファスナー4のフック面13には、排水用に複数個の貫通孔15が形成されている。貫通孔15はミッドソール3及びフック面13を貫通している。履き物1のミッドソール3より上方の内部空間は、面ファスナー4のフック面13とループ面14との接合部に連通している。後述するように、フック面13とループ面14との接合部は、必然的に、外部に通じる隙間16となる。
【0022】
上記貫通孔15は円形を呈しているが、貫通孔の形状は円形に限定されない。楕円形、多角形等であってもよい。貫通孔15の個数も限定されない。貫通孔15は、排水効果の観点から、ミッドソール3の上面のうちの低い位置に形成されるのが好ましい。例えば、着用者の足のボールガースに対応する部分、踵に対応する部分等である。「ボールガース(ballgirth)」とは、人の足の親指の付け根と小指の付け根とを結ぶ、幅が最も大きい部分である。
【0023】
アウトソール5は、面ファスナー4によってミッドソール3に着脱可能に接合される。アウトソール5は交換可能である。図2に示されるように、アウトソール5の周縁の上部は、リブ12に囲まれている。従って、面ファスナー4の部分もリブ12に囲まれている。このリブ12により、アウトソール5のミッドソール3からの意図せぬ離脱が防止される。
【0024】
図4に示されるように、面ファスナー4のフック面13は、基材となるシート13aの面に、多数の微細なフック片13bが突設されたものである。上記ループ面14は、基材となるシート14aの面に、多数の微細なループ14bが突設されたものである。基材シート13a、14aは、アウトソール5の安定した接合の観点から、硬質であるのが好ましい。多数のフック片13bと多数のループ14bとが係合し合って、フック面13とループ面14と接合する。従って、多数のフック片13bと多数のループ14bとが存在する両シート13a、14aの間は隙間16となる。
【0025】
前述のとおり、この隙間16はミッドソール3の貫通孔15と連通している。その結果、履き物1の内部に侵入した水は、貫通孔15及び隙間16を通って外部に排水される。この履き物1を着用した釣り人が陸地を歩くことにより、履き物1の内部の圧力上昇、及び、足による直接的な押出により、上記排水が加速される。貫通孔15のみならず、この隙間16も排水路を構成する。使用後の履き物1の乾燥にも長時間を要しない。
【0026】
アウトソール5は接地面17を有する。地面との擦動によって接地面17が摩耗した場合、アウトソール5がミッドソール3から剥がされる。そして、新たなアウトソール5が面ファスナー4によって接合される。図示されていないが、接地面17は凹凸模様を備えている。アウトソール5は、ゴム組成物が架橋されることで得られる。ゴム組成物の基材ゴムとしては、ブチルゴム、天然ゴム、ブタジエンゴム、スチレン−ブタジエンゴム及びアクリロニトリル−ブタジエンゴムが例示される。アウトソール5はフェルトから形成されてもよい。
【0027】
アウトソール5がフェルトから形成されている場合には、アウトソール5に接着されているループ面14に排水用の開口部が形成されるのが好ましい。この開口部は、上記貫通孔15に対応する位置に形成される。また、フェルトは通水性を有している。その結果、履き物1の内部に侵入した水は、貫通孔15、上記開口部及びフェルト内部を通っても、外部に排水されうる。貫通孔15及び上記隙間16のみならず、このフェルト層の内部も排水路を構成する。
【0028】
インソール6は、板状のベース18と、このベース18の周縁においてこのベース18から起立する側壁19とを有している。ベース18は、ミッドソール3の上面に載置されている。インソール6は三次元形状を有する。このインソール6は、「カップインソール」と称されている。インソール6は平板状であってもよい。インソール6はポリマー発泡体である。この発泡体の典型的な基材ポリマーは、エチレン−酢酸ビニル共重合体(EVA)である。メッシュ状のインソール6が用いられてもよい。
【0029】
インソール6が上記発泡体のように通水性を有しないものである場合、このインソール6にも排水用の貫通孔20が形成されるのが好ましい。この貫通孔20は、上記貫通孔15に対応する位置に形成される。その結果、履き物1の内部に侵入した水は、両貫通孔15、20を通って外部に排水される。このインソール6の貫通孔20には、これを覆うメッシュが貼着されてもよい。
【0030】
図5には、他の釣り用履き物21が示されている。この履き物21も、アッパー22、ミッドソール23、アウトソール25及びインソール26を備えている。この履き物21は面ファスナーを備えていない。アウトソール25はフェルトから形成されている。このアウトソール25は、ミッドソール23の下面に、接着剤によって直接に接着されている。このアウトソール25の取り替えはなされ得ない。上記接着剤がアウトソール25の上面からフェルト層にわずかにしみこんで接着剤層30(図6)が形成されている。
【0031】
この履き物21は、さらに、芯板27及びスペーサ28を備えている。芯板27はアッパー22の底を形成する。図5に示されるように、アッパー22の下端及びガード10の下端は折り曲げられている。この折り曲げられた下端が、芯板27とミッドソール23とによって挟まれている。スペーサ28は、芯板27の下面に貼り付けられている。スペーサ28は上記下端によって囲まれ、芯板27とミッドソール23とによって挟まれている。この履き物21の、上記以外の構成は、図1から図4に示された履き物1の構成とほぼ同一であるため、詳細な説明は省略される。
【0032】
ミッドソール23はゴム又は合成樹脂を基材とする。このミッドソール23は、厚肉の軟質層23aと、薄肉の硬質層23bとが一体に接着されたものである。ミッドソール23は、軟質層23a及び硬質層23bのいずれか一層のみであってもよい。硬質層23bがミッドソール23の下面側に配置されている。この硬質層23bの下面にアウトソール25が接着されている。このミッドソール23にはリブが形成されていないが、本発明では形成されていてもよい。
【0033】
ミッドソール23には排水用凹所29が形成されている。この排水用凹所29は、前述の履き物1における貫通孔15と同等の形状、個数、配置となっている。この排水用凹所29は、芯板27、スペーサ28及びミッドソール23を貫通している。この排水用凹所29は、ミッドソール23に一体化されたアウトソール25の部分を貫通してはいない。履き物21の内部に侵入した水は、排水用凹所29及びアウトソール25のフェルト内部を通って外部に排水される。使用後の履き物21の乾燥にも長時間を要しない。
【0034】
図6に示されるように、上記排水用凹所29の底部29aは、アウトソール25の上面よりわずかに下方に位置している。排水用凹所29の底部29aはフェルト層にある。排水用凹所29においては、ミッドソール23とアウトソール25とを接着する接着剤層30は切除されており、存在しない。排水用凹所29の底部29aに接着剤層30が存在すれば、排水が困難となるからである。図6ではインソール6の図示が省略されている。
【0035】
ミッドソール23に上記排水用凹所29を形成する方法は以下のとおりである。第一の方法は、まず、ミッドソール23の下面及びアウトソール25の上面の少なくとも一方に接着剤が塗布される。ミッドソール23の下面にアウトソール25が押圧されて接着される。ここで、この接着面に接着剤層30が形成される。芯板27とスペーサ28とには、予め排水用凹所29に対応する位置に貫通孔が形成されている。ついで、ミッドソール23に複数個の排水用凹所29が形成される。その際、穴あけ加工機により、ミッドソール23の上面から、接着剤層30よりわずかに下方の位置まで穴あけ加工(トムソン加工等)がなされる。この加工により、平面視円形の範囲で、ミッドソール層と、通水を阻害する接着剤層30とが切除される。この加工により、排水用凹所29の底部29aにアウトソール25のフェルト層が露出する。アウトソール25と一体化され、且つ、排水用凹所29が形成されたミッドソール23が、芯板27及びスペーサ28とともにアッパー22に固着される。
【0036】
第二の方法は、まず、芯板27、スペーサ28及びミッドソール23に、排水用凹所29となる複数個の貫通孔が形成される。ついで、別体であるアウトソール25の上面に接着剤が塗布される。接着剤の塗布の前に、アウトソール25の上面における、上記ミッドソール23の貫通孔に対応する位置及び範囲に、マスキングが施される。これは、排水用凹所29の底部29aとなるアウトソール25の上面を、通水を阻害する接着剤層が覆うことを防止するためである。マスクが除去された後、ミッドソール23の下面にアウトソール25が押圧されて接着される。このようにして、ミッドソール23に排水用凹所29が形成される。排水用凹所29が形成され、アウトソール25と一体化されたミッドソール23が、芯板27及びスペーサ28とともにアッパー22に固着する。
【0037】
第一の方法は、第二の方向に較べて、マスキング及びマスクの除去という工程が不要であるため、工数が少ないという点で好ましい。さらに、第一の方法は、接着剤層の乾燥時間が短い点においても好ましい。
【0038】
以上の実施形態は、ベルトを有するシューズを例示している。しかし、本発明は、シューズに限定されず、ブーツ等にも適用可能である。
【産業上の利用可能性】
【0039】
本発明に係る釣り用履き物は、種々の釣り場において利用されうる。本発明に係る釣り用履き物は、排水効果が良好であるため、特に、履き物の内部に水が入る可能性の高い釣りに便利である。
【符号の説明】
【0040】
1、21・・・履き物
2、22・・・アッパー
3、23・・・ミッドソール
4・・・面ファスナー
5、25・・・アウトソール
6、26・・・インソール
7・・・本体
8・・・ベロ
9・・・防砂フード
10・・・ガード
11・・・ベルト
12・・・リブ
13・・・フック面
14・・・ループ面
15・・・貫通孔
16・・・隙間
17・・・接地面
18・・・ベース
19・・・側壁
20・・・貫通孔
27・・・芯板
28・・・スペーサ
29・・・排水用凹所
【特許請求の範囲】
【請求項1】
アッパーと、
ミッドソールと、
このミッドソールの下方に配置されたアウトソールと、
上記ミッドソールとアウトソールとの対向する面それぞれに装着された、相互に着脱可能な面ファスナーとを備えており、
上記ミッドソールと、このミッドソールに装着された面ファスナーとに、排水用の貫通孔が形成されている釣り用履き物。
【請求項2】
上記アウトソールが、フェルト及びゴムのいずれか一方から形成されている請求項1に記載の釣り用履き物。
【請求項3】
アッパーと、
ミッドソールと、
このミッドソールの下方に配置されたアウトソールとを備えており、
上記ミッドソールに排水用の貫通孔が形成されており、上記アウトソールがフェルトから形成されている釣り用履き物。
【請求項4】
上記ミッドソールの上方にインソールが配置されており、このインソールにおける、上記ミッドソールの貫通孔に対応する位置に、排水用の貫通孔が形成されている請求項1から3のいずれかに記載の履き物。
【請求項1】
アッパーと、
ミッドソールと、
このミッドソールの下方に配置されたアウトソールと、
上記ミッドソールとアウトソールとの対向する面それぞれに装着された、相互に着脱可能な面ファスナーとを備えており、
上記ミッドソールと、このミッドソールに装着された面ファスナーとに、排水用の貫通孔が形成されている釣り用履き物。
【請求項2】
上記アウトソールが、フェルト及びゴムのいずれか一方から形成されている請求項1に記載の釣り用履き物。
【請求項3】
アッパーと、
ミッドソールと、
このミッドソールの下方に配置されたアウトソールとを備えており、
上記ミッドソールに排水用の貫通孔が形成されており、上記アウトソールがフェルトから形成されている釣り用履き物。
【請求項4】
上記ミッドソールの上方にインソールが配置されており、このインソールにおける、上記ミッドソールの貫通孔に対応する位置に、排水用の貫通孔が形成されている請求項1から3のいずれかに記載の履き物。
【図1】


【図2】


【図3】


【図4】


【図5】


【図6】




【図2】


【図3】


【図4】


【図5】


【図6】


【公開番号】特開2013−52070(P2013−52070A)
【公開日】平成25年3月21日(2013.3.21)
【国際特許分類】
【出願番号】特願2011−191354(P2011−191354)
【出願日】平成23年9月2日(2011.9.2)
【出願人】(000002439)株式会社シマノ (1,038)
【Fターム(参考)】
【公開日】平成25年3月21日(2013.3.21)
【国際特許分類】
【出願日】平成23年9月2日(2011.9.2)
【出願人】(000002439)株式会社シマノ (1,038)
【Fターム(参考)】
[ Back to top ]

