靴、運動靴
本発明は、靴、特に運動靴に関し、靴甲部(1)及び靴底(2)を有し、靴底(2)には、少なくとも1つのアクチュエータ(3)が配置され、これにより、靴着用者の足の接触面(4)の領域が、地面に接する靴底(2)の接触面(5)の位置に対して、少なくとも、靴底(2)の定義された長さ範囲(BL)及び/または幅範囲(BB)で、接触面(4)の幾何学的形状に関して作用を与えることが可能である。ほとんどエネルギーを使用することなく、アクチュエータが必要とする作動動作を実施するために、アクチュエータ(3)は、着用者の足を支持する支持要素(6)を含み、支持要素は、底部(7)に対して軸(A)の周方向に枢動可能に配置され、容量可変の少なくとも2つの油圧チャンバ(8,9)が、支持要素(6)と底部(7)との間の軸(A)の各側に配置され、実質的に非圧縮性の媒体で完全に満たされ、少なくとも2つの油圧チャンバ(8,9)が切替可能な弁(11)が配置される導管(10)によって流体的に互いに接続される。
【発明の詳細な説明】
【技術分野】
【0001】
本発明は、靴甲部及び靴底を有し、靴底には、少なくとも1つのアクチュエータが配置され、これにより、靴着用者の足の接触面の領域が、地面に接する靴底の接触面の位置に対して、少なくとも、靴底の定義された長さ範囲及び/または幅範囲で、接触面の幾何学的形状に関して作用を与えることが可能である靴、特に運動靴に関する。
【背景技術】
【0002】
この種の靴は、例えば特許文献1で知られている。特許文献1は、運動靴にシステムを備えていて、靴の回内運動及び回外運動それぞれの挙動に能動的に作用を与えることができる。
【0003】
回内運動は、足首関節軸の周方向の足の回転であり、これにより、足の外縁部が上がり、足の内縁部が下がる。また、回内運動は内転または内部傾斜と呼ばれる。通常の回内運動は、足が地面に接触する際の自然ダンピング作用及び自然内側運動である。
しかし、足の縁部は、いわゆる過剰回内運動時にきわめて強く内側に曲がるため、靭帯、腱及び関節に圧力が加わる。この過剰回内運動には、例えば、足の位置異常、体重過多または極度の疲労などのさまざまな理由がある。また、ランニング初心者の場合は、足の支持器がまだ十分に鍛えられていないことから、過剰回内運動は不用意に起こる。そこで、靴の内側領域には、きわめて強い摩耗が見られる。
【0004】
回内運動に逆らって行われる運動(回外運動)は、ランニング時にはそれほど頻繁に起こらない。回外運動時では、力は反対方向に作用する。これは、ランニングシューズが側部領域(その結果外側)での摩耗がさらに大きくなる場合に、頻繁に見られる。
【0005】
したがって、靴底に一体化される公知の回内運動フットホールドを超える回内運動の能動作用を及ぼすことが、現代の運動靴には意図されていて、特許文献1に記載されているようなシステムによって可能となる。
【0006】
特許文献1によるそのような作動システムは、着用者の足が置かれる靴底の接触面が、地面に接する靴底の接触面に対して変化するように、縦方向の作動要素の高さを変えることができる。作動要素が靴底の縦軸から横にずれているため、足の接触面を傾けることができ、所望の回内運動及び回外運動の挙動がそれぞれ得られるように制御される。
【0007】
作動要素を効果的な垂直高さに調整するために、作動要素には、エネルギー源(バッテリー)によってエネルギーが供給され、そのエネルギー源は靴に収容される。すなわち、作動要素にはアクチュエータがあり、これにより調整が可能となる。また、エネルギー供給は、制御装置及び閉ループ制御装置それぞれに、センサによって検出された信号を、作動要素のためにこれらの装置それぞれの作動信号に変換するエネルギーを供給するのに必要である。
【0008】
これに関して、重量を減らすために可能な限り小型のエネルギー源、つまりバッテリーを設計することが望まれる。
【先行技術文献】
【特許文献】
【0009】
【特許文献1】ドイツ実用新案第202007018163号
【発明の概要】
【発明が解決しようとする課題】
【0010】
そこで、本発明は、少量のエネルギー需要で一般的なアクチュエータが必要とする作動動作を実施することが可能になるものの、回内運動及び回外運動の挙動のそれぞれに効果的に作用を与えることを確実にする上述の靴、特に運動靴を提供することを課題とする。
【課題を解決するための手段】
【0011】
本発明は、アクチュエータに、着用者の足を支持する支持要素を含み、支持要素を、底部に対して軸の周方向に枢動可能に配置し、容量可変の少なくとも2つの油圧チャンバを、支持要素と底部との間の軸の各側に配置して、実質的に非圧縮性の媒体で完全に満たし、少なくとも2つの油圧チャンバを、切替可能な弁の配置された導管によって流体的に互いに接続することを特徴とする。
【0012】
アクチュエータは、その軸が靴の縦軸と一致するように靴に配置されるのが好ましい。しかし、これは必須でない。例えば、この軸は、靴の縦軸の傍らで平行に配置することもできる。
【0013】
アクチュエータは靴底の足の後側領域に配置されるのが好ましい。アクチュエータは、靴の縦軸方向において靴底の伸張部の最後尾から3分の1に配置されるのが有利である。靴の幅方向にアクチュエータが伸張することに関して、アクチュエータは、靴底の幅の少なくとも80%に沿って伸張するのが好ましいが、さらに小さい値も実現可能である。
【0014】
支持要素及び底部は、パネルとして形成されるのが好ましい。しかし、これは必須でない。さらに、棒材を、底部と、傾斜接合として作用する軸方向に伸張する支持要素との間に配置して備えることができる。
【0015】
油圧チャンバは、軸から離れて軸方向に伸張する細長いチャンバ部分を含むのが好ましい。油圧チャンバは油圧油でほぼ満たされるが、それぞれには、非圧縮性流体が適している。
【0016】
アクチュエータには、エネルギー源によって提供される作動要素がない。アクチュエータの調節は、靴着用者の体重による着用者の足からアクチュエータにもたらされるエネルギーによってのみ実施される。
【0017】
靴は、靴着用者の足の回内運動に自動的に作用を与えるための少なくとも1つのアクチュエータを含むシステムをさらに有するのが好ましい。主に、回内運動に自動的に作用を与えるためのこのシステムは、回内運動、エネルギー源ならびに制御装置及び閉ループ制御装置それぞれに関連するパラメータの検出に適したセンサを含む。弁は、制御装置及び閉ループ制御装置それぞれによって作動可能である。
【0018】
弁は比例弁であるのが好ましく、他の種類の弁も可能である。さらに、弁は二方弁であってよく、他の種類の方向弁もありうる。
【0019】
本発明によって、靴底の幾何学的形状に効果的に作用することが可能になり、これにより、特に、靴の回内運動の挙動に作用を与えることができる。このため、特に、望ましい回内運動の挙動が得られるように、地面に接する靴の接触面に対する靴底の足の接触面の角度位置が変わる。したがって、着用者の足の靴底の接触面は、回内運動が望ましい角度を超えないように、地面に傾けられる。弁を作動させるために少量ではあるが必要なエネルギーを無視すれば、アクチュエータにエネルギーを入力することなく、これが可能になる利点がある。
【0020】
したがって、制御装置及び閉ループ制御装置それぞれに、弁の作動にのみ必要とされるきわめて小さいエネルギー源(バッテリー)によって、回内運動の挙動に効果的に作用を与えることができる。むしろ、アクチュエータの調整のためのエネルギーは、靴着用者によって通常のランニング時にアクチュエータに供給されるエネルギーから得られる。
【0021】
ばね及びダンピングの挙動は、油圧チャンバの非圧縮性流体を使用することによって影響を受けず、また、いずれにしても意図されない。単に、アクチュエータの調整は、本発明によって実施され、アクチュエータ自体は、実質的に堅く、靴の靴底の弾力性及びダンピング性に寄与しない。
【図面の簡単な説明】
【0022】
【図1】運動靴の斜視図
【図2】運動靴の靴底に収容されるアクチュエータの斜視図
【図3】靴の甲領域に配置されるパネル型の支持要素が除去されたアクチュエータの上面図
【図4a】底部に対して支持要素が枢動していないアクチュエータを傾斜軸A方向から見た正面概略図
【図4b】底部対して第1の枢動方向に支持要素が枢動する図4aによるアクチュエータの正面図
【図4c】底部対して第2の枢動方向に支持要素が枢動する図4aによるアクチュエータの正面図
【発明を実施するための形態】
【0023】
図面に、本発明の一実施形態を示す。
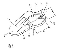
図1は、公知の方法で靴甲部1及び靴底2から実質的に成る運動靴を示す。靴には、縦軸Lがある。
【0024】
靴は、靴及び着用者の足それぞれの回内運動の挙動に作用を与えることが可能なシステムを備えている。このシステムは、センサ12を実質的に含み、これにより、回内運動の挙動、例えば、定義した軸の周方向の靴の回転速度または回転角度に関連するパラメータを検出することができる。
【0025】
さらに、このシステムは、制御装置及び閉ループ制御装置14それぞれを含み、センサ12によって検出された測定値を受信する。また、このシステムは、制御装置及び閉ループ制御装置14それぞれによって制御されるアクチュエータ3を含む。
【0026】
以下に、アクチュエータ3に関してさらに詳細に説明する。調整動作を実施しうるアクチュエータ自体のアクチュエータ要素(例えば、モータ)が存在しないことが重要である。しかし、制御装置及び閉ループ制御装置14それぞれへのエネルギー供給のために、バッテリーであるエネルギー源13が備えられる。エネルギー源は、ほんの僅かのエネルギーを供給すればいいため、きわめて小さく設計することができる。また、制御装置及び閉ループ制御装置14それぞれは、図1に示すように別の位置に配置することができる。
【0027】
アクチュエータ3は、靴底の足の後側領域または踵領域に配置される。本実施例では、アクチュエータは縦軸L方向において測定された靴底2の最後尾から約3分の1に沿って伸張する。アクチュエータ3の可能な寸法は、長さ範囲をBL、幅範囲をBBで示す。
【0028】
アクチュエータ3が作動時、ただし、ランニング時及び地面との接触時に、靴着用者の足の接触面4は、地面に接する靴底2の接触面5に対して軸Aの周方向に傾く。足の接触面4は、靴着用者の足が置かれる靴底の表面である。
【0029】
アクチュエータ3の傾斜軸または枢動軸Aは、靴の縦軸Lと同一である。しかし、これは必須でない。
【0030】
図2及び3に、アクチュエータ3の設計の詳細を示す。アクチュエータ3には、下側領域に配置される底部7があり、底部7は、靴底2に固定でき、例えば、靴底2のそれぞれの凹部に接着することができる。さらに、アクチュエータ2には、靴の甲領域に配置される支持要素6があり、支持要素6は、着用者の足が置かれ、図示していないインソールによって間接的に分離され、ミッドソールに必要な箇所である。
【0031】
図2及び3の概略図に示すように、2つの油圧チャンバ8及び9が底部7と支持要素6との間に配置される。油圧チャンバ8、9は、例えば、油圧油または別の実質的に非圧縮性の液体で満たされる。底部7及び支持要素6は、実質的に堅い材料(例えば、ポリアミドのような塑性材料または軽金属)から成ることから、アクチュエータ3全体は、実質的に堅い非弾性構造を形成する。すなわち、アクチュエータには弾性またはダンピング性がないことが望ましい。
【0032】
また、棒材15は軸Aに沿って伸張することができ、図に示していないが、底部7に配置され、支持要素6のための軸受を形成する。
【0033】
油圧チャンバ8、9は、軸Aから等しい距離のところを通る軸Aの方向に伸張する2つのチャンバ部8’及び9’を含む(図3)。
【0034】
2つの油圧チャンバ8、9は、導管10によって互いに接続される。弁11は、導管10に配置される。弁は、比例弁であるのが好ましい。
【0035】
弁11は、制御装置及び閉ループ制御装置14それぞれから動作信号が供給されているが、詳細を図に示していない。
【0036】
制御装置及び閉ループ制御装置14それぞれは、センサ12によって検出された測定値に応じて、靴及び靴着用者の足それぞれの回内運動の挙動に作用を与えるように、アクチュエータ3に作用するかどうか、さらには、どのように作用を与えるかを判断する。制御装置及び閉ループ制御装置14それぞれの各作動信号による可能な動作モードは、図4a〜4cに示すが、誇張して表している。
【0037】
図4aでは、アクチュエータ3の作用がないことを示す。したがって、パネル型の支持要素6は、同じくパネル型の底部7に平行に配置される。その結果、2つの油圧チャンバ8、9は、同量の油圧油で満たされる。これは、弁11が閉じた状態にあるため、変化しない。しかし、これに関連して、2つのチャンバ8、9は同じ大きさであることが必須でない。主に、チャンバの高さに関係し、チャンバ8、9の容量は異なりうる。最終的には、チャンバ8、9の高さ及び容量は、靴底の幾何学的形状から得られる。
【0038】
図4aでは、棒材15は、底部7と、軸Aの方向に伸張する支持部6との間に配置でき、支持要素6のための軸受を形成することを破線で示す。
【0039】
しかし、着用者の足が作用して回内運動が変化する場合、油圧油が油圧チャンバ8、9の一方から他方に流れることができるように、弁11は、制御装置及び閉ループ制御装置14それぞれによって開かれる。
【0040】
図4bに示すように、支持要素6は底部7に対して傾き、すなわち、軸Aの周方向に枢動したため、油圧チャンバ9から油圧チャンバ8に流れが生じる。
【0041】
この枢動は、着用者の足が支持要素6を押した際の適切な時点で弁11が開くことによってのみ実施される。制御装置及び閉ループ制御装置14それぞれは、この時点を判断することが可能であり、これは、センサ12からそれぞれの信号を受信し、これにより、弁11が開いた後に、油圧チャンバ9から油圧チャンバ8への油圧油の望ましい流れが生じるように、支持要素6に作用する時点を「知る」ことによる。このような流れは、接地段階のいずれの場合でも生じる。
【0042】
図4cに、この反対の場合を示す。ここで、油圧油は、上に説明する方法に類似して油圧チャンバ8から油圧チャンバ9に流動することができた。
【0043】
したがって、アクチュエータ3によって、接触面5に対する着用者の足の靴底の接触面4の角度位置を変えることができる。このため、特に、回内運動の挙動に明確に作用を与えることができる。
【符号の説明】
【0044】
1 靴甲部
2 靴底
3 アクチュエータ
4 足の接触面
5 地面に接する接触面
6 支持要素
7 底部
8 油圧チャンバ
8’ チャンバ部分
9 油圧チャンバ
9’ チャンバ部分
10 導管
11 弁
12 センサ
13 エネルギー源(バッテリー)
14 制御装置及び閉ループ制御装置
15 棒材
L 縦軸
A 軸
BL 長さ範囲
BB 幅範囲
【技術分野】
【0001】
本発明は、靴甲部及び靴底を有し、靴底には、少なくとも1つのアクチュエータが配置され、これにより、靴着用者の足の接触面の領域が、地面に接する靴底の接触面の位置に対して、少なくとも、靴底の定義された長さ範囲及び/または幅範囲で、接触面の幾何学的形状に関して作用を与えることが可能である靴、特に運動靴に関する。
【背景技術】
【0002】
この種の靴は、例えば特許文献1で知られている。特許文献1は、運動靴にシステムを備えていて、靴の回内運動及び回外運動それぞれの挙動に能動的に作用を与えることができる。
【0003】
回内運動は、足首関節軸の周方向の足の回転であり、これにより、足の外縁部が上がり、足の内縁部が下がる。また、回内運動は内転または内部傾斜と呼ばれる。通常の回内運動は、足が地面に接触する際の自然ダンピング作用及び自然内側運動である。
しかし、足の縁部は、いわゆる過剰回内運動時にきわめて強く内側に曲がるため、靭帯、腱及び関節に圧力が加わる。この過剰回内運動には、例えば、足の位置異常、体重過多または極度の疲労などのさまざまな理由がある。また、ランニング初心者の場合は、足の支持器がまだ十分に鍛えられていないことから、過剰回内運動は不用意に起こる。そこで、靴の内側領域には、きわめて強い摩耗が見られる。
【0004】
回内運動に逆らって行われる運動(回外運動)は、ランニング時にはそれほど頻繁に起こらない。回外運動時では、力は反対方向に作用する。これは、ランニングシューズが側部領域(その結果外側)での摩耗がさらに大きくなる場合に、頻繁に見られる。
【0005】
したがって、靴底に一体化される公知の回内運動フットホールドを超える回内運動の能動作用を及ぼすことが、現代の運動靴には意図されていて、特許文献1に記載されているようなシステムによって可能となる。
【0006】
特許文献1によるそのような作動システムは、着用者の足が置かれる靴底の接触面が、地面に接する靴底の接触面に対して変化するように、縦方向の作動要素の高さを変えることができる。作動要素が靴底の縦軸から横にずれているため、足の接触面を傾けることができ、所望の回内運動及び回外運動の挙動がそれぞれ得られるように制御される。
【0007】
作動要素を効果的な垂直高さに調整するために、作動要素には、エネルギー源(バッテリー)によってエネルギーが供給され、そのエネルギー源は靴に収容される。すなわち、作動要素にはアクチュエータがあり、これにより調整が可能となる。また、エネルギー供給は、制御装置及び閉ループ制御装置それぞれに、センサによって検出された信号を、作動要素のためにこれらの装置それぞれの作動信号に変換するエネルギーを供給するのに必要である。
【0008】
これに関して、重量を減らすために可能な限り小型のエネルギー源、つまりバッテリーを設計することが望まれる。
【先行技術文献】
【特許文献】
【0009】
【特許文献1】ドイツ実用新案第202007018163号
【発明の概要】
【発明が解決しようとする課題】
【0010】
そこで、本発明は、少量のエネルギー需要で一般的なアクチュエータが必要とする作動動作を実施することが可能になるものの、回内運動及び回外運動の挙動のそれぞれに効果的に作用を与えることを確実にする上述の靴、特に運動靴を提供することを課題とする。
【課題を解決するための手段】
【0011】
本発明は、アクチュエータに、着用者の足を支持する支持要素を含み、支持要素を、底部に対して軸の周方向に枢動可能に配置し、容量可変の少なくとも2つの油圧チャンバを、支持要素と底部との間の軸の各側に配置して、実質的に非圧縮性の媒体で完全に満たし、少なくとも2つの油圧チャンバを、切替可能な弁の配置された導管によって流体的に互いに接続することを特徴とする。
【0012】
アクチュエータは、その軸が靴の縦軸と一致するように靴に配置されるのが好ましい。しかし、これは必須でない。例えば、この軸は、靴の縦軸の傍らで平行に配置することもできる。
【0013】
アクチュエータは靴底の足の後側領域に配置されるのが好ましい。アクチュエータは、靴の縦軸方向において靴底の伸張部の最後尾から3分の1に配置されるのが有利である。靴の幅方向にアクチュエータが伸張することに関して、アクチュエータは、靴底の幅の少なくとも80%に沿って伸張するのが好ましいが、さらに小さい値も実現可能である。
【0014】
支持要素及び底部は、パネルとして形成されるのが好ましい。しかし、これは必須でない。さらに、棒材を、底部と、傾斜接合として作用する軸方向に伸張する支持要素との間に配置して備えることができる。
【0015】
油圧チャンバは、軸から離れて軸方向に伸張する細長いチャンバ部分を含むのが好ましい。油圧チャンバは油圧油でほぼ満たされるが、それぞれには、非圧縮性流体が適している。
【0016】
アクチュエータには、エネルギー源によって提供される作動要素がない。アクチュエータの調節は、靴着用者の体重による着用者の足からアクチュエータにもたらされるエネルギーによってのみ実施される。
【0017】
靴は、靴着用者の足の回内運動に自動的に作用を与えるための少なくとも1つのアクチュエータを含むシステムをさらに有するのが好ましい。主に、回内運動に自動的に作用を与えるためのこのシステムは、回内運動、エネルギー源ならびに制御装置及び閉ループ制御装置それぞれに関連するパラメータの検出に適したセンサを含む。弁は、制御装置及び閉ループ制御装置それぞれによって作動可能である。
【0018】
弁は比例弁であるのが好ましく、他の種類の弁も可能である。さらに、弁は二方弁であってよく、他の種類の方向弁もありうる。
【0019】
本発明によって、靴底の幾何学的形状に効果的に作用することが可能になり、これにより、特に、靴の回内運動の挙動に作用を与えることができる。このため、特に、望ましい回内運動の挙動が得られるように、地面に接する靴の接触面に対する靴底の足の接触面の角度位置が変わる。したがって、着用者の足の靴底の接触面は、回内運動が望ましい角度を超えないように、地面に傾けられる。弁を作動させるために少量ではあるが必要なエネルギーを無視すれば、アクチュエータにエネルギーを入力することなく、これが可能になる利点がある。
【0020】
したがって、制御装置及び閉ループ制御装置それぞれに、弁の作動にのみ必要とされるきわめて小さいエネルギー源(バッテリー)によって、回内運動の挙動に効果的に作用を与えることができる。むしろ、アクチュエータの調整のためのエネルギーは、靴着用者によって通常のランニング時にアクチュエータに供給されるエネルギーから得られる。
【0021】
ばね及びダンピングの挙動は、油圧チャンバの非圧縮性流体を使用することによって影響を受けず、また、いずれにしても意図されない。単に、アクチュエータの調整は、本発明によって実施され、アクチュエータ自体は、実質的に堅く、靴の靴底の弾力性及びダンピング性に寄与しない。
【図面の簡単な説明】
【0022】
【図1】運動靴の斜視図
【図2】運動靴の靴底に収容されるアクチュエータの斜視図
【図3】靴の甲領域に配置されるパネル型の支持要素が除去されたアクチュエータの上面図
【図4a】底部に対して支持要素が枢動していないアクチュエータを傾斜軸A方向から見た正面概略図
【図4b】底部対して第1の枢動方向に支持要素が枢動する図4aによるアクチュエータの正面図
【図4c】底部対して第2の枢動方向に支持要素が枢動する図4aによるアクチュエータの正面図
【発明を実施するための形態】
【0023】
図面に、本発明の一実施形態を示す。
図1は、公知の方法で靴甲部1及び靴底2から実質的に成る運動靴を示す。靴には、縦軸Lがある。
【0024】
靴は、靴及び着用者の足それぞれの回内運動の挙動に作用を与えることが可能なシステムを備えている。このシステムは、センサ12を実質的に含み、これにより、回内運動の挙動、例えば、定義した軸の周方向の靴の回転速度または回転角度に関連するパラメータを検出することができる。
【0025】
さらに、このシステムは、制御装置及び閉ループ制御装置14それぞれを含み、センサ12によって検出された測定値を受信する。また、このシステムは、制御装置及び閉ループ制御装置14それぞれによって制御されるアクチュエータ3を含む。
【0026】
以下に、アクチュエータ3に関してさらに詳細に説明する。調整動作を実施しうるアクチュエータ自体のアクチュエータ要素(例えば、モータ)が存在しないことが重要である。しかし、制御装置及び閉ループ制御装置14それぞれへのエネルギー供給のために、バッテリーであるエネルギー源13が備えられる。エネルギー源は、ほんの僅かのエネルギーを供給すればいいため、きわめて小さく設計することができる。また、制御装置及び閉ループ制御装置14それぞれは、図1に示すように別の位置に配置することができる。
【0027】
アクチュエータ3は、靴底の足の後側領域または踵領域に配置される。本実施例では、アクチュエータは縦軸L方向において測定された靴底2の最後尾から約3分の1に沿って伸張する。アクチュエータ3の可能な寸法は、長さ範囲をBL、幅範囲をBBで示す。
【0028】
アクチュエータ3が作動時、ただし、ランニング時及び地面との接触時に、靴着用者の足の接触面4は、地面に接する靴底2の接触面5に対して軸Aの周方向に傾く。足の接触面4は、靴着用者の足が置かれる靴底の表面である。
【0029】
アクチュエータ3の傾斜軸または枢動軸Aは、靴の縦軸Lと同一である。しかし、これは必須でない。
【0030】
図2及び3に、アクチュエータ3の設計の詳細を示す。アクチュエータ3には、下側領域に配置される底部7があり、底部7は、靴底2に固定でき、例えば、靴底2のそれぞれの凹部に接着することができる。さらに、アクチュエータ2には、靴の甲領域に配置される支持要素6があり、支持要素6は、着用者の足が置かれ、図示していないインソールによって間接的に分離され、ミッドソールに必要な箇所である。
【0031】
図2及び3の概略図に示すように、2つの油圧チャンバ8及び9が底部7と支持要素6との間に配置される。油圧チャンバ8、9は、例えば、油圧油または別の実質的に非圧縮性の液体で満たされる。底部7及び支持要素6は、実質的に堅い材料(例えば、ポリアミドのような塑性材料または軽金属)から成ることから、アクチュエータ3全体は、実質的に堅い非弾性構造を形成する。すなわち、アクチュエータには弾性またはダンピング性がないことが望ましい。
【0032】
また、棒材15は軸Aに沿って伸張することができ、図に示していないが、底部7に配置され、支持要素6のための軸受を形成する。
【0033】
油圧チャンバ8、9は、軸Aから等しい距離のところを通る軸Aの方向に伸張する2つのチャンバ部8’及び9’を含む(図3)。
【0034】
2つの油圧チャンバ8、9は、導管10によって互いに接続される。弁11は、導管10に配置される。弁は、比例弁であるのが好ましい。
【0035】
弁11は、制御装置及び閉ループ制御装置14それぞれから動作信号が供給されているが、詳細を図に示していない。
【0036】
制御装置及び閉ループ制御装置14それぞれは、センサ12によって検出された測定値に応じて、靴及び靴着用者の足それぞれの回内運動の挙動に作用を与えるように、アクチュエータ3に作用するかどうか、さらには、どのように作用を与えるかを判断する。制御装置及び閉ループ制御装置14それぞれの各作動信号による可能な動作モードは、図4a〜4cに示すが、誇張して表している。
【0037】
図4aでは、アクチュエータ3の作用がないことを示す。したがって、パネル型の支持要素6は、同じくパネル型の底部7に平行に配置される。その結果、2つの油圧チャンバ8、9は、同量の油圧油で満たされる。これは、弁11が閉じた状態にあるため、変化しない。しかし、これに関連して、2つのチャンバ8、9は同じ大きさであることが必須でない。主に、チャンバの高さに関係し、チャンバ8、9の容量は異なりうる。最終的には、チャンバ8、9の高さ及び容量は、靴底の幾何学的形状から得られる。
【0038】
図4aでは、棒材15は、底部7と、軸Aの方向に伸張する支持部6との間に配置でき、支持要素6のための軸受を形成することを破線で示す。
【0039】
しかし、着用者の足が作用して回内運動が変化する場合、油圧油が油圧チャンバ8、9の一方から他方に流れることができるように、弁11は、制御装置及び閉ループ制御装置14それぞれによって開かれる。
【0040】
図4bに示すように、支持要素6は底部7に対して傾き、すなわち、軸Aの周方向に枢動したため、油圧チャンバ9から油圧チャンバ8に流れが生じる。
【0041】
この枢動は、着用者の足が支持要素6を押した際の適切な時点で弁11が開くことによってのみ実施される。制御装置及び閉ループ制御装置14それぞれは、この時点を判断することが可能であり、これは、センサ12からそれぞれの信号を受信し、これにより、弁11が開いた後に、油圧チャンバ9から油圧チャンバ8への油圧油の望ましい流れが生じるように、支持要素6に作用する時点を「知る」ことによる。このような流れは、接地段階のいずれの場合でも生じる。
【0042】
図4cに、この反対の場合を示す。ここで、油圧油は、上に説明する方法に類似して油圧チャンバ8から油圧チャンバ9に流動することができた。
【0043】
したがって、アクチュエータ3によって、接触面5に対する着用者の足の靴底の接触面4の角度位置を変えることができる。このため、特に、回内運動の挙動に明確に作用を与えることができる。
【符号の説明】
【0044】
1 靴甲部
2 靴底
3 アクチュエータ
4 足の接触面
5 地面に接する接触面
6 支持要素
7 底部
8 油圧チャンバ
8’ チャンバ部分
9 油圧チャンバ
9’ チャンバ部分
10 導管
11 弁
12 センサ
13 エネルギー源(バッテリー)
14 制御装置及び閉ループ制御装置
15 棒材
L 縦軸
A 軸
BL 長さ範囲
BB 幅範囲
【特許請求の範囲】
【請求項1】
靴甲部(1)及び靴底(2)を有し、靴底(2)に少なくとも1つのアクチュエータ(3)を備え、これにより、靴着用者の足の接触面(4)の領域が、地面に接する靴底(2)の接触面(5)の位置に対して、少なくとも、靴底(2)に定義された長さ範囲(BL)及び/または幅範囲(BB)で、接触面(4)の形状に関して作用することが可能な靴、特に運動靴であって、
アクチュエータ(3)が、着用者の足を支持する支持要素(6)を備え、支持要素が、底部(7)に対して軸(A)の周方向に枢動可能に配置され、容量可変の少なくとも2つの油圧チャンバ(8、9)が、支持要素(6)と底部(7)との間の軸(A)の各側に配置されて、実質的に非圧縮性の媒体で完全に満たされ、少なくとも2つの油圧チャンバ(8、9)が、切替可能な弁(11)の配置される導管(10)によって互いに接続される
ことを特徴とする靴。
【請求項2】
アクチュエータ(3)が、その軸(A)が靴の縦軸(L)と一致するように靴に配置される
請求項1に記載の靴。
【請求項3】
アクチュエータ(3)が、靴底(2)の足の後側領域に配置される
請求項1または2に記載の靴。
【請求項4】
アクチュエータ(3)が、靴の縦軸(L)の方向において靴底(2)の伸張部の最後尾から3分の1に配置される
請求項3に記載の靴。
【請求項5】
アクチュエータ(3)が、靴底(2)の幅の少なくとも80%に沿って伸張する
請求項1ないし4のいずれかに記載の靴。
【請求項6】
支持要素(6)が、パネルとして形成される
請求項1ないし5のいずれかに記載の靴。
【請求項7】
底部(7)が、パネルとして形成される
請求項1ないし6のいずれかに記載の靴。
【請求項8】
棒材(15)が、底部(7)と、傾斜接合として作用する軸(A)の方向に伸張する支持要素(6)との間に配置される
請求項1ないし7のいずれかに記載の靴。
【請求項9】
油圧チャンバ(8、9)が、軸(A)から離れて軸(A)の方向に伸張する細長いチャンバ部分(8’、9’)を備える
請求項1ないし8のいずれかに記載の靴。
【請求項10】
油圧チャンバ(8、9)が、油圧油で満たされる
請求項1ないし9のいずれかに記載の靴。
【請求項11】
アクチュエータ(3)が、エネルギー源によって提供される作動要素を有さない
請求項1ないし10のいずれかに記載の靴。
【請求項12】
靴着用者の足の回内運動に自動的に作用を与えるための少なくとも1つのアクチュエータ(3)を含むシステムをさらに有する
請求項1ないし11のいずれかに記載の靴。
【請求項13】
回内運動に自動的に作用を与えるためのシステムが、回内運動、エネルギー源(13)、制御装置及び閉ループ制御装置(14)それぞれに関連するパラメータの検出に適したセンサ(12)を備える
請求項12に記載の靴。
【請求項14】
弁(11)が、制御装置及び閉ループ制御装置(14)それぞれによって作動可能である
請求項13に記載の靴。
【請求項15】
弁(11)が、比例弁である
請求項1ないし14のいずれかに記載の靴。
【請求項16】
弁(11)が、二方弁である
請求項1ないし15のいずれかに記載の靴。
【請求項1】
靴甲部(1)及び靴底(2)を有し、靴底(2)に少なくとも1つのアクチュエータ(3)を備え、これにより、靴着用者の足の接触面(4)の領域が、地面に接する靴底(2)の接触面(5)の位置に対して、少なくとも、靴底(2)に定義された長さ範囲(BL)及び/または幅範囲(BB)で、接触面(4)の形状に関して作用することが可能な靴、特に運動靴であって、
アクチュエータ(3)が、着用者の足を支持する支持要素(6)を備え、支持要素が、底部(7)に対して軸(A)の周方向に枢動可能に配置され、容量可変の少なくとも2つの油圧チャンバ(8、9)が、支持要素(6)と底部(7)との間の軸(A)の各側に配置されて、実質的に非圧縮性の媒体で完全に満たされ、少なくとも2つの油圧チャンバ(8、9)が、切替可能な弁(11)の配置される導管(10)によって互いに接続される
ことを特徴とする靴。
【請求項2】
アクチュエータ(3)が、その軸(A)が靴の縦軸(L)と一致するように靴に配置される
請求項1に記載の靴。
【請求項3】
アクチュエータ(3)が、靴底(2)の足の後側領域に配置される
請求項1または2に記載の靴。
【請求項4】
アクチュエータ(3)が、靴の縦軸(L)の方向において靴底(2)の伸張部の最後尾から3分の1に配置される
請求項3に記載の靴。
【請求項5】
アクチュエータ(3)が、靴底(2)の幅の少なくとも80%に沿って伸張する
請求項1ないし4のいずれかに記載の靴。
【請求項6】
支持要素(6)が、パネルとして形成される
請求項1ないし5のいずれかに記載の靴。
【請求項7】
底部(7)が、パネルとして形成される
請求項1ないし6のいずれかに記載の靴。
【請求項8】
棒材(15)が、底部(7)と、傾斜接合として作用する軸(A)の方向に伸張する支持要素(6)との間に配置される
請求項1ないし7のいずれかに記載の靴。
【請求項9】
油圧チャンバ(8、9)が、軸(A)から離れて軸(A)の方向に伸張する細長いチャンバ部分(8’、9’)を備える
請求項1ないし8のいずれかに記載の靴。
【請求項10】
油圧チャンバ(8、9)が、油圧油で満たされる
請求項1ないし9のいずれかに記載の靴。
【請求項11】
アクチュエータ(3)が、エネルギー源によって提供される作動要素を有さない
請求項1ないし10のいずれかに記載の靴。
【請求項12】
靴着用者の足の回内運動に自動的に作用を与えるための少なくとも1つのアクチュエータ(3)を含むシステムをさらに有する
請求項1ないし11のいずれかに記載の靴。
【請求項13】
回内運動に自動的に作用を与えるためのシステムが、回内運動、エネルギー源(13)、制御装置及び閉ループ制御装置(14)それぞれに関連するパラメータの検出に適したセンサ(12)を備える
請求項12に記載の靴。
【請求項14】
弁(11)が、制御装置及び閉ループ制御装置(14)それぞれによって作動可能である
請求項13に記載の靴。
【請求項15】
弁(11)が、比例弁である
請求項1ないし14のいずれかに記載の靴。
【請求項16】
弁(11)が、二方弁である
請求項1ないし15のいずれかに記載の靴。
【図1】


【図2】


【図3】


【図4a】


【図4b】


【図4c】




【図2】


【図3】


【図4a】


【図4b】


【図4c】


【公表番号】特表2012−527259(P2012−527259A)
【公表日】平成24年11月8日(2012.11.8)
【国際特許分類】
【出願番号】特願2012−511168(P2012−511168)
【出願日】平成22年5月7日(2010.5.7)
【国際出願番号】PCT/EP2010/002810
【国際公開番号】WO2010/133300
【国際公開日】平成22年11月25日(2010.11.25)
【出願人】(511264353)
【氏名又は名称原語表記】PUMA SE
【住所又は居所原語表記】Puma Way 1,91074 Herzogenaurach Germany
【Fターム(参考)】
【公表日】平成24年11月8日(2012.11.8)
【国際特許分類】
【出願日】平成22年5月7日(2010.5.7)
【国際出願番号】PCT/EP2010/002810
【国際公開番号】WO2010/133300
【国際公開日】平成22年11月25日(2010.11.25)
【出願人】(511264353)

【氏名又は名称原語表記】PUMA SE
【住所又は居所原語表記】Puma Way 1,91074 Herzogenaurach Germany
【Fターム(参考)】
[ Back to top ]