赤井電機株式会社により出願された特許
1 - 4 / 4
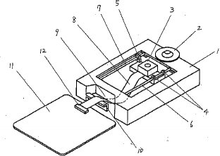
記録または再生装置のピックアップ装置
【課題】 RF基板を、ピックアップシャシのディスクにおける軸方向の幅の範囲内で前記ピックアップシャシに隣接してこのシャシの後方に配置することにより、ピックアップ装置の厚みを薄くすることができる。
【解決手段】 ピックアップシャシ1はターンテーブル2に保持されたディスクの径方向にガイドシャフト6,7に沿ってピックアップ3を移動可能に支持する。このシャシ1の後方には前記ディスクにおける軸方向の幅の範囲内でシャシ1に隣接してRF基板(プリント基板)11を配置し、このRF基板11と前記ピックアップ3とをFPC(フレキシブルプリント板)8により電気的に接続する。前記FPC8が前記ディスクに接触しないように、シャシ1に固定された開口部後壁10によりFPC8を前記ディスクの板面に近付けるように案内し、前記FPC8を前記ディスクの板面より遠ざけるように開口部前壁9により案内する。
(もっと読む)
非反転増幅回路
【目的】 2電源形オペアンプを用い、これに単電源からの電源電流を供給するようにしても、出力側をミュートすることなく、電源投入時のクリック電圧を充分に軽減できる
【構成】
非反転増幅回路
ホワイトバランス回路の色温度範囲検出方法
1 - 4 / 4
[ Back to top ]


