市光工業株式会社により出願された特許
1 - 10 / 774
車両用前照灯
【課題】従来の車両用前照灯では、理想に近いハイビーム用配光パターンを形成することが難しい。
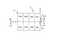
【解決手段】この発明は、半導体型光源2と、リフレクタ3と、を備える。リフレクタ3は、反射面31U〜31Dを有する。半導体型光源2は、反射面31U〜31Dの基準焦点Fもしくはその近傍に配置されている。反射面31U〜31Dは、半導体型光源2から光が放射される方向であって、半導体型光源2の中心Oもしくはその近傍を通る法線(X軸)に対して上下に分割されている。上下の反射面のうち、上側が収束型拡散反射面31U〜34Uであり、下側が発散型拡散反射面31D〜34Dである。この結果、この発明は、理想に近いハイビーム用配光パターンHPA(高光度帯SPAを含む)を形成することができる。
(もっと読む)
車両用灯具
【課題】車両に取り付けられた状態のドアミラーのハウジングカバーの前方部から側面部に延在される透光性部材(意匠帯部)を有し、その側面側の他端において光拡散照射部が形成されている車両用灯具において、光拡散照射部に導く発光素子からの光の損失を低減でき、透光性部材(意匠帯部)それ自体に意匠性をもたせ、あるいは、透光性部材(意匠帯部)を光らせる場合でも該透光性部材(意匠帯部)に導光体として機能させることなく行い得る車両用灯具を提供する。
【解決手段】板状の基板部32Aと、前記基板部32Aの一辺に沿って延在する透光性の意匠帯部31と、この意匠帯部31の一端に形成された光拡散照射部32と、前記基板部33Aに表面に形成され一端が前記光拡散照射部32に光学的に接続される導光体部33Cと、前記導光体部33Cの他端から光を入射させる発光素子34Aと、とから構成される。
(もっと読む)
車両用灯具
【課題】発光素子からの光の有効利用を図り、より広範囲の配光を得るようにした車両用灯具を提供する。
【解決手段】 少なくとも発光素子とリフレクタとを備え、車両に取り付けた場合に、前記発光素子はその光照射領域が車両下方に向くように配置され、前記リフレクタは前記発光素子に対して車両下方へ配置された車両用灯具であって、従来の第1反射面、第2反射面に、第3反射面、および第4反射面を具備させている。ここで、前記第3反射面は、前記第2反射面の車両前方側の端辺の上段に取り付けられ前記第2反射面に対して第1反射面側に屈曲された平板状をなし、前記第1反射面側の面が反射面となっている。前記第4反射面は、前記第2反射面の車両前方側の端辺の下段に取り付けられ前記第3反射面の下端辺から車両下方側へ前記第1反射面側の面が凹となる湾曲状をなし、前記第1反射面側の面が反射面となっている。
(もっと読む)
車両用エンブレム
【課題】夜間にエンブレムの周囲を発光させてその外形ラインを鮮明に表示し、該エンブレムを浮き彫り状に現出させて意匠効果を高められる車両用エンブレムの提供を図る。
【解決手段】夜間、発光素子4を点灯するとその出射光は導光体2の受光部21で取り込まれて導光体2の内部に導光され、エンブレム本体5の周縁に対応した反射面22により反射されてエンブレム本体5の周囲を発光させる。これにより、エンブレム本体5の外形ラインを鮮明に表示し、これを浮き彫り状に現出させて意匠効果を高める。
(もっと読む)
車両用灯具
【課題】従来の車両用灯具では、アウトサイドミラーを別個に必要とし、また、車両の車体デザイン上好ましくない。
【解決手段】この発明は、ランプハウジング6と、ランプレンズ7と、ランプユニット8と、アウトサイドミラー9と、を備える。ランプレンズ7には、車両2の前方側Fから後方側Bにかけて車両2の車体面から隆起する隆起部13が設けられている。ランプハウジング6には、ランプレンズ7の隆起部13の後方側Bの開口部を閉塞する取付部14が設けられている。ランプハウジング6の取付部14には、アウトサイドミラー9が取り付けられている。この結果、この発明は、アウトサイドミラーを別個に必要としない。また、車両2の車体デザイン上好ましい。
(もっと読む)
車両用ドアミラー
【課題】ミラーハウジングに対するカメラのねじ止め数を少なくして確実な固定の実現を図る。
【解決手段】カメラ10をロアハウジング1Lの開窓部3とレンズ配設部12との嵌挿部分を中心に一方向に回動すると、フック機構部20が相互に落ち込み係合する。一方、その過程で締結固定部21の取付片15と取付座5の合わせ面相互が摺接,照合され、この部分をねじ部材17により締結固定することにより、カメラ10のロアハウジング1Lに対するねじ止め固定を1つにすることができる。
(もっと読む)
車両用アウトサイドミラー装置
【課題】車両用アウトサイドミラー装置において、ハウジングの形状や構造が簡単で、ハウジングの成形金型の構造が簡単になるサイドミラー装置を提供する。
【解決手段】ベース2と、シャフト3と、ミラーハウジング5を有するミラーアセンブリ4と、クラッチ機構6と、を備える。シャフト3は、ベース2に対して回転可能でありかつ軸方向に移動可能であり、ミラーハウジング5に対して回転不可能でありかつ軸方向に移動可能である。ミラーハウジング5は、ベース2に対してシャフト3と共に回転可能である。クラッチ機構6は、クラッチ凸部21、クラッチ凹部22と、スプリング23と、を有する。この結果、ミラーハウジング5の形状や構造が簡単となり、ミラーハウジング5の成形金型の構造が簡単となる。
(もっと読む)
車両用灯具
【課題】光源が奥に配置されていても、その光源からの光を車両内側の所定の領域まで照射すること。
【解決手段】この発明は、ランプハウジング2と、アウターレンズ3と、光源4と、インナーレンズ5と、を備える。インナーレンズ5には、筒部12が設けられている。筒部12には、3面15、16、17が設けられている。3面15、16、17には、光源4からの光L1、L2、L3を車両内側の領域P1、P2、P3に照射する3つの配光制御部18、19、20がそれぞれ設けられている。この結果、この発明は、光源4が奥に配置されていても、その光源4からの光L1、L2、L3を車両内側の所定の領域P1、P2、P3まで照射することができる。
(もっと読む)
車両用前照灯
【課題】全体の配光パターンのうち車両外側の部分をさらに車両外側に広げこと。
【解決手段】この発明は、半導体型光源2と、反射面10を有するリフレクタ3と、を備える。反射面10は、8個のセグメントから構成されている。第3セグメント13と第4セグメント14の間には、段差面19が形成されている。段差面19は、抜き勾配θ1から最大勾配θ2まで連続的に変化させた自由曲面からなる。この結果、この発明は、全体の配光パターンのうち車両外側の部分をさらに車両外側に広げことができ、歩行者や歩道や路肩を照明してそれらの視認性を向上させることができる。
(もっと読む)
車両用前照灯
【課題】従来の車両用前照灯では、部品点数が増し、組付工程が増し、製造コストが高価となる。
【解決手段】この発明は、ランプハウジング2と、ランプレンズ3と、光源4と、リフレクタ5と、ピボット機構6と、光軸調整機構7と、振動抑制機構9と、を備える。ピボット機構6は、ピボット16と、ボス部17と、ピボットホルダ18と、から構成されている。振動抑制機構9は、リブ24と、弾性当接部25と、から構成されている。この結果、この発明は、部品点数や組付工程を軽減して、製造コストを安価にすることができる。
(もっと読む)
1 - 10 / 774
[ Back to top ]


