宇部興産株式会社により出願された特許
1 - 10 / 2,022
寝間着
Notice: Undefined index: from_cache in /mnt/www/gzt_applicant_list.php on line 189
ポリイミド溶液組成物
【課題】本発明は、シロキサン系材料を用いないでシロキサン系材料と同等の柔軟性や耐熱性に優れるポリイミド溶液組成物を提供することを目的とする。
【解決手段】溶媒中、テトラカルボン酸成分と、式(1)で表されるジアミン化合物を含むジアミン成分とを反応させて得られるポリイミド溶液組成物。
(式(1)中、Aは4価の飽和炭化水素残基を表し、直鎖構造であっても環構造であってもよい。R1およびR2はそれぞれ炭素数1〜20のアルキレン基を表し、R3およびR4はそれぞれ炭素数1〜20の直鎖状アルキル基を表す。)
(もっと読む)
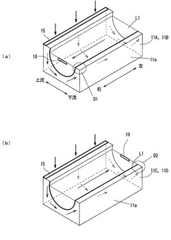
丸網式抄造機
【課題】簡易な構成でボード材の厚みのばらつきを低減することができる丸網式抄造機を提供する。
【解決手段】この抄造機1は、原料のスラリーを貯留する複数の槽11A〜11Dと、前記スラリーに浸漬され、回転に伴ってこのスラリー中の固形分を抄き上げる丸網13と前記槽に対しスラリーを供給する供給手段15と、前記槽のうち前記丸網の回転軸の端部側に設けられ、前記槽から前記スラリーを排出する排出手段18、19とを備えている。前記複数の槽は、少なくとも第1槽11A、11Bおよび第2槽11C、11Dを有する。前記排出手段は、少なくとも前記第1、第2槽にそれぞれ設けられた第1排出手段、第2排出手段を有し、第1排出手段18は、第2排出手段19に対し、丸網13を挟んで対向する位置に設けられている。
(もっと読む)
コンクリート床構造体の施工方法及びコンクリート床構造体
【課題】流動性と速硬性及び速乾性とのバランスに優れたセルフレベリング材を用いることによって、水勾配施工に好適なコンクリート床構造体の施工方法及び該方法により得られる床構造体を提供すること。
【解決手段】セルフレベリング材及び水を混練し調製したセルフレベリング材スラリーを建築物の床上面に打設し、スラリー硬化体層を形成する工程を有し、セルフレベリング材は、アルミナセメント20〜80質量%、ポルトランドセメント5〜70質量%及び石膏5〜45質量%からなる水硬性成分と、流動化剤と、増粘剤とを含み、増粘剤は、セルロース系増粘剤と、平均粒子径が30μm以下のベントナイトとを含有し、水硬性成分100質量部に対するセルロース系増粘剤の含有量及びベントナイトの含有量が特定の関係を満たす、セルフレベリング材スラリーの施工方法。
(もっと読む)
高純度ジイソプロピル亜鉛及びその製法
【課題】 本発明の課題は、簡便な方法により、高純度ジイソプロピル亜鉛及びその製法を提供することにある。
【解決手段】 本発明の課題は、塩素原子の含有量が5.0質量ppm以下であり、且つ金属原子の合計含有量が0.40質量ppm以下であることを特徴とする、高純度ジイソプロピル亜鉛によって解決される。
(もっと読む)
セルフレベリング材及びスラリー
【課題】流動性、速硬性及び速乾性に優れ、水勾配施工に好適なセルフレベリング材を提供すること。
【解決手段】アルミナセメント20〜80質量%、ポルトランドセメント5〜70質量%及び石膏5〜45質量%からなる水硬性成分と、流動化剤と、増粘剤とを含むセルフレベリング材であって、増粘剤は、セルロース系増粘剤と、平均粒子径が30μm以下のベントナイトとを含有し、水硬性成分100質量部に対するセルロース系増粘剤及びベントナイトの含有量が下記式(1)で表される関係を満たす、セルフレベリング材。
Y=−21.2X+t (1)
[式中、Xはセルロース系増粘剤の含有量(質量部)を示し、0.06<X<0.14であり、Yはベントナイトの含有量(質量部)を示し、tは係数を示し、2.81≦t≦3.86である。]
(もっと読む)
環状アルキレン基を有するポリアルキレンカーボネートジオール及びその共重合体並びにそれらの製造方法
【課題】「二級又は三級の炭素原子に水酸基が結合した」環状アルキレンジオールを使用した、新規なポリアルキレンカーボネートジオール及びその共重合体、並びに前記共重合体の組成の制御が簡便な環状アルキレン基を有するポリアルキレンカーボネートジオール及びその共重合体の製造方法を提供する。
【解決手段】環状アルキレン基:Zを含有する下記式(A)及び式(B)で示される繰り返し単位の分子構造を有し、かつ分子末端が水酸基であるポリアルキレンカーボネートジオール共重合体である。
(もっと読む)
低炭素型セメントペースト組成物
【課題】CO2削減のためにアルカリを含有する産業廃棄物及び/又は副産物をセメントクリンカーの原料として多量に使用し、C3A量やアルカリ量が増加した場合であっても、流動性が良好な低炭素型セメントペースト組成物を提供すること。
【解決手段】セメント組成物とポリカルボン酸系高性能AE減水剤と水を含む低炭素型セメントペースト組成物であって、前記セメント組成物は、セメントクリンカーと石膏と高炉スラグを含み、C3A量が11〜13質量%、C4AF間隙相量が8〜10質量23%であり、かつIMが2.10〜2.40であり、全アルカリ量が0.55〜0.80質量%であるセメントクリンカー50〜70質量%と、高炉スラグ微粉末を20〜40質量%と、石膏をSO3基準で1.0〜3.0質量%含有する低炭素型セメントペースト組成物を提供することである。
(もっと読む)
電子顕微鏡遠隔表示装置
【課題】電子顕微鏡本体に付属するコンピュータなどを直接ネットワークに接続することなく、電子顕微鏡の画像を遠隔地に表示可能な電子顕微鏡遠隔表示装置を提供する。
【解決手段】電子顕微鏡12の画像表示部16aに表示される画像データをキャプチャ可能なキャプチャ手段18を備えたキャプチャ部20と、キャプチャ部20にネットワーク26を介して接続され、キャプチャ手段18によってキャプチャされた画像データを表示可能な遠隔画像表示手段22aを備えた遠隔表示部22とを備えた電子顕微鏡遠隔表示装置10である。
(もっと読む)
電池用セパレータ
【課題】本発明は、シャットダウン機能と耐熱形状保持機能を併せ持つ電池用セパレータであって、膜厚や通気性において均一性が高い電池用セパレータを提供することを目的とする。
【解決手段】AFMで測定した表面粗さが50nm以下であり、かつ、その標準偏差が5nm以下である面を有する多孔質フィルムと、前記多孔質フィルムの少なくとも片面上に形成された、耐熱性微粒子を主成分として含む耐熱層とを含む電池用セパレータを提供する。
(もっと読む)
1 - 10 / 2,022
[ Back to top ]


