株式会社荏原製作所により出願された特許
1 - 10 / 1,477
電気式脱塩装置の運転方法
Notice: Undefined index: from_cache in /mnt/www/gzt_applicant_list.php on line 189
ポンプシステムおよび該ポンプシステムの運転方法
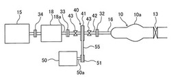
【課題】地震や津波などの災害によりダメージを受けた場合に、迅速に応急運転を行うことができるポンプシステムを提供する。
【解決手段】ポンプシステムは、水を移送するためのポンプ10と、ポンプ10を駆動する駆動源15と、ベルト駆動用のプーリユニット40を備える。プーリユニット40は、プーリ41と、プーリ41を支持する支持軸42と、支持軸42を回転自在に支持するラジアル軸受43とを有し、駆動源15は支持軸42を介してポンプ10に連結されている。プーリユニット40は、支持軸42を介して駆動源15の駆動力をポンプ10に伝達し、さらに駆動源15とは別に用意される応急運転用のモータ50の駆動力をプーリ41を介してポンプ10に伝達する。
(もっと読む)
弾性膜及び基板保持装置
【課題】基板端部の過研磨を効果的に抑制して、基板端部の研磨速度の精密な制御ができるようにする。
【解決手段】基板保持装置に用いられる弾性膜4であって、弾性膜4は、基板に当接して該基板を研磨パッドに向けて押圧する当接部400を有し、当接部400の下面は、平坦な平坦領域Aと該平坦領域の外周部に位置して上方に立上る立上り領域Bを有する。
(もっと読む)
弾性膜
【課題】基板との当接面を有する当接部自体の該当接面に沿った変形(伸び)を、当接部の中心部から外周部のほぼ全域に亘って均一に抑制できるようにする。
【解決手段】基板Wの外周部にリテーナリング3を位置させて基板Wを保持する基板保持装置1に用いられる弾性膜4であって、基板Wと当接する当接面42aを有する当接部42と、当接部42の外周端に連接されて上方に延びる第1周壁部44と、第1周壁部44の内側で当接部42に連接されて上方に延び、外側に第1圧力室5が、内側に第2圧力室7がそれぞれ形成される第2周壁部46とを備え、当接部42は、そのほぼ全域に亘って、弾性膜4より剛性の高い補強部材50により補強されている。
(もっと読む)
加圧送水ユニット及びその据え付け方法
【課題】吐出容量の大きな加圧送水ユニットであっても、ベースを大型化することなく、大型のポンプや駆動モータ、制御盤をベース上に安定的に設置し、狭い設置スペースに簡易な作業で据え付けることができるようにする。
【解決手段】ユニット1のベース2を、ポンプ3、駆動モータ4など構成機器が設置される主体ベース21と、制御盤5のみが設置される補助ベース22に分割して形成するともに、両ベース21、22を並設した状態で互いの側端部同士を継ぎ合わせて一体に連結できるように構成する。
(もっと読む)
真空吸引による工場排水収集装置及び工場排水収集方法
【課題】床下に配置(敷設)する排水用配管が不要で、施工性がよく、レイアウトの自由度が高く、漏水の可能性が低く、排水管路の状態を容易に目視確認できる真空吸引による工場排水収集装置及び工場排水収集方法を提供すること。
【解決手段】バッファタンク11と、隣接して配設された真空吸引装置タンク12と、真空吸引装置14とからなる真空吸引ユニットと、配管状態を目視で確認できる場所に設置された真空配管2と、集水タンクを備えた真空ステーション3と、を備え、CIP洗浄により発生する排水をバッファタンク11に収集し、所定流量ずつ真空吸引装置タンク12に移送し、真空吸引装置タンク12内の排水を真空吸引装置14により真空配管2に移送し、真空配管2を通して真空ステーション3の集水タンクに移送し、真空ステーション3から排水処理場に移送する。
(もっと読む)
研磨方法および研磨装置
【課題】基板の研磨中にシリコン層の正確な厚さを取得し、得られたシリコン層の厚さに基づいて基板の研磨終点を正確に決定することができる研磨方法を提供する。
【解決手段】本研磨方法は、基板から反射した赤外線の強度を所定の基準強度で割って相対反射率を算出し、相対反射率と赤外線の波長との関係を示す分光波形を生成し、分光波形にフーリエ変換処理を行なって、シリコン層の厚さおよび対応する周波数成分の強度を決定し、上記決定された周波数成分の強度が所定のしきい値よりも高い場合には、上記決定されたシリコン層の厚さを信頼性の高い測定値と認定し、該信頼性の高い測定値が所定の目標値に達した時点に基づいて、基板の研磨終点を決定する。
(もっと読む)
研磨終点検出方法および研磨装置
【課題】研磨対象膜の下層の金属材料の影響を排除し、渦電流センサを用いて、基板表面内の各領域での膜厚情報を取得することができ、得られた膜厚情報から基板の研磨終点を決定する方法を提供する。
【解決手段】本方法は、基板の研磨中に渦電流センサを基板の表面を横切るように移動させ、渦電流センサのインピーダンスの抵抗成分Xおよび誘導リアクタンス成分Yからなる座標X,YをX−Y座標系上にプロットし、X−Y座標系上に定義された複数のインピーダンスエリアにそれぞれ属する複数の座標X,Yを用いて、複数のインピーダンスエリアごとに複数の膜厚指標値を算出し、複数の膜厚指標値を用いて複数のインピーダンスエリアごとに基板の研磨終点を決定する。
(もっと読む)
羽根車及び該羽根車を備えた送風機
【課題】高温気体の送風においても振動を生じることのない高温気体の送風に好適な送風機の羽根車及び送風機を提供すること。
【解決手段】円柱状の回転軸11と、回転軸11に取り付けられたボス12と、ボス12に固定されボス12の外周に放射状に延びる複数枚の翼13とを備え、ボス12はボス12と回転軸11の間に円周方向に等配した3個以上のキー15で固定した。これにより常温から数百度の高温に至る気体を送風する際に回転軸11とボス12の温度差により回転軸11とボス12の間に発生する隙間による振動を抑制する。
(もっと読む)
無電解めっき装置及び無電解めっき方法
【課題】生産性の高いバッチ処理方式を採用し、しかも前の処理等で使用した水分の持込みを極力低減させて、一連の連続した各処理を、より均一に安定して行うことができるようにする。
【解決手段】複数枚の基板を鉛直方向に平行に保持して搬送し、搬送の前後で異なる処理槽内の処理液中に複数枚の基板を同時に浸漬させる基板ホルダを有する無電解めっき装置において、基板ホルダは、基板の外周部を位置させて基板を支持する複数の支持溝130を有する支持棒94aと、支持溝130の内部乃至その周辺に溜まる水分を除去する水分除去機構136aを有する。
(もっと読む)
1 - 10 / 1,477
[ Back to top ]


