永大産業株式会社により出願された特許
1 - 10 / 243
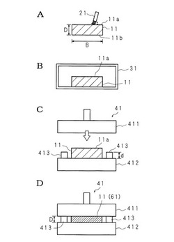
調色木質材の製造方法
【課題】木質材の物理的特性を損なうことなく、木質材の色調を安価に効率よく調節することができる調色木質材の製造方法を提供する。
【解決手段】作業者は、まず、板状の木質材11の一面に、多価カルボン酸水溶液を塗布する(A)。次いで、作業者は、木質材11を自然乾燥させる(B)。更に、作業者は、木質材11を熱盤プレス機41にセットし(C)、熱盤411,412を200 ℃に加熱して、木質材11に30秒間の熱圧締処理を施す(D)。この熱圧締処理は、従来の乾熱処理に比べて低温且つ短時間であるため、木質材11の物理的特性が損なわれ難く、加熱に必要なコストが安価である。また、この熱圧締処理は、従来の湿熱処理のように水蒸気雰囲気下で熱圧締処理を行なう必要がないため、密閉容器を備える大型で複雑な処理装置は不要である。
(もっと読む)
木質系床材
【課題】圧縮空気を用いて、木質系基材の表面に貼り付けられた表面化粧材を、その隅部から好適に剥離させることができる木質系床材を提供することにある。
【解決手段】木質系床材10は木質系基材3の表面32に粘着材4で表面化粧材2を貼り合わせている。木質系基材3の表面32には、表面化粧材2を貼り合わせることにより、表面化粧材2の隅部29よりも内側にある内部に密閉空間が形成されるように凹部34が設けられている。木質系基材3と表面化粧材2との間には、凹部34に向かって表面化粧材3に空気供給孔を穿設し、空気供給孔を介して、凹部34に圧縮空気を供給したときに、凹部34から表面化粧材2の隅部29に向かって圧縮空気が案内されるように非粘着部35が形成されている。
(もっと読む)
電気式床暖房パネルおよびそれを用いた電気式床暖房装置
【課題】電気式床暖房パネルは製品寿命を超えて継続使用していると、3線式コード状ヒータに疲労断線が生じて発熱し出火に至るのことを防止する安全設計を提供する。
【解決手段】3線式コード状ヒータ20は、通電により発熱する第1と第2の2本のヒータ線21,22と検知線23を有し、第1のヒータ線と検知線は第1の被覆樹脂24,26で被覆されており、第2のヒータ線は第1の被覆樹脂の溶融温度よりも高い溶融温度を持つ第2の被覆樹脂25で被覆される。第1と第2の2本のヒータ線の一方端は直接的にまたは間接的に電源に接続しており、他方端は互いに接続し、発熱回路には第1の被覆樹脂が溶融することにより生じる第1のヒータ線と検知線との短絡により抵抗器53が発熱することに起因して溶断するヒューズ51が第2のヒータ線側に接続される。抵抗器は、第2のヒータ線の抵抗値と等しいかそれよりも高い値の抵抗値を有する。
(もっと読む)
キッチンキャビネット用引き出し
【課題】外面部と内面部とを有する中空とされ、その内面部の下部が内側方向に寄せられることにより下部の幅が上部に比べて広くされた側板を有するキッチンキャビネット用引き出しにおいて、この引き出しの収納空間の有効幅を広くする。
【解決手段】一方の側板22の内面部22bに隣接して箱型容器40が配設されており、箱型容器40は、物品を収納する本体部41と、引き出し20の側板22の上方に架設されたバー部材25に係合するフック部42とを有している。本体部41のフック部42が設けられた側の側面の下方部分には、側板22の内側方向に寄せられる内面部22bの外形に沿って内側に向けて後退する上方の第1傾斜部41aと下方の第2傾斜部41bが形成されており、第1傾斜部41aは側板22の内面部22bの外形にほぼ沿い、第2傾斜部41bは側板22の内面部22bの下部に干渉しないように内側に向けて大きく後退している。
(もっと読む)
木質系床材
【課題】木質系基材の裏面に収納凹部を機械加工により成形した場合であっても収納凹部の底面と潜熱蓄熱体との密着性を確保することにより、潜熱蓄熱体の蓄熱効率および放熱効率を高めることができることができる木質系床材の製造方法を提供する。
【解決手段】潜熱蓄熱剤を密閉容器17aに充填した潜熱蓄熱体17が、木質系基材11の裏面11bに形成された収納凹部15に収納された木質系床材10の製造方法である。木質系基材11の裏面に収納凹部15を機械加工により成形する。次に、機械加工により生じた加工熱の残熱の放熱により収納凹部15の少なくとも底面の含水率が低下し始めてから、その後、大気中の水分の吸収および木質系基材内の水分の拡散の少なくとも一方により含水率が上昇し始めるまでの間に、潜熱蓄熱体17を収納凹部15の少なくとも底面に接着する。
(もっと読む)
木質系床材
【課題】潜熱蓄熱材の状態を把握することにより、日射光、室内暖房等の熱を有効に活用することができる木質系床材を提供する。
【解決手段】木質系床材10は、裏面11bに収納凹部15が形成された木質系基材11と、収納凹部15に収納された潜熱蓄熱材17とを少なくとも備えている。木質系床材10の表面11には、潜熱蓄熱材17の相変化温度と同じ温度で変色する可逆式の第1の示温材31と、蓄熱された潜熱蓄熱材17が放熱状態にあるときの木質系床材10の表面温度と同じ温度でで変色する可逆式の第2の示温材32と、が配置されている。
(もっと読む)
配線ケーブルと配線パネルの組み合わせ
【課題】コンクリートスラブ面に裏面に発熱体を備えた複数枚のヒーターパネルを直貼りした電気式床暖房フロアにおいて、ヒーターパネルと外部商用電源との接続作業および配線パネルの貼り付け作業を容易化する。
【解決手段】
前配線ケーブル1は、第1のコネクタ4、4を介して直列に接続可能な複数個の分割配線ケーブル2bに分割されており、分割配線ケーブル2bにはヒーターパネルAの電気的接続用のコネクタ6に接続する第2のコネクタが取り付けられている。分割配線ケーブル2bは、側辺に沿った方向のヒーターパネルAの長さに応じた長さとなっている。配線パネルB1には、分割配線ケーブル2bを収容する凹溝が形成されている。
(もっと読む)
着色木材の製造方法並びに着色木材及び単板及び建材
【課題】着色むらがなく、取り扱いも容易な着色木材の製造方法並びに着色木材及び単板及び建材を提供する。
【解決手段】ラミナを溶解度指数が10のアセトンに浸漬した状態で減圧・加圧含浸を行った後、このラミナをアセトンから引き上げて減圧処理することで、ラミナ中の余剰のアセトンを除去した。このラミナを、半均染型酸性染料1重量%、溶解助剤としての尿素20重量%、染料溶媒としての水79重量%からなる染料水溶液に浸漬した状態で、減圧・加圧含浸を行った後、このラミナを染料水溶液から引き上げて減圧処理することで、ラミナ中の余剰の染料水溶液を除去した。このようにして形成された多数のラミナLを積層接着してフリッチFを作成し、このフリッチFをスライサーにて切削することで、厚さ0.3mmの湿潤単板SPを形成した。
(もっと読む)
ワイヤーラックの取付方法及び収納家具
【課題】ワイヤーラックを取り外したり、取付位置を変更した場合でも、極端に体裁が悪くなることがなく、しかも、ワイヤーラックを簡単かつ確実に取り付けることができるワイヤーラックの取付方法及びワイヤーラックを取付可能な収納家具を提供する。
【解決手段】対向一対の側板11、11と、その側板11、11に支持される可動棚板15とを備えたキャビネット1であって、ワイヤーラック20を取り付けることができるようになっている。ワイヤーラック20は、ラック本体21及びそのラック本体21から横方向に張り出す支持杆22を有していると共に、可動棚板15における側端面には、ワイヤーラック20の支持杆22を挿入可能なラック取付孔18が形成されており、そのラック取付孔18に支持杆22を挿入した状態で、可動棚板15を左右一対の側板11、11に支持することによって、ワイヤーラック20を取り付けるようになっている。
(もっと読む)
木質床材及び木質床材の製造方法
【課題】木質基材に対する化粧材側からの湿気の出入を防湿層によって遮断すると共に、化粧材の膨れ、剥離等を防止した木質床材、及び該木質床材の製造方法を提供する。
【解決手段】木質床材は、化粧材2が木質基材1の表面に複数の通気孔3aを設けた防湿層3を介して水性の接着剤にて熱圧接着してある。防湿層3は、合成樹脂フィルム、金属シート、又は、ポリサンドシートである。木質床材の製造方法は、木質基材1の表面に複数の通気孔3aを設けた防湿層3を形成する防湿層形成工程と、防湿層3を形成した木質基材1の表面に化粧材2を水性の接着剤にて熱圧接着する工程とを有する。防湿層形成工程では、防湿シート3に複数の通気孔3aを形成した後、該防湿シート3を木質基材1の表面に水性の接着剤にて接着する。
(もっと読む)
1 - 10 / 243
[ Back to top ]


