岡部株式会社により出願された特許
1 - 10 / 277
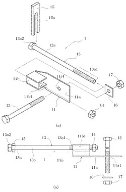
ドリフトピン用キャップおよびその使用方法
Notice: Undefined index: from_cache in /mnt/www/gzt_applicant_list.php on line 189
補強金物および補強金物を用いた木部材の補強構造
【課題】木部材の交差部に設ける補強金物が熱橋になることによる結露や錆等の発生を防止できると共に、気密性や断熱性能を向上させることができる補強金物および補強金物を用いた木部材の補強構造を提供する。
【解決手段】この補強金物1は、一方の木部材の側面に固定するための固定ボルト12が挿入される第1ボルト孔11a1と、その第1ボルト孔11a1とはほぼ垂直方向を向く第2ボルト孔11a2が設けられた羽子板部11と、軸部13aの先端部は第2ボルト孔11b1に挿入されナット14により固定される一方、軸部13aの基端部にはボルト頭部13a2が設けられた連結ボルト13と、連結ボルト13の軸部13aが嵌まると共にボルト頭部13a2が切欠部周縁に当接する切欠部15aを有し、他方の木部材の側面に形成された収容溝に収容される座金15とを有する。
(もっと読む)
あと施工アンカーの施工方法
【課題】無機質材料を封入した容器と液体を封入した容器を別々に作製してアンカー孔内部に収容する場合に、これら容器のアンカー孔内部での姿勢がアンカー孔に対して偏ることを抑制することが可能であると共に、液体のコンクリート躯体中への浸透を抑制することが可能なあと施工アンカーの施工方法を提供する。
【解決手段】無機質材料用液溶性紙容器2及び液体用ガラス容器3を、コンクリート躯体5のアンカー孔1内部に収容し、アンカー孔内部にアンカーを、ガラス容器や紙容器を破砕して無機系材料と液体を練り混ぜながら打設するあと施工アンカーの施工方法であって、幅広シート状の紙容器に無機質材料を封入してマット状とし、ガラス容器及び紙容器をアンカー孔内部に収容したときに、ガラス容器の外周面の少なくとも一部を紙容器で包囲した状態となるように、紙容器とガラス容器を配設する。
(もっと読む)
木部材の接合構造
【課題】木部材同士の接合部分におけるせん断耐力を向上させることができる木部材の接合構造を提供する。
【解決手段】柱31と梁32等の木部材の接合構造であって、軸部11のほぼ中間に軸部11の外周より突出し、柱31と梁32にかかるせん断力を受けるプレート部12を有するせん断耐力金具10と、柱31と梁32を連結するアンカーボルト20とを柱31と梁32の接合部分に埋設した。これにより、柱31と梁32等の木部材同士の接合部分におけるせん断耐力を向上させることができる。
(もっと読む)
藻礁
【課題】コンブ等の育成すべき藻体に対し傷を付けることなく、ウニ等の住処にもなり難く、かつ、砂地に設置しても埋没し難い藻礁を提供する。
【解決手段】この藻礁1は、中央部に貫通孔4を有するドーナツ形状のコンクリートブロック製礁体2を有し、その礁体2の底面側には、その外周面側から貫通孔4側へ海水を通す海水通し部3が複数設けられている。礁体2がドーナツ形状であるため、育成すべき藻体に対し傷を付けることを極力低減でき、またその表面は曲面をなしており凸凹がないので、ウニ等がその表面を這い上がり難く、ウニ等による藻体の食害を防止できる。また、礁体2の底面には海水通し部2が設けられているので、礁体2の外周面に海水が当っても海水通し部3を通って礁体2中央の貫通孔4から海水が排出されるため、洗掘現象を極力抑えることが可能となり、砂地に設置しても埋没することを極力防止できる。
(もっと読む)
過剰間隙水排水装置
【課題】地表からの深さによって過剰間隙水の水圧が異なる場合や液状化現象発生層と液状化現象未発生層がある場合でも、施工コストをかけずに効率良く過剰間隙水を排水することができる過剰間隙水排水装置を提供すること。
【解決手段】この過剰間隙水排水装置1は、軸方向に沿って外周面に複数の入水孔11を有する有孔排水管10を地中に埋設して地中の過剰間隙水を地上へ排水するもので、一定間隔を空けて配置した複数の隔壁12a,12b,12cによって仕切られた排水区間13a,13b,13c毎に各専用排水管14a,14b,14cの下端の入水口141a,141b,141cおよび有孔排水管10の入水孔11が位置するように複数の隔壁12a,12b,12cおよび専用排水管14a,14b,14cを構成し、それらを有孔排水管10の中に挿入したものである。
(もっと読む)
浮魚礁
【課題】簡易な構造で、かつ、魚類の隠れ場所となる陰影部分の面積を大きく確保して、蝟集効率を向上させることができる浮魚礁を提供する。
【解決手段】この浮魚礁10は、多数の小浮体1を1本の長尺のロープ2を介して数珠状に連結したものを所定の長さ毎にジグザグ状に折り返してほぼ矩形形状に配置するとともに、各折り返し部分に位置する両側の各小浮体1a,1bを貫通するように2本のロープ3a,3bにより連結してほぼ矩形形状の面状浮礁体4を構成し、この面状浮礁体4の四隅に係留索5の上端部を連結し、それら4本の係留索5の下端部にアンカー6を連結して構成する。
(もっと読む)
棒鋼材接続用楔部材圧入工具
【課題】棒鋼材を保持する部位の肉厚を薄くすること、そしてまた重さを軽くすることが可能な棒鋼材接続用楔部材圧入工具を提供する。
【解決手段】並列配置の棒鋼材2同士をスリーブ3内で接続するために、スリーブに形成した孔部からこれら棒鋼材間に楔部材4を圧入する圧入ドライバ5を有する棒鋼材接続用楔部材圧入工具1であって、圧入ドライバに、これよりスリーブに挿通された棒鋼材へ向かって延設されたアーム部6と、アーム部の先端部6bに形成され、スリーブの両側位置で棒鋼材に係脱自在に係止されて、楔部材を圧入する圧入ドライバに作用する反力を当該棒鋼材に支持させる一対の係止フック7を備えた。
(もっと読む)
既存住宅の補強方法および住宅
【課題】補強板や鋼鈑で既存住宅の周囲を覆う場合よりも津波や地震等に対し抵抗でき、均一に補強することができる既存住宅の補強方法および住宅を提供する。
【解決手段】既存住宅1の1階部分の玄関や勝手等の出入り口11や、窓12、換気口13等の開口部以外の外壁15をRC壁2により覆う。これにより、補強板や鋼鈑で既存住宅1の周囲を覆う場合よりも津波や地震等に対し抵抗できると共に、複雑な形状にも対応して既存住宅1全体を均一ないしは自在に補強することができる。特に、1階部分の開口部以外の外壁15をRC壁2により覆っているので、1階部分の層崩壊を防止でき、3m程度の津波に対し有効な補強となる。なお、既存住宅1の外壁15とRC壁2との間に緩衝材を挿入しても良い。また、RC壁2は地中に埋設された杭に連結したり、その既存住宅1の基礎に定着できる。
(もっと読む)
脚部付き人工魚礁の製造方法および脚部付き人工魚礁
【課題】海域条件等に対応して幅や高さ等を設計した脚部を有する脚部付き人工魚礁を容易に製造することができる脚部付き人工魚礁の製造方法および脚部付き人工魚礁を提供する。
【解決手段】魚礁本体10を製作するための鋼製本体型枠を設置するとともに、その鋼製本体型枠において鋼製脚部2を設ける位置に、その鋼製脚部2の断面積より大きい断面積を有する鋼製箱抜き型枠1を設置し、その鋼製箱抜き型枠1の外側と魚礁本体10の内側との間に1次コンクリート5を打設するとともに、その鋼製箱抜き型枠1の内側に所定の設計脚高さになるように鋼製脚部2を固定し、その鋼製箱抜き型枠1の内側に2次コンクリートを打設することにより魚礁本体10に鋼製脚部2を取り付けた。
(もっと読む)
1 - 10 / 277
[ Back to top ]


