株式会社INAXにより出願された特許
1 - 10 / 1,429
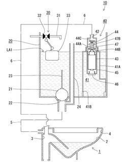
洗浄タンク装置及び水洗式便器
【課題】大型化せず、便器洗浄を良好に行なうことができる洗浄タンク装置及び水洗式便器を提供する
【解決手段】洗浄タンク装置10は、タンク本体20と、タンク本体20内へ洗浄水を供給する給水装置30と、便器排水路3内の空気を吸引する吸気装置40とを備えている。吸気装置40は、タンク本体20内を区画して形成し、上下方向に延びて下端部がタンク本体20内で開口しており、上端部に吸気口47Aを設けた吸気室41と、吸気室41と便器排水路3とを連通する42連通路と、吸気室41内に配置し、設定した浮力を有するフロート部材43と、フロート部材43が設定した上昇位置まで上昇すると吸気口47Aを閉鎖して連通路42側から吸気室41内への空気の流入を防止し、フロート部材43が上昇位置より下降すると吸気口47Aを開放して連通路42側から吸気室41内への空気の流入を可能にする開閉弁44とを備えている。
(もっと読む)
パイロット式吐止水・流調弁装置
【課題】軽い操作で吐止水及び流量調節の何れをも行うことができ、しかも一旦流量調節を行った後はその後に止水を行っても次の吐水時に予め調節した所望の流量で吐水を行うことのできるパイロット式吐止水・流調弁装置を提供する。
【解決手段】パイロット式吐止水・流調弁装置10を、パイロット弁34を進退移動させて吐止水の切換えを行う吐止水切換機構と、流量調節を行う流調機構とを備えて構成する。
パイロット弁34は吐止水切換機構と流調機構とで共通とし、また流調機構は吐止水切換機構によるパイロット弁34の止水動作後の吐水動作時に、パイロット弁34の流調位置を前回調節した流調位置に維持するように構成し、またパイロット弁34は伸縮可能な駆動軸60に設けておく。
(もっと読む)
ボールタップ装置
【課題】組付時及びメンテナンス時におけるフロートの高さ調節が容易であって所要時間も短くて済み、また所要部品点数が少なくコストを安価に抑えることのできるボールタップ装置を提供する。
【解決手段】ボールタップ装置において、フロート28と給水弁とを連繋する連繋アームの軸部34の外面の互いに異なった個所にフロート28固定のための固定ゾーン118と固定解除ゾーン120とを列状に設けて、固定ゾーン118に係合突部121を上下に多数設ける。またフロート28の嵌合部116には係合凹部としての窓部128を設け、窓部128を正方向回転させて適宜の高さの係合突部121に上下に凹凸係合させることでフロート28を高さ調節するようになす。また窓部128には係合突部121に対して逆回転方向に掛止する爪130を設けておく。
(もっと読む)
キャビネット用フレーム体およびキャビネット用フレーム体の組立方法
【課題】傷つくことなく輸送することができ、また、現場で自立させて容易に組み立てできるキャビネット用フレーム体を提供する。
【解決手段】キャビネットの骨組みとなるフレーム体は、額縁状に枠組みされた複数の枠フレーム7Bが横フレームで連結されてなり、各枠フレーム7Bは、短い縦フレーム8と長い縦フレーム9間に奥行きフレーム11が連結されているとともに、短い縦フレーム8の下端には着脱可能に補助具12が嵌め込まれ、この補助具12は、短い縦フレーム8を長い縦フレーム9と同じ高さにし得る上下寸法を有し、かつ枠フレーム7Bを床面上に自立させることができるよう横方向に張り出している。
(もっと読む)
発酵装置
【課題】処理物を良好に発酵処理することができる発酵装置を提供する。
【解決手段】発酵装置20は、人間の排泄物、家畜糞尿、家庭用生ゴミ等の有機系の処理物を微生物により発酵処理する。傾斜した回転軸を中心に回転可能に保持された発酵槽21と、この発酵槽21を回転させる回転機構22とを具備している。発酵槽21は、処理物を発酵処理する発酵室Cを内部に設け、回転軸を中心にして軸対称に形成された外殻部23と、この外殻部23の内面から中心に向けて立ち上がり、回転軸方向に延びた帯状の攪拌翼部24と、この外殻部23の内面から中心に向けて立ち上がり、回転軸に直交する面を形成した内枠状の邪魔板部25とを有している。外殻部23は、回転軸方向の上側の端部に設けられ、発酵室C内に処理物を受け入れる受入口25Aと、回転軸方向の下側の端部に設けられ、発酵室C内で発酵処理された処理物を排出する排出口26Aとを有している。
(もっと読む)
自動水栓
【課題】吐水管内の通水空間に光ファイバを通してその先端にて光センサの投光部,受光部を構成する場合において、光ファイバの先端部のシールを信頼性高く且つ作業性良く容易に行うことのできる自動水栓を提供する。
【解決手段】投光側の光ファイバ50と、受光側の光ファイバ52とを吐水管12の先端部に到るまで吐水管12の内部の通水空間58に通して、各光ファイバ50の先端にて投光部70と受光部72とを構成する自動水栓において、光ファイバ50,52の先端部に筒状をなす外装部材80を水密且つ外嵌状態に結合して外装し、外装部材80を吐水管12の内面に水密に取り付けられた吐水口部材56の挿入孔84に挿入して、それらの間をOリング96にて水密にシールする。
(もっと読む)
移乗用板付き入浴装置
【課題】移乗用板に腰掛けた使用者の体重を浴槽の開口縁部のみで支持する。
【課題を解決するための手段】固定した支持具12,13に支持させた移乗用板14を、浴槽15の左右方向の開口縁部15aの上に起立する待機状態Fから浴槽15の前後方向の左右の開口縁部15b,15cに跨がって伏倒する使用状態Gまで揺動可能且つ左右移動不能とし、移乗用板14は、揺動中心側の左右方向の縁面14dより内側の位置に、左右方向へ延びる支持軸16,16を設け、支持具12,13は、揺動中の移乗用板14の上記縁面14dを浴槽15の開口縁部15aに摺動案内させるように、揺動中の移乗用板14の支持軸16,16を上下移動自在に案内しつつ支持軸16,16の前後方向の移動を規制する縦長凹部12a,13aを設け、使用状態における支持軸16,16を縦長凹部12a,13aの底面に当接させない。
(もっと読む)
自動水栓
【課題】吐水管の先端部に到るまで光ファイバを吐水管内に通して光センサの投光部と受光部とを構成して成る自動水栓において、光ファイバが吐水管内で水に濡れたり、光ファイバに接触した水が吐水口から吐水されてしまうといったことのない自動水栓を提供する。
【解決手段】光ファイバ50,52を吐水管12の先端部に到るまで吐水管12の内部に通して、各先端部にて光センサの投光部70と受光部72を構成し、検知対象の検知に基づいて吐水する自動水栓10において、吐水管12の内部に鞘管100を配管してその内部に光ファイバ50,52を挿通するとともに、鞘管100の外面と吐水管12の内面との間に通水空間103を形成する。
(もっと読む)
キッチンキャビネットへの食器洗い機の後付け方法
【課題】既存のキッチンキャビネットに容易に食器洗い機を後付けできる後付け方法を提供する。
【解決手段】金属製の縦フレーム8と横フレームと奥行きフレーム11を枠組みしたフレーム体を骨組みとし、奥行きフレーム11に固設した引出しレール12,12に引出しを取り付けてなる既存のキッチンキャビネット1に対し、引出しを外して引出しレール12,12を取り外した後、引出しが設けられていた空間内に食器洗い機を取り付け、食器洗い機に対しフレーム体内の空間を通して給・排水管を配管接続する。
(もっと読む)
自動水栓
【課題】吐水開始後においてセンサが吐水流を誤検知することによって水が出っ放しとなってしまう問題を解決することのできる自動水栓を提供する。
【解決手段】投光部62と受光部64とを有するセンサ66で検知対象を検知し、吐水を自動的に行う自動水栓において、検知対象の検知により吐水開始した後に吐水流からの反射光を受光部64が受光することで受光量が増加したとき、吐水中にしきい値を高く変更し、そして受光量が変更したしきい値以下となったときに止水を行い、併せてしきい値を再び変更前のもとのしきい値に戻すようにする。
(もっと読む)
1 - 10 / 1,429
[ Back to top ]


