美津濃株式会社により出願された特許
1 - 10 / 239
サポーター
Notice: Undefined index: from_cache in /mnt/www/gzt_applicant_list.php on line 187
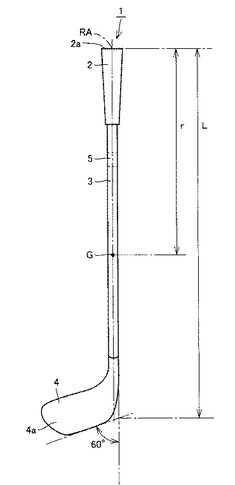
アイアンゴルフクラブ
【課題】振り易さを向上させることができるアイアンゴルフクラブを提供する。
【解決手段】アイアンゴルフクラブ1は、60度法により測定されるクラブ長さをLとしたときのLの値が36.5インチ以上であって、カーボンシャフト3と、カーボンシャフト3に取り付けられた錘5と、カーボンシャフト3の一方端に取り付けられたグリップ2と、カーボンシャフト3の他方端に取り付けられたヘッド4とを備えている。カーボンシャフト3と、錘5と、グリップ2と、ヘッド4の合計の質量が0.3996kg以上0.4197kg以下である。グリップ2の上端からアイアンゴルフクラブ1の重心Gまでの距離をrとしたときのr/Lの値が0.765以上0.795以下である。
(もっと読む)
サポーター
【課題】筋肉等を有効に保護しなから、皮膚や筋へのストレスをも効果的に軽減可能なサポーターを提供する。
【解決手段】サポーター1は、伸縮性を有する素材で構成された本体部2と、該本体部2に設けられ、本体部2よりも伸縮性が低く、着用箇所における着用者の皮膚の伸びる伸長方向と直交する方向に延在する低伸縮部3とを備える。低伸縮部3の数は単数でも複数でもよく、低伸縮部3の形状としては、全体形状がU字状となるように湾曲する形状を選択することができる。
(もっと読む)
足趾トレーニング用靴下
【課題】足趾トレーニングを効果的に行うことが可能となるとが可能となる足趾トレーニング用靴下を提供する。
【解決手段】足趾トレーニング用靴下1は、装着者の足の甲部に沿う足甲部4と、装着者の足の底部に沿う足底部と、装着者の足趾を受入れる先端部2と、装着者の足の踵部を受入れる踵部と、先端部の少なくとも一部に設けられ足趾トレーニング用靴下を装着した状態で足趾を屈曲させた際に該足趾に負荷を与える負荷部と、先端部に設けられ負荷部が足趾に対し位置ずれするのを抑制可能な位置ずれ抑制部と、先端部と踵部との間に設けられる締付部4bとを備える。
(もっと読む)
野球またはソフトボール用バット、及び野球またはソフトボール用バットの製造方法
【課題】複合材料製の野球またはソフトボール用バットにおいて、異素材の接合面を含む境界部分における強度を向上させる。さらに、異素材の接合面を含む境界部での強度を向上させた複合材料製の野球またはソフトボール用バットの製造方法を提供する。
【解決手段】木材製で内部に中空部21が形成された中空筒状の打球部2と、繊維強化樹脂製でその一部が前記打球部2の中空部21に内挿されて接合されるとともにその残り部分が前記打球部2から露出されるバット本体3と、を備えた野球またはソフトボール用バットであって、前記打球部2から露出される前記バット本体3の外周には、前記バット本体3を構成する繊維強化樹脂の繊維方向が変位することを抑制する拡径抑制部9が設けられ、前記拡径抑制部9は、前記打球部2のグリップ部6側端部と前記バット本体3との間に形成される段差23に接するように配置されている。
(もっと読む)
ゴルフボール
【課題】低重心のドライバーを使用しても飛距離を伸ばすことのできるゴルフボールを提供することを課題とする。
【解決手段】球状のコア1と、コア1の表面に形成される複数のリブ3と、リブ3によって囲まれる凹部4に充填される中間層5と、中間層5を被覆するカバー7と、を備え、コア1の表面硬度は、リブ3の表面硬度と同じ、又はリブ3の表面硬度よりも高く、中間層5の表面硬度はリブ3の表面硬度よりも高い。カバー7は、内層71及び外層72を有する少なくも2層構造であり、外層72は、内層71よりも硬度が低い。
(もっと読む)
フライングディスク
【課題】人体に接触した際の安全性が高く、かつ外形が破損しても正常に使用できるフライングディスクを提供する。
【解決手段】フライングディスクは、可撓性を有する樹脂シートで形成され、内部空間12を有する第1環状部10と、可撓性を有する樹脂シートで形成され、内部空間12に配置され、第1環状部10に沿って延在し、気体を注入した状態で密閉可能な第2環状部20と、可撓性を有する樹脂で形成され、内部空間12を規定する第1環状部の内壁面と第2環状部20との間に配置されたウェイト部30とを備えている。
(もっと読む)
ゴルフクラブヘッドおよびゴルフクラブ
【課題】慣性モーメントを大きく向上することができるゴルフクラブヘッドおよびそれを備えたゴルフクラブを提供する。
【解決手段】ゴルフクラブヘッド10は、クラウン側開口1aを有するクラウン部1と、クラウン部1と対向し、かつソール側開口1aを有するソール部2と、クラウン側開口1aとソール側開口2aとを連通する内部空間ISを規定する壁部3とを備えている。クラウン部1側から見た内部空間ISの投影面積PA1は、クラウン部1側から見たゴルフクラブヘッド10の投影面積PA2の40%以上90%以下である。
(もっと読む)
アイアンゴルフクラブヘッドおよびアイアンゴルフクラブ
【課題】ギア効果を増大させることによってボールのバックスピン量を増やすことができるアイアンゴルフクラブヘッドおよびアイアンゴルフクラブを提供する。
【解決手段】アイアンゴルフクラブヘッド10は、フェース部1と、フェース部1の後方に位置するバック部2と、フェース部1とバック部2とを接続するソール部3とを備えている。重心深度GDが5mm以上7mm以下であり、フェース部1とソール部3とが接する部分に位置するリーディングエッジ部6とスイートスポットSSとの距離SDが30.3mm以上38.4mm以下である。
(もっと読む)
シューズのソール構造体
【課題】 クッション性を維持しつつ離地方向への反発力を向上させる。
【解決手段】 シューズのソール構造体1において、上方に配置された第1のプレート2と、第1のプレート2との間に間隔を隔てて下方に配置された第2のプレート3と、第1、第2のプレート2、3間において各々上下方向に配設されるとともに、第1のプレート2に連結された上端4aおよび第2のプレート3に連結された下端4bをそれぞれ有し、前後方向に間隔を隔てて配置された複数の柱状部材4とを設ける。柱状部材4の上端4aが下端4bよりも前方位置に配置されることで柱状部材4が前方に傾斜して配設されている。第2のプレート3が後方に向かうにしたがい斜め上方に傾斜する傾斜部3Aを有するとともに、柱状部材4の下端4bが傾斜部3Aに連結されており、柱状部材4の下端4bの連結部位において第2のプレート3の傾斜部3Aの下方に空隙C’が形成されている。
(もっと読む)
1 - 10 / 239
[ Back to top ]
