ミドリ安全株式会社により出願された特許
1 - 10 / 201
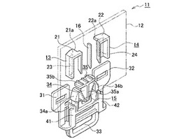
ヘルメットの内装体係止具
【課題】簡単な操作でヘルメット内面に着脱することが可能であり、且つ、経時使用による劣化を防止することが可能なヘルメットの内装体係止具を提供する。
【解決手段】ヘルメット12の縁部近傍の内側に設けられ、所定の隙間距離を隔てて配置された一対のブラケット13,14と、正面視M字形状をなし中央谷部pを下方に押圧することにより、爪部34a,34bが内側に弾性変形する弾性変形体34を有する差込部材15と、を備える。そして、爪部どうしの間隔は、隙間距離よりも若干長く形成され、差込部材15を各ブラケット13,14間に係止する際には、各爪部をブラケットの隙間に無理嵌めして爪部をブラケットに係止させる。また、差込部材15の係止を解除する際には、中央谷部pを下方に押圧し、側面部を内側に変形させて、爪部による係止を解除する。
(もっと読む)
スライド収納ヘルメット
【課題】前部帽体と後部帽体の連結部における強度を向上させ、強度的に強くすることが可能なスライド収納ヘルメットを提供することにある。
【解決手段】使用者の前頭部を覆う前部帽体12と、前部帽体の内側にスライド収納可能とされ装着者の後頭部を覆う後部帽体13とを備え、前部帽体12内面の左側、右側の双方には、円弧状長穴14aが形成された摺動ガイド部材14が設けられる。また、後部帽体13の内面の左側、右側の双方に設けられ、円弧状長穴と係合して該円弧状長穴に沿ってスライド移動する係合軸15を備える。そして、係合軸を円弧状長穴に沿ってスライドさせることにより、後部帽体を前部帽体の内側に収納する収納状態と、前部帽体に対して後部帽体を広げた使用状態とを切り替える。
(もっと読む)
絶縁抵抗測定用基台及びこれを用いた絶縁抵抗測定装置
【課題】絶縁靴のアッパー部を水濡れさせることなく該絶縁靴の絶縁抵抗を測定することが可能な絶縁靴の絶縁抵抗測定用基台、及びこれを用いた絶縁抵抗測定装置を提供する。
【解決手段】固定プレート14に支柱15を設け、該支柱15の上部に支持プレート16を設ける。そして、固定プレート14と支持プレート16との間に下部スポンジ材17を設置し、支持プレートの上面に上部スポンジ材18を設置する。そして、容器13内の支持プレートよりも若干低いレベルまで水22を注入する。この状態で上部スポンジ材18の上に絶縁靴21を載置し加圧すると、絶縁靴21の靴底21a全体が水と接触するので、絶縁靴21のアッパー部21bと容器13との間に電圧を印加し、このときに流れる電流を測定することにより、絶縁靴21の絶縁抵抗を高精度に測定することが可能となる。また、絶縁靴21内に水が浸入することを防止できる。
(もっと読む)
帯電防止靴の電気抵抗測定装置
【課題】作業者が手で電極に触れることなく帯電防止靴の抵抗値を測定することが可能な帯電防止靴の抵抗測定装置を提供する。
【解決手段】第1の電極プレート11と第2の電極プレート12を設け、帯電防止靴を着用した作業者21が、第1の電極プレート上に一方の足を乗せ、第2の電極プレート上に他方の足を乗せた状態で、各電極プレート11,12間に直流電圧を印加する。そして、この時に電線L1,L2に流れる電流を測定し、電流測定値と印加電圧とに基づいて、帯電防止靴の電気抵抗を測定する。従って、手袋を装着した作業者は、該手袋を外すことなく簡単な操作で帯電防止靴の電気抵抗を測定することが可能となる。
(もっと読む)
靴用甲プロテクター
【課題】落下物を表面に沿って移動しやすくすることにより、甲プロテクターに対する落下物の衝撃や荷重を靴に伝達しにくくした甲プロテクターを提供すること。
【解決手段】
靴の甲部に装着する湾曲させた板状の甲プロテクターであって、左右方向に亘ってゆるやかな弧状を成すように形成した先部と、上面の中央付近に前記先部から後方の端縁に亘る稜線部を設け、当該稜線部を中心とした左右の側壁が成す角度を、後方に向かうに従って次第に狭くなるように形成し、裏面に前記稜線部に沿った凸条を設けたことを特徴とする。
(もっと読む)
箱型高圧カットアウトの接地工具
【課題】型式の異なる箱型高圧カットアウトに使用でき作業者の負担軽減を図ることができる箱型高圧カットアウトの接地工具を提供する。
【解決手段】離間配置された一次側電極と二次側電極との間に過電流を遮断するヒューズ体が着脱可能に取り付けられる箱型高圧カットアウトの接地工具において、一次側電極と二次側電極との何れか一方に接続可能な接触刃43と、一次側電極と二次側電極との何れか他方に接続可能な接触刃42と、これら2つの接触刃42,43が支持されるベース部47と、2つの接触刃42,43の少なくとも何れか一方に電気的に接続される接地線81とを備え、2つの接触刃42,43のうち少なくとも何れか一方の接触刃が、互いに接近および離間する方向にスライド可能に設けられることを特徴とする。
(もっと読む)
靴
【課題】アッパーが疲労して形状を保ちにくくなったとしても、靴の履き脱ぎに支障が生じにくい靴の提供を課題とするものであり、特に救急隊員の使用に適した靴の提供すること。
【解決手段】踵周囲を覆う後部壁5と、後部壁5から連続して足の外側を覆う外側壁6および内側を覆う内側壁7と、外側壁6および内側壁7と連続して足先部分を覆う甲被8を有した靴であって、甲被8の中間に屈曲部を設けるとともに、屈曲部を中心として回動可能な舌片部を設け、外側壁6の前方上部および内側壁7の前方上部に、互いの間隔を拡大縮小可能に対向させた端縁を形成し、回動可能な舌片部に芯材として剛性の高い剛性板を内するとともに、芯材を内蔵した舌片部によって対向させた外側壁6および内側壁7の端縁を覆うように構成したことを特徴とする。
(もっと読む)
ミスト捕集装置およびミスト捕集ディスク
【課題】メンテナンスがしやすいミストの捕集効率が高いミスト捕集装置を提供する。
【解決手段】空気吸入孔11と空気排出孔13とを備えた筐体3と、筐体3の内部で回転自在に設けられ筐体3の内部を流れる空気中のミストを回転することで捕集するミスト捕集部材5と、ミスト捕集部材5で捕集されミスト捕集部材5から離れて落下してくるミスト集合体を受けるオイルパン部6と、オイルパン部6とミスト捕集部材5とを清掃しまた点検するために、筐体3に設けられた清掃用孔7と、清掃用孔7を開閉するために筐体3に設けられた清掃用扉9とを有するミスト捕集装置1である。
(もっと読む)
先芯および先芯内蔵靴
【課題】
台車の車輪のように側方から衝突する物体から足指を保護するとともに、歩行等の足の運動を妨げない先芯および当該先芯を内蔵した靴の構造を提供すること。
【解決手段】
靴先に内蔵した状態で足先を覆う先芯であって、先端壁、左右の側壁、上面壁をなだらかな曲面で連続するように形成した椀状の殻体を有するとともに、少なくとも一方の側壁に、当該側壁の後端縁を後方に延長した延長側壁を設けたことを特徴とする。当該先芯を内蔵した靴は、通常の先芯入り作業靴では保護が十分ではない足先の外側(小指)方向からの衝撃を受けた場合にも、足先を十分に保護することができるものである。
(もっと読む)
上衣
【課題】静電機構を備えているとともに作業性を確保することができる上衣を提供する。
【解決手段】導電糸を含む布地で構成され、袖部5を構成する部位19と一体で形成された後身頃7と、導電糸を含む布地で構成された前身頃9とを有する上衣1である。
(もっと読む)
1 - 10 / 201
[ Back to top ]
