株式会社エスエスケイにより出願された特許
1 - 7 / 7
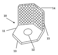
野球シューズにおけるスパイク金具
【課題】突片に高速フレーム溶射することで、超硬合金の被膜を先端部分のみならず全体に均一に形成し、前記突片全体の耐磨耗性の向上と大幅なコストダウンの両立を可能とする。
【解決手段】スパイク金具10の突片14全体に高速フレーム溶射で超硬合金を溶射し、金具の製造段階において一度に複数の突辺全体にあらかじめ定められた膜厚にて超硬合金の被膜15を形成する事で大幅なコストダウンを可能とし、前記金具の強度及び耐磨耗性の向上も可能とする事を特徴とする。また、突辺部14にブラスト処理を施し、表面を均一な粗面とした後に高速フレーム溶射を行い、前記突片14と超硬合金の被膜15の密着強度をより高める。
(もっと読む)
野球靴におけるスパイク金具の取付構造
【課題】スパイク金具の靴底への追従性を高めるとともに耐久性を向上させ、かつ突き上げ感の緩和を図る。
【解決手段】厚み:1.2mmの鋼片製スパイク金具10、20は、基板11、21とその基板から立ち上がるスパイク爪12、22とから成り、その基板は貫通孔15、25を介してアウトソール1にリベット31、ねじ32a、32bによって締結される。貫通孔は、スパイク爪を介した基板の屈曲方向に長い長孔であり、その長孔長さ方向にリベット等と隙間cを有している。このため、スパイク爪から基板が屈曲力を受けると、同図鎖線のように、基板が屈曲してもその屈曲による貫通孔周縁のリベット31への近接はその隙間cにおいて吸収されてリベットへの押圧力は極力少なくなる。このため、スパイク金具(基板)の靴底の変形、屈曲に対する追従性も高まり、スパイク爪も破損し難く、リベットを介した突き上げは抑制される。
(もっと読む)
野球靴のスパイク金具の取付構造
【課題】各スパイク爪22の立ち上がり角度θを異ならせることが容易であって、アウトソール11への締結力を高める。
【解決手段】スパイク金具20は、アウトソール下面に当てがわれる正多角形基板21とその基板の表面から立ち上がる一本のスパイク爪22とから成る。一本のスパイク爪をその基板でもって個別にアウトソールに取付ければ、その各スパイク爪の取付位置・立ち上がり角度θを任意に得ることができるため、守備位置の相違やプレーヤの癖等に十分に対応した最良位置等にスパイク爪を設けることができる。スパイク金具は、尖鋭突起24の食い込みや、アウトソールの枠40への基板の嵌め込みによってアウトソールに強固に取付ける。スパイク爪22は基板の直線状部(辺)21aから立ち上がっているため、一枚の片でもって、基板からスパイク爪を折り曲げ加工によって立ち上げてスパイク金具を得ることができる。
(もっと読む)
スポーツシューズの爪先部構造
【課題】トウガード15を包んで保護カバー20を設けたスポーツシューズにおいて、その保護カバー20と甲被14のフィット感を高める。
【解決手段】アウトソール11の爪先部を立ち上げてトウガード15を設けるとともに、シューズ本体10の爪先部にそのトウガード15を包んで保護カバー20を設けたスポーツシューズである。保護カバー20の内面にトウガード15がピッタリ嵌る凹部23を形成して、その保護カバー20の内面を甲被14の爪先部表面に接触(フィット)させる。このフィット感は、このスポーツシューズの着用時の違和感を生じさせない。このため、例えば、野球ピッチャーは、そのフィット感がないことによる投球動作に支障をきたすことがなくなる。また、設計時の保護カバー取付片22とアウトソール11底面の接触面積を確保できて、釘25をしっかり打つことができる。
(もっと読む)
胸当てプロテクター
【課題】腰ベルトの有効長さを簡単に調節でき、適切な腰ベルトの締め付け力を確保できる胸当てプロテクターを提供することである。
【解決手段】腰ベルト3の左右2箇所の部位に、腰ベルト3を形成する帯状体3aが送り込まれる枠11a内に、帯状体3aが掛け回される軸部が差し渡され、この軸部に掛け回される帯状体3aの戻りを楔で係止するバックル11を設け、このバックル11の軸部に掛け回された帯状体3aの先端側を送り込まれた元方向側へ引っ張ったときに、腰ベルト3の有効長を短くして腰の回りに締め付けることにより、着用後に腰ベルト3の締め付け力を実感できる状態で、各バックル11の軸部に掛け回された帯状体3aの先端側を引っ張って、腰ベルト3の有効長さを簡単に調節でき、適切な腰ベルト3の締め付け力を確保できるようにした。
(もっと読む)
野球用又はソフトボール用バットとその製造方法
【課題】従来のものより打球の飛距離を伸ばすことができるバットを提供する。
【解決手段】バット101のテーパー部104を含まない円筒状打球部103のバットの軸線方向の断面形状を、表面が凹状部の谷108及び凸状部の山107をバットの円周にそって交互に並列に多数条設け、且つ前記凸状部を外側に向かって丸みを帯びた曲面に形成するとともに、前記凹凸部をポリウレタンエラストマー等からなる筒状シートで被覆した金属製又は木製の野球用又はソフトボール用バット101と、テーパー部を含まない円筒状打球部のバット表面に、ローラを用いて旋盤加工により製造した金属製の野球用又はソフトボール用バットの製造方法を構成するものである。
(もっと読む)
金属製バット
【課題】弾性変形の回復スピードを上げるようにして、飛距離を伸ばすことのできるバットを課題とする。
【解決手段】中空筒体2からなる金属製バット1において、打球部3の中空筒体2内の長さ方向の先端側と手元側の両端に、バットの内径と略同じ外径の金属製、合成樹脂製、木製、竹製又はコルク製からなる剛性補強材5F,5Bを嵌挿した金属製バット1を構成するものである。
(もっと読む)
1 - 7 / 7
[ Back to top ]
