株式会社カジテックにより出願された特許
1 - 2 / 2
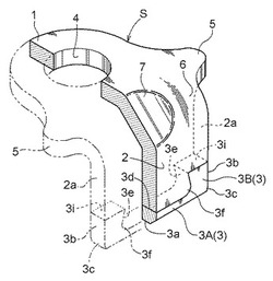
靴用スパイク
【課題】耐摩耗性部材の合理的な改造をもって、爪板部の側辺での摩耗進行に起因する折損や耐摩耗性部材の脱落を抑制して、長期にわたって確実・良好なスパイク機能を発揮させる。
【解決手段】靴底に取付け可能な取付け基部1に連設された爪板部2の先端側に、当該爪板部2よりも硬度の大きな耐摩耗性部材3が接合されている靴用スパイクであって、耐摩耗性部材3が、少なくとも爪板部2の先端の角部側において横方向に沿う横向き耐摩耗部3Aと、当該横向き耐摩耗部3Aの角部側の上面から爪板部2の側辺に沿って立ち上がる縦向き耐摩耗部3Bとから構成されている。
(もっと読む)
スパイク及びこのスパイクを備えた野球用のスパイクシューズ
【課題】高硬度部材による高い耐摩耗性を実現しつつ、且つ、使用者固有の動きや身体的特徴の個人差に応じた形状を長く保持することにより、長寿命であり、且つ足に馴染みやすくて履き心地を良好にするスパイク及びスパイクシューズを提供すること。
【解決手段】スパイク10は、突出部12と取付座11とを有する。突出部12は、突出方向の先端に位置する先端部26と、屈曲部13から先端部26に至る胴部27とにより構成されている。胴部27は炭素工具鋼鋼材で構成されている。この胴部27の両側端部にチップ22がろう接されている。チップ22は超硬合金で構成されている。
(もっと読む)
1 - 2 / 2
[ Back to top ]
