国際特許分類[A43B1/00]の内容
生活必需品 (1,310,238) | 履物 (4,053) | 履物の特徴;履物の部分 (3,598) | 材料に特徴のある履物 (37)
国際特許分類[A43B1/00]の下位に属する分類
動物または植物繊維またはそれらの織物でつくられた履物 (3)
木,コルク,厚紙,紙または類似の繊維質材料でつくられた履物 (2)
金属でつくられた履物
ゴムでつくられた履物 (8)
ガタペルチャ,セルロイド,または合成樹脂でつくられた履物 (7)
国際特許分類[A43B1/00]に分類される特許
1 - 10 / 17
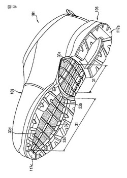
靴底複合材、それにより構成された靴製品およびそのような靴製品の製造方法
【課題】水蒸気透過性の靴底複合材を提供する。
【解決手段】上面(50)を有する水蒸気透過性の靴底複合材(105)であって、靴底複合材の厚さ全体を通って広がる、少なくとも1つの通し空洞(31)と、靴底複合材(105)の上面(50)を部分的に形成する上面、および異物の圧入を阻止する遮断体として形成され、少なくとも1つの通し空洞(31)を水蒸気が透過できる状態で閉鎖する水蒸気透過性の遮断材(33)を有する、遮断ユニット(35)とを備える。安定化部材(25)は遮断材(33)に対応して配置され靴底複合材(105)の機械的安定化のために形成される。安定化部材は、遮断材(33)の少なくとも1つの表面に配置され少なくとも1つの通し空洞(31)を少なくとも部分的に横切る少なくとも1つの安定化帯材(37)を有する。少なくとも1つの底革部材(117)は遮断ユニット(35)の下方に配置される。
(もっと読む)
シューズ用ポリエステル織編物
【課題】 高い耐摩耗性を維持したまま、ソフトな風合を有するシューズ用ポリエステル織編物の提供を目的とする。
【解決手段】 ジカルボン酸成分とグリコール成分からなる共重合体ポリエステルであって、該ジカルボン酸成分のうち80モル%以上がテレフタル酸及び/又はそのエステル形成性誘導体であり、且つ4.0〜12.0モル%がシクロヘキンサジカルボン酸及び/又はそのエステル形成性誘導体であり、且つ2.0〜8.0モル%が脂肪族ジカルボン酸及び/又はそのエステル形成性誘導体であって、該グリコール成分はエチレングリコール及び/又はそのエステル形成性誘導体を主成分とするポリエステル樹脂からなるポリエステル繊維であり、また、ガラス転移温度(Tg)及び結晶化温度(Tch)が下記の要件(a)〜(c)を同時に満足するポリエステル樹脂からなるポリエステル繊維を使用したシューズ用織編物で、高い耐摩耗性を維持したまま、ソフトな風合を有するシューズ用ポリエステル織編物を提供する。
(a)ガラス転移温度(Tg):60℃≦Tg≦80℃
(b)結晶化温度(Tch):120℃≦Tch≦150℃
(c)ΔT(Tch−Tg):50℃≦ΔT(Tch−Tg)≦80℃
(もっと読む)
エチレン樹脂組成物、架橋発泡体、履き物用部材および履き物
【課題】軽量で、反発弾性の大きい架橋発泡体を得ることができるエチレン樹脂組成物を提供する。
【解決手段】
密度が900kg/m3以上940kg/m3以下であり、メルトフローレートが0.01g/10分以上5g/10分以下であり、流動の活性化エネルギーが40kJ/mol未満であるエチレン−α−オレフィン共重合体(A1)10重量%以上90重量%以下と、
密度が800kg/m3以上880kg/m3未満であり、メルトフローレートが0.01g/10分以上5g/10分以下であるエチレン−α−オレフィン共重合体(A2)10重量%以上90重量%以下と
前記(A1)と(A2)の合計重量100重量部に対し、
架橋剤(B)0.1重量部以上10重量部以下と、
発泡剤(C)1重量部以上50重量部以下とを含有するエチレン樹脂組成物。
(もっと読む)
半加工製品の履物、被服及び装身具を防水加工するための方法及び機械並びにその方法及び機械で得られる半加工製品
【課題】半加工製品の履物、被服及び装身具を防水加工するための方法、特にその製造中の方法に関する。
【解決手段】少なくとも1つの内面と少なくとも1つの外面を伴う三次元形態を有する履物、被服および装身具を含む半加工製品であって、少なくとも1つの防水被覆(18)が全体的又は部分的に半加工製品の内面を覆い、少なくとも1つの接着剤層によってこの内面に貼り付くと共に少なくとも1片の半透膜からなり、この少なくとも1片の半透膜は半加工製品の内面側の寸法に切断され、少なくとも1つのストリップ(25)を形成するように溶着される2つの縁部を重ね合わせるように折り畳まれ、半加工製品と同様の三次元形形態を防水被覆(18)に付与した、半加工製品。
(もっと読む)
繊維構造体および繊維製品
【課題】単繊維径が1000nm以下のフィラメント糸Aを含み、かつ優れた消臭性能を有する繊維構造体および該繊維構造体を用いてなる繊維製品を提供する。
【解決手段】単繊維径が1000nm以下のフィラメント糸Aを含む繊維構造体であって、前記フィラメント糸Aが、ポリエステルにポリエチレングリコールおよび/またはその誘導体を共重合してなるポリエステル共重合体で形成されることを特徴とする繊維構造体、および該繊維構造体を用いてなる繊維製品。
(もっと読む)
軽量で耐久性のあるアパレル製品と、それを製造するためのラミネート
アパレル製品を含む軽量の防液性製品(例えばアウターウエア)を製造する際に用いられる耐久性のある外側フィルム面を有するラミネートが記載されている。このラミネートと、耐摩耗性外側フィルム面を有する軽量アウトウエアを製造する方法が記載されている。
(もっと読む)
布帛および染色布帛および繊維製品
【課題】超極細繊維特有のソフトな風合いを呈するだけでなく、優れた発色性と染色堅牢度とを有し、布帛強度が高く、環境負荷の少ない布帛、および該布帛を染色してなる染色布帛、および該染色布帛を用いてなる繊維製品を提供する。
【解決手段】単繊維径10〜1000nmのポリエステルフィラメント糸Aと、単繊維径1000nmより大の常圧カチオン可染性フィラメント糸Bとを含む布帛。ポリエステルフィラメント糸Aのフィラメント数が500本以上であることが好ましい。
(もっと読む)
繊維構造物の抗菌防臭・制菌加工方法
【課題】健康的で快適な生活環境や医療分野でのMRSA感染症を予防するための抗菌防臭・制菌剤の機能性を付与された繊維製品の技術開発が訴求されている。これら繊維構造物へ安全で省エネルギー、環境及び人体適応性に優れ、医療分野に対応可能な、更に河川排水(B.O.D)負荷軽減にも寄与し、繊維構造物の広い用途開拓をする事でありその目的に合致した耐久性のある該構造物への抗菌防臭・制菌性能を付与、向上させるものである。
【解決手段】親水性の置換基を有するジハロゲノトリアジン系化合物・多価アミノ化合物及び親水性の天然有機系あるいは有機系の抗菌防臭・制菌剤を含浸させた後、該繊維構造物を30℃〜90℃の熱処理を実施する加工工程を有することを特徴とする耐久性のある繊維構造物の抗菌防臭・制菌加工方法。
(もっと読む)
部分的に異なるせん断剛性を有する編地及びその製造方法
【課題】編地を構成材とする靴のアッパー材に使用したときに、フィット感を与え、温湿度環境をコントロール可能とする編地であり、また、かかる編地を低コストで提供する。
【解決手段】複数の構成糸が多層構造に配された多重組織からなる編地であって、部分的にせん断剛性の異なる部分を有し、せん断剛性の最大部分とせん断剛性の最小部分とのせん断剛性の比が2以上である部分的に異なるせん断剛性を有する編地を、多層構造の少なくとも一層に易溶解性繊維を或いはさらに難溶解性繊維を他層に配した多重組織からなる編地を、抜蝕剤に該易溶解性繊維の溶解剤を用いて部分的に抜蝕加工する。
(もっと読む)
繊維構造体および繊維製品
【課題】単繊維径が1000nm以下のフィラメント糸Aを含み、かつ優れた消臭性能を有する繊維構造体および該繊維構造体を用いてなる繊維製品を提供する。
【解決手段】単繊維径が1000nm以下のフィラメント糸Aを含む繊維構造体であって、前記フィラメント糸Aが光触媒微粒子を含むことを特徴とする繊維構造体、および該繊維構造体を用いてなる繊維製品。
(もっと読む)
1 - 10 / 17
[ Back to top ]
