国際特許分類[A43B11/00]の内容
生活必需品 (1,310,238) | 履物 (4,053) | 履物の特徴;履物の部分 (3,598) | 着脱を容易にする装置,例.つまみを有するもの,を有する履物 (24)
国際特許分類[A43B11/00]の下位に属する分類
くつべらを取付けたもの (5)
国際特許分類[A43B11/00]に分類される特許
1 - 10 / 19
圧力で履ける靴
【課題】 靴を履く際、靴内挿入時の足の圧力を足自身に還元して、何の手操作も必要なく、足の圧力のみで履くことができるようにした靴を提供する。
【解決手段】靴の、踵部上縁(6)より内側部(5)に至って滑り体(7)を設け、その滑めらかな表面は、踵部上縁(6)から内側部(5)にかけて、曲線的傾斜度Sを形成して構成し、靴を履く際、靴内挿入時の足(8)が傾斜度Sに接したときの足の圧力のモーメントは、靴の前方向A及び、後方向Bに分散され、前方向Aに分散された力は、足(8)を靴の内部前方に押し入れる作用として働き、後方向Bに分散された力は、踵部上縁(6)を後方向に押して履口(1)を広げる作用として働き、直後に発生した反作用は、前方向Aに加算されて働くことなどにより、手作用なく足の圧力のみで簡単に靴が履くことができる。
(もっと読む)
ブーツクリップ付きブーツ・長靴脱ぎ靴ベラ
【課題】 足にぴったりフィットしたブーツ・長靴が直接手でひっぱらずに簡単に脱げ、脱いだ後のブーツの整理整頓もできる靴ベラを提供する。
【解決手段】 靴ベラの先を略U字状の二股の形(1)にし、それぞれの2つの先に弾性体の滑り止め(2)を設ける。持ち手部分には、ブーツをはさめる幅の切れ込み、いわゆるクリップ部分(3)を設けることを特徴とする。
(もっと読む)
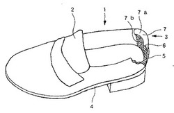
履物
【課題】 フィッティングのよい履物を提供する。
【解決手段】 履物は、履口の踵側に配置されたカウンターと、カウンターの上部に設けられた切り欠き部と、切り欠き部の間隔を調整する調整手段とを有する。調整手段は、例えば、切り欠き部を跨いで設けられたベルトであり、切り欠き部の間隔は、ベルトの長さによって調整される。このような履物は、例えば、既存の履物の踵側のカウンターの上部に切り欠き部を設ける工程と、切り欠き部の間隔を調整する調整ベルトを、カウンターに設ける工程とによって、製造される。
(もっと読む)
履き心地を良くした靴ベラ機能付与器具及び靴ベラ不要靴
【課題】 靴を履かない静置条件において、靴の上部の開口状態と後部の形や硬さを保持し続けて、常に人が靴を履き易くする状況をつくり、靴を履く力に素早く対応して円滑性を高めた後、靴を履き終った後の足首の固定を自然に行うと同時に、歩行時に違和感無く足の筋肉運動に連動して作用する機能器具を付滞する、履き心地を良くした靴ベラ不要靴を提供する。
【解決手段】 コの字型の可撓性板状物質(1)下部の2つの外側部位(2)および(3)と2つの内側部位(4)および(5)で構成する面を、(2)と(3)、(4)と(5)が共に距離を近づけるように部分円状に曲げ、上部の一方の先端稜部(6)と(2)および(4)で構成する面並びにもう一方の先端稜部(7)と(3)および(5)で構成する面を、(6)と(7)が距離を遠くするように、共に部分円状に曲げた反発弾性発現型成形物を靴の開口部分(9)の後部に密着させた靴ベラ不要靴である。
(もっと読む)
早履き靴
早履き靴により、ユーザが素早く履け、着用の準備ができるようになる。この靴は、多様なスタイル及び機能の靴を含む、多様な靴の種類のうちの任意のものであってよい。靴の早履きの特徴は、靴の靴底部分などの部分に取り付けられて加圧下で靴の一部分を移動させてユーザの足が靴に素早く入るようにする、さまざまな可動要素を利用する。可動要素は、可撓性要素、本来の姿勢の記憶を有するように構成された要素、磁性要素、及び/又は弾性要素を含んでよい。 (もっと読む)
手を使わないらくらく靴べら
【課題】靴を履く場合、踏んで傷めてしまいがちな踵部分、垂れ下ってついつい押し込みがちなつま先方ベロ、履きにくいきっちりした前ゴム部分を手を使用せずに履きやすくした靴べらの提供
【解決手段】靴べら素材は足を滑り込ませやすいプラスチック等を使用し図1の様な形に形成、靴を抑える部分(A)、滑り込ませ部分(B)、中まで導入させる部分(C)からなり、靴をはく場合あらかじめ靴に取り付けて使用し、履いた後に取り外す。
(もっと読む)
長靴脱ぎ器
【課題】農作業を終えた長靴をはいた者、またはブーツをはいた者が、手を汚すことなく、姿勢を崩すことなく、所作良く、快適に長靴・ブーツ等の履物を脱げる器具を提供すること。
【解決手段】長靴・ブーツ等の履物の踵をひっかけて脱がす補助板6を先端に備えた板部5に、脚とその上部に座面を備えた椅子部を乗せることによって固定し、座った状態で長靴・ブーツ等の履物を脱ぐ事ができる構造を採る。座面1に座り、踵を補助板6に引っ掛け靴を脱いだあと板5に足を乗せる。その後別の履物にはきかえるか、室内に上がる。
(もっと読む)
踵(かかと)部分を開口、開閉式とした靴
【課題】 従来、靴を履きやすくするための工夫はなされてきたが、踵部分に開口部を設け、履きやすくすると同時に足とのフィット感を調整する靴はなかった。これを解決し、踵部分を開口、開閉式とし、フィット感も調整できる靴を提供する。
【解決手段】 靴の踵部分に開口部を設け、開いて履きやくすると同時に、開口両端にマジックテープを取り付け、開口部分を覆うため底部が靴と一体となるカバー片を設け、それの両端にもマジックテープを取り付け、靴を履いた後カバー片と開口部分をマジックテープで取り付けて閉じる方式の、踵部分を開口、開閉式とした靴。
ワイパーに取り付けるブレードのスキージ部分を多列化する。
(もっと読む)
靴
【課題】
靴ベラや手を使う必要がなく、容易かつ短時間に靴の着脱を行うことができ、しかも履き心地がよく、外観上の見栄えも良い靴を提供することを目的とする。
【解決手段】
靴踵部4の内側に一端が取り付けられた板バネ12を備え、前記板バネ12は、不使用時には靴踵部4から離れて靴の取付箇所に対して傾斜を保ち、また使用時には足が靴の中に挿入されるにつれて前記板バネ12の付勢力に逆らって靴踵部4に近接する。
(もっと読む)
滑り機を装着した靴
【課題】 本発明は、いつ、何処でも手軽に履けるように、滑り機を装着した靴を提供する。
【解決手段】 踵部から、その内壁に沿って上部の縁を巻き込む形でスライド板を装着し、スライド板の下部は中敷に接合し、スライド板上部に取っ手を設けたことを特徴とする滑り機を装着した靴。
(もっと読む)
1 - 10 / 19
[ Back to top ]
