国際特許分類[A43B13/14]の内容
生活必需品 (1,310,238) | 履物 (4,053) | 履物の特徴;履物の部分 (3,598) | 底;底とかかと底とが結合されたもの (1,127) | 構造に特徴のあるもの (717)
国際特許分類[A43B13/14]の下位に属する分類
接合された底 (24)
弾性底 (162)
滑り止め底または耐摩耗の底,例.充てんによるものまたは耐摩耗層の塗着によるもの (175)
国際特許分類[A43B13/14]に分類される特許
51 - 60 / 356
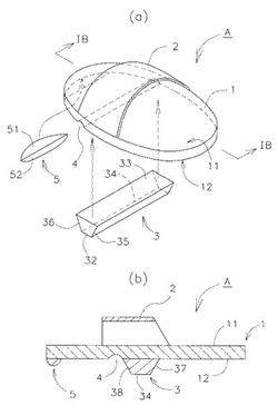
履物
【課題】 直立姿勢において安定することができるとともに、ソール部分の湾曲を想定したソール部分を有し、無理のない足首周辺の運動を可能にする履物を提供する。
【解決手段】 略楕円形表面の長軸方向を前後に向け、下面を接地面とし上面を足裏当接面とするソール部1と、ソール部に連続して設けられ足甲付近を被覆する被覆部2とを備えた履物において、ソール部の接地面12の長軸方向中央よりも前方に、接地面と略平行な面34を有するとともに、長手方向を接地面の短軸方向に向けて設けられた断面略台形の突起部3と、突起部に対してソール部の前方側に突起部に隣接しつつ、長手方向を接地面の短軸方向に向けて接地面を切欠いてなるスリット部4と、ソール部の前方先端付近の接地面側を隆起させてなる隆起部5を備える。
(もっと読む)
靴の踵部分開閉機構
【課題】踵を収納する踵ホルダが靴を履いた状態において確実に保持されるので履き心地にはなんら問題のない靴の踵部分開閉機構を提供することを目的とするものである。
【解決手段】L字形の踵ホルダと、該踵ホルダをその後端部に取り付けた回動軸によって回動可能に保持する踵受け台と、該踵受け台上に設けた前記踵ホルダの足底部を常態で上向きに付勢する踵ホルダ弾性支持部材と、前記踵受け台を前後に移動可能に取り付けた靴踵部を有し、
前記踵受け台と靴踵部の前方位置との間に弾性体バネを固着して、前記踵受け台を前方に引き付けるように付勢し、
前記踵ホルダ弾性支持部材の下面に設けたフックが、前記靴踵部の上面に設けた前記フックの係合部に係合して前記踵ホルダを正常位置に保持することができるようにした。
(もっと読む)
ダイエット&バランスウォーキングシューズ
【課題】歩行癖は現代人の健康維持に著しく悪影響を与えるものである。
健康維持及び増進のための、歩行癖改善用具としてのウォーキングシューズを提供する。
【解決手段】靴底を左右方向の山型とし、使用時の接地面積を極端に減少させることで、使用者に左右前後の身体バランスを要求し、バランスのとれた歩行運動を身につけられるようにした。
(もっと読む)
靴底
【課題】瞬間的に走行状態に切り替える際、爪先部による蹴上げ動作による力が効率良く地面に伝達し、且つ、蹴上げ及び着地時の足裏に対する負荷を最小限にする。
【解決手段】靴底1と爪先の先端3と地面が形成する角度を5〜30度の範囲に設定し、靴底1の内部において、第1中足骨頭の種子骨に対応する箇所に、デュロメータ硬度計で80〜90度(JAタイプ)の弾性プレート4を挿入し、さらに、デュロメータ硬度計で50〜70度(JAタイプ)で底部に突起8を有するクッション部材6を積層一体化する。
(もっと読む)
クリート保護靴カバー
【課題】本発明は、クリート靴又はスパイク靴のクリート又はスパイクも保護し且つ床も保護し、また経済的、快適、及び機能的なようにするクリート保護靴カバーに関する。
【解決手段】クリート保護靴カバー(30)は、係合部(60と62)又は弾性材料のどちらかから形成され且つその頂部に形成された靴開口部を有する上部部分を有する。クリート保護靴カバー(30)は、伸縮性であり、またクリートが入りこめる領域(40,42)を設けることにより、クリート靴と係合し、クリートが床面から損傷を受けないよう又は床面を損傷しないようにしている。
(もっと読む)
釣用靴
【課題】岩場のような凹凸表面がある釣り場であっても、靴底が滑ることなく、安定して歩行することが可能な釣用靴を提供する。
【解決手段】本発明の釣用靴1は、靴本体の底面に靴底10を固定している。靴底10には、周囲に当接面15aを具備した高い突起15と、当接面15aを受ける受け面20aを具備した低い突起20が交互に配設されている。そして、高い突起の当接面15aと前記低い突起20の受け面20aは、高い突起15が倒れて当接面15aが受け面20aに当接した際、高い突起15の当接方向の動きを規制すると共に、当接方向と異なる方向の動きを規制するように構成されている。
(もっと読む)
靴
【課題】本発明に係わる靴は、合成樹脂発泡体からなる靴底を有する軽量な靴であって、歩行時や走行時において、適度な反発性及び屈曲性有するとともに安定性に優れた靴底を有する靴に関するものである。
【解決手段】本発明に係わる靴は、合成樹脂発泡体からなる靴底を有する靴であって、靴底の接地面側に、不踏部前方より屈曲部を含む爪先部までの領域に、少なくとも1本のプレートが設けられ、前記プレートは、靴底を構成する合成樹脂発泡体と比べて剛性が高く、高弾性であることを特徴とするものである。
(もっと読む)
釣用靴
【課題】岩場のような凹凸のある釣り場であっても、滑り難い釣用靴を提供することを目的とする。
【解決手段】本発明の釣用靴1は、靴本体の底面に靴底10を固定している。そして、靴底10は、複数のピン状突起12と、それぞれのピン状突起12と靴底の周縁10Eとの間に配置される複数の板状突起20とを有することを特徴とする。
(もっと読む)
履物用シャフト配置及びそれを含む履物
本発明の履物(98)用シャフト配置(100)は、水蒸気透過性の取付けソール(36)とシャフト底部機能層積層体(38)を有するシャフト底部(34)と、表地プライ(24)とライナープライ(26)を有するシャフト領域(23)から構成される。ソール側シャフト端部領域は、シャフト底部(34)に連結され、シャフト領域(23)の表地プライ(24)とライナープライ(26)の間の領域からシャフト底部機能層積層体(38)の下の領域に湿気が運ばれるように、シャフト領域(23)の表地プライ(24)とライナープライ(26)の間の領域からシャフト底部機能層積層体(38)の下の領域に延びる少なくとも1個の吸引部材(102)が備える。 (もっと読む)
履物及び中敷
【課題】使用者が足裏の正しい箇所に体重をかける行為を促す機能を備えた履物及び中敷で、使用者がより自然に近い状態で直立が出来る履物及び中敷を提供する。足裏の体重をかけるべき正しい箇所とは、踵の箇所、親指の付け根の箇所、小指の付け根の箇所の3か所である。
【解決手段】履物及び中敷の、足裏が接する面の、踵と小指の付け根の箇所の接する位置を除いた、使用者の体に対して外側の箇所1を、切除したり足裏が接しない程度に周辺の面に比べて凹ませたりする。
(もっと読む)
51 - 60 / 356
[ Back to top ]
