国際特許分類[A43B13/16]の内容
生活必需品 (1,310,238) | 履物 (4,053) | 履物の特徴;履物の部分 (3,598) | 底;底とかかと底とが結合されたもの (1,127) | 構造に特徴のあるもの (717) | 接合された底 (24)
国際特許分類[A43B13/16]に分類される特許
1 - 10 / 24
四方向で使用出来る二層式靴踵
【課題】お気に入りの靴を長く愛用する目的で、摩耗した靴踵の四方向への取付位置の変更や部品の交換が手軽に行える二層式靴踵を提供する。
【解決手段】 二層式靴踵において、靴踵上層部(1)の中空内に相互の軸が直角に交差した上、歯車が噛み合っている大小一対の傘歯車を設置するとともに、軸が垂直となる傘歯車大(3)の軸内にめねじを刻設し、靴踵下層部(2)に頭部を埋設して固着したおねじ(7)と連結する。その上で靴踵上層部(1)と靴踵下層部(2)の接合動作および分離動作を靴踵上層部(1)の側面から操作する為に、靴踵上層部(1)の側面に水平孔を貫通させて傘歯車小(4)のねじ穴付き頭部を挿設する。また、靴踵上層部(1)と靴踵下層部(2)の接合面の内部形状が四角柱形の面対偶であり、外形が円柱形である靴踵。
(もっと読む)
靴の製造方法
【課題】歩いているときや立っているときにかかわりなく、履き心地が良好である靴の製造方法を提供する。
【解決手段】靴底材2の上側に中敷き4を、土踏まずに対応する部分を含む後側部分4aを除き、接合する。それから、靴底材2と中敷き4の後側部分4Aとの間に、中敷き4の後側部分4Aに対応する大きさを有し前記土踏まずを支持する調整パッド5を挟み込み、中敷き4の後側部分と調整パッド5とを接合して一体化する。この調整パッド5としては、販売店の店頭などにおいて、複数種類のうちから、靴1を履く使用者の前記土踏まずに対応したものを選択して使用する。
(もっと読む)
ヒールを有する靴の中底とこれを用いた靴
【課題】 ヒールを有する靴において、細いヒールで地面から衝撃を受けても衝撃を吸収するヒールを有する靴の中底を提供する。
【解決手段】 靴1の爪先部7からかかと部4の後端4bまでの大きさの中底3の、かかと部4の後端4bから土踏まず部5の前端5aまでの後部表面層6を硬質ボード8から形成し、該硬質ボード8の裏面の縦方向中央部6aにシャンク9を設けて固着し、シャンク9の後部9bの上の該硬質ボード8にヒールネイル11の頭部11aを自由に通す頭部貫通孔12を設けて、中底後部上面材14と弾性のプラスチックフォーム中間層15を貼り、プラスチックフォーム中間層15の裏面に中底3の大きさのボール紙芯材16を貼り、さらに土踏まず部5の前端5aより後方のボール紙芯材16の裏面に、かかと部4の後部表面層6の上部硬質ボード8aと同材質の下部硬質ボード8bを貼って一体化してなる、ヒール2を有する靴1の中底3。
(もっと読む)
改良型ソールを有するシューズ
【課題】ユーザーの足または脚における負傷の発現を著しく低減し又はなくすことができ、かつ快適に使用することができるスポーツシューズを提供すること。
【解決手段】ソール(2)の接地面(8)は第1サポート部分(31)を有し、第1サポート部分は、側方縁(6)から内側縁(7)に至るまで前端(5)に沿って延びる第1区分(32)と、第1区分から後端(4)の方向に、かつ側方縁から中足骨ゾーン(23)内の内側縁の方向に延びる第2区分(33)とを備える。接地面は、第1サポート部分の第1区分(32)から後端(4)の方向に、かつ第1サポート部分の第2区分(33)から中足骨ゾーン(23)内の内側縁の方向に延びる第2サポート部分(34)を有する。第1サポート部分の平均摩擦係数は第2サポート部分の平均摩擦係数よりも大きい。
(もっと読む)
靴のインソール
本発明は、靴の内部に挿入されるインソールに関するもので、ヒトの前足部(A)、中足部(C)及び後足部(B)の各足裏に接し、靴の内部に挿入されるインソールにおいて、インソールが区域別に相違する硬度を有する複数個の素材からなるが、各素材が結合して一つの層になることを特徴とし、好ましくは、内部に前記各足部(A)(B)(C)のいずれか一つに対応するように、前足部ホール(11)、中足部ホール(13)、後足部ホール(12)のいずれか一つが形成されたベースプレート(10)と、前記各ホール(11)、(12)、(13)のいずれか一つに挿入される前足部の支持部(21)、中足部の支持部(23)、後足部の支持部(22)のいずれか一つ以上を含むインナープレート(20)からなり、前記ベースプレート(10)とインナープレート(20)の硬度が相違する材質に製造された靴のインソールに関する。 (もっと読む)
運動競技用シューズ
【課題】トラック競技に最適なできる限り軽い靴を提供する。
【解決手段】実質的に不撓性の材料から作製されるつま先部70、可撓性材料から作製されるボール部分80、および実質的に不撓性の材料から作製されるインステップ・かかと部分90を有する履き物10用のソール20に関する。実質的に不撓性の材料は熱可塑性エポキシ樹脂中の炭素繊維であり、可撓性材料は熱可塑性エポキシ樹脂中のアラミド繊維である。このソールを有する製造されたシューズおよびシューズの製造方法も開示する。
(もっと読む)
靴用のソールユニット及びそれを有する靴
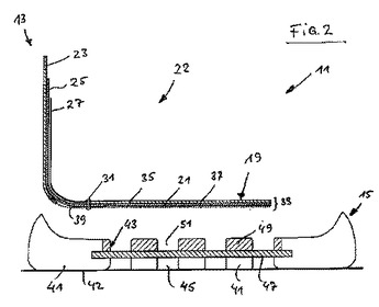
本発明は、アウトソール材料から構成され、できれば多数の部分片から形成され、及び/又はその下に配置されたアウトソール部分を有するアウトソール層41であって、このアウトソール層が周領域の内側で、アウトソール層41の上側から延びる肉抜き部43によって厚みを減少されており、かつその厚みを貫いて延びるアウトソール層貫通穴45を有するアウトソール層を有する水蒸気透過性のソールユニット15を提供する。ソールユニット15は、アウトソール層41の肉抜き部43内に少なくとも部分的に配置され、肉抜き部43の高さの一部だけにわたって延びる水蒸気透過性のバリア層47を有し、バリア層が、異物の突き抜けに対抗するべく構成されたバリア材料によって形成されている。ソールユニット15は、肉抜き部43内でバリア層47の上方に配置された水蒸気透過性のコンフォート層49を有し、コンフォート層が、アウトソール材料よりも小さい硬度及び/又は小さい比重を有するコンフォート層材料によって構成されている。
(もっと読む)
分割式靴底
【課題】捻挫を防止するための靴を提供する。
【解決手段】靴底を三つの部分1,3,4に分け、その間を伸縮性のある弾性体2つなぐことを特徴とする。
(もっと読む)
軽量ソールアセンブリを有する履物物品
【課題】甲部と該甲部に固定されたソールアセンブリ(14)とを含む履物物品を提供する。
【解決手段】甲部と該甲部に固定されたソールアセンブリは、下部地面係合表面を有する第1の部分(26)と、上面(27)と、上面内に形成された凹部(28)とを含む。第1の部分の上面は甲部と接触する。第2の部分(36)は第1の部分の凹部内に配置されかつ上面(42)を有し、第2の部分の上面は甲部と接触する。第2の部分は0.25g/cm3未満の密度を有する発泡材料を含む。
(もっと読む)
底のデザインを自由に作成できる履物
【課題】 底のデザインを自由に作成できる履物を提供する。
【解決手段】 底に自分の好み又は目的に応じ溝を作成するために、溝および突起を設けずに、自分で溝、突起等を自由に作成できるようにした履物。
(もっと読む)
1 - 10 / 24
[ Back to top ]
