国際特許分類[A43B13/18]の内容
生活必需品 (1,310,238) | 履物 (4,053) | 履物の特徴;履物の部分 (3,598) | 底;底とかかと底とが結合されたもの (1,127) | 構造に特徴のあるもの (717) | 弾性底 (162)
国際特許分類[A43B13/18]の下位に属する分類
空気底 (66)
国際特許分類[A43B13/18]に分類される特許
21 - 30 / 96
履物
【課題】接地時に足にかかる衝撃を素早く吸収することができる履物を提供する。
【解決手段】履物Aのミッドソール3は、アウトソール1上に設けられた下側部材31と、その上方に間隔をあけて設けられ該下側部材31に略平行な上側部材32と、下側部材31の前端近傍に位置し、該下側部材31と上側部材32とを繋ぐように該下側部材31上に立設した前方支持部材33と、下側部材31の後端近傍に位置し、該下側部材31と上側部材32とを繋ぐように該下側部材31上に立設した後方支持部材34と、前方支持部材33と後方支持部材34との間に形成され、アウトソール1の長手方向を横断すると共に略水平方向に貫通する間隙36とを有し、前方支持部材33および後方支持部材34のそれぞれは、上側部材32と下側部材31との間において内足側から外足側に亘って設けられている。
(もっと読む)
歩行促進効果を有する履物
【課題】 格別な訓練、習熟を伴わなくとも使用しただけで、自然に足が前に踏み出されるような支援を受けることができ、且つ歩行状態でないときの使用感も自然な状態を得ることができる新規な履物の開発を試みたものである。
【解決手段】 本発明の歩行促進効果を有する履物Fは、アッパ1とソール2とを具え、前記ソール2は、本底20と中底21とを具えるものであり、前記本底20の前方下面は、静置状態で接地面より離れる浮き上がり部が形成されているものであり、一方前記中底21は保形ソール22と、クッションソール23とを具え、且つ前記保形ソール22は、足長方向のほぼ中間部位に下方に突出する踏み抜き案内支点220を具え、この踏み抜き案内支点220の前後に前側クッションソール232と、反発用スプリングが組み込まれたヒール側クッションソール231とが配設されていることを特徴ととして成るものである。
(もっと読む)
衝撃吸収部材が入れ替え可能な靴底
【課題】衝撃吸収部材が入れ替え可能な靴底を提供する。
【解決手段】本発明は衝撃吸収部材が入れ替え可能な靴底に係り、さらに詳しくは、履物が完成されて着用される状態でも着用者の足状態、路面の状態及び歩行動作などに応じてその状況に合う衝撃吸収部材に随時入れ替えることができて使い勝手を向上させた衝撃吸収部材が入れ替え可能な靴底に関する。
本発明によれば、側面に空き空間が形成されていることから、着用者の足状態、路面の状態及び歩行動作などに応じてその状況に合う吸収力やクッション感を持ったエアーバッグ、クッション部材及びバネからなる衝撃吸収部材の群から選ばれたいずれか1種を随時入れ替えて使用することができ、その結果、使い勝手が向上する。
のみならず、単一の履物をもって異なる衝撃吸収力を持った履物を実現することができ、経済性に富んでいるというメリットがある。
(もっと読む)
靴、特に運動靴
本発明は靴底(1)を有する靴、特に運動靴に関し、靴底(1)は少なくとも1つのばね要素(2)を含み、ばね要素は、水平かつ靴底(1)の長手方向(L)に垂直な向きの軸(Q)の周方向の靴底(1)の曲げ剛性を増大させる。別個の手段を用いずに、つまり、ばね要素を挿入せずに、十分な曲げ剛性とばね特性をそれぞれ有する靴底を備える靴を作製するために、本発明は、靴底が少なくとも1つのばね要素(2)のための少なくとも1つの受入溝(3)を含むよう提案し、ばね要素(2)は、靴底(1)に対して少なくとも伸張部の一部に沿って長手方向(L)に相対的に摺動可能に配置される。 (もっと読む)
ヒールクッションシステムを持つ履物
【課題】 ヒールクッションシステムを持つ履物を提供する。
【解決手段】 ヒールクッションシステムは、ソールと、湾曲プレートと、トレッド部材とを含む。トレッド部材は、ソールのヒール部分を地面の上方に持ち上げる。湾曲プレートは、ソールに力が加わったときに撓む。
(もっと読む)
弾性手段付き履物
本発明は弾性手段付き履物に関し、製造し易く、且つ弾性性能に優れた弾性手段付き履物を提供する。この目的を達成するために、その設置される周辺部よりも高弾性の材質から形成される弾性キャップと、前記弾性キャップに形成される円錐状の載置溝と、前記弾性キャップとは別途に形成され、前記載置溝の円錐状と同じ円錐状に成形されて前記載置溝に内設されるバネと、を備えることを特徴とする履物が提供される。これにより、本発明は、バネと弾性ブロックが同時に内設される履物を一層容易に製作することができ、欠陥のない優れた品質の履物を製作することができるという効果がある。 (もっと読む)
分岐した流体充填チャンバーを組み込んだ底部構造を有する履物
【課題】圧縮が進行すると剛性が高くなるチャンバーを備えた履物を提供する。
【解決手段】この履物は、アッパー、およびアッパーに固定された履物の底構造を有する。履物の底構造は、流体が充填されたチャンバーと、チャンバーの少なくとも一部を取り囲んでいる発泡ポリマー材料とを含む。チャンバーは、第一の表面と、第一の表面の反対側の第二の表面と、第一の表面および第二の表面の間で延びる側壁とを含む。第一の表面、第二の表面および側壁は、チャンバーの中央部分から外側に向かって放射状に延びる複数の分岐部を規定している。発泡ポリマー材料は、履物の底構造の側面の一部を規定しており、分岐部の先端は、履物の底構造の側面に露出して、当該側面の他の部分を規定している。
(もっと読む)
ヒールサポート付きミッドソールを有する靴
ヒールサポート付きミッドソールを有する靴を開示する。この靴は効率的な靴製造方法およびシステムを利用して容易に生産できるように特別に設計する。各実施形態では靴アッパーをフラット成形プロセスによって設計する。また、各実施形態ではアッパー型材と2重硬度ミッドソール構造体とを結合させることによりヒールサポートを提供し、靴アッパーにおけるヒールカウンターの必要性を排除することができる。 (もっと読む)
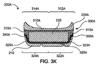
フットウェア製品
フットウェア製品(100)は、フットウェアアッパー(110)に固着されたソールアセンブリ(200、200A、200B、200C)を含む。ソールアセンブリは、ソールアセンブリのヒール寄り部分(202、202A、202B、202C)に実質的に配置されたデッキアセンブリ(300、300A、300B、300C)を含む。デッキアセンブリは、アッパーデッキ部分(310、310A、310B、310C)、ロワーデッキ部分(320、320A、320B、320C)、ならびにアッパーおよびロワーデッキ部分の右左それぞれの部分の右左それぞれの側縁(313A、313B、313C、323A、323B、323C、315A、315B、315C、325A、325B、325C)に実質的に近いところでアッパーおよびロワーデッキ部分の右左それぞれの部分(312A、312B、312C、322A、322B、322C、314A、314B、314C、324A、324B、324C)に取り付けられた右左の支持体(330A、330B、330C、340A、340B、340C)を含む。デッキアセンブリは、アッパーデッキ部分とロワーデッキ部分との間に空洞(305A、305B、305C)を画定し、かつソールアセンブリのヒール寄り部分によって受ける接地力の移動を少なくとも部分的に側方外方向に向ける。
(もっと読む)
緩衝材並びにこの緩衝材を具えたシューズ
【課題】 新たな緩衝作用及び視覚効果並びに重心移動の誘導機能を有する緩衝材並びにこの緩衝材を具えたシューズの開発を技術課題とした。
【解決手段】 要緩衝基材に組み込まれ、弾性変形することにより衝撃を緩衝する部材であって、踵圧部2と、この踵圧部2を中心とした扇形状に展開する要変形部3とを一体的に具えて成るものであり、要変形部3に対して、深さ方向に肉抜部5を形成することにより荷重を受けた際の変形度合いが調節されて成るものであり、且つ、肉抜部5は露見面30から透視可能に構成されていることを特徴として成るものであり、要変形部3が扇形状に展開する形状となっていることにより、荷重が加わった個所が沈み込んだ状態で変形した際に、その両側が持ち上がるように変形するため要変形部3の幅方向のバネ作用による緩衝作用が発揮される。またこのような要変形部3の変形状態を肉抜部5の変形として外部から視認することができる。
(もっと読む)
21 - 30 / 96
[ Back to top ]
