国際特許分類[A43B13/18]の内容
生活必需品 (1,310,238) | 履物 (4,053) | 履物の特徴;履物の部分 (3,598) | 底;底とかかと底とが結合されたもの (1,127) | 構造に特徴のあるもの (717) | 弾性底 (162)
国際特許分類[A43B13/18]の下位に属する分類
空気底 (66)
国際特許分類[A43B13/18]に分類される特許
71 - 80 / 96
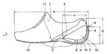
靴、特に運動靴
本発明は、靴、特に運動靴において、シューズアッパー(1)とソール(2)とが設けられており、ソール(2)が、着用者の足の踵領域を収容するために形成された、シューズアッパー(1)と固く結合された支持/内側部分(3)と、該支持/内側部分(3)に結合されたソールエレメント(4)とを有する形式のものに関する。靴のばね剛性もしくは緩衝特性の経過を改良するために、本発明では、支持/内側部分(3)とソールエレメント(4)とが、靴長手方向(L)で見て支持/内側部分(3)とソールエレメント(4)との延びの少なくとも一部分にわたって、互いに離間されており、支持/内側部分(3)とソールエレメント(4)との結合が、互いに離間された2つの個所(5,6)で、着用者の足の踵領域の下方に、ギャップ(7)、特にエアギャップが、支持/内側部分(3)とソールエレメント(4)との間にもたらされるように行われ、ギャップ(7)が、ソール(2)の全幅にわたって少なくとも部分的に延びており、ソールエレメント(4)が、靴の後方の端部領域で、支持/内側部分(3)に結合されているようにした。
(もっと読む)
シューズ、特にスポーツシューズ
本発明はシューズ、特にスポーツシューズであって、シューズアッパー(1)とソール(2)とが設けられており、この場合、前記ソール(2)の上側または前記ソール(2)内に緩衝エレメント(3)が配置されている形式のものに関する。緩衝エレメントのばね剛性をばね経路にわたって改良するために本発明は、緩衝エレメントが、横断面でほぼU字形または槽形に形成された複数の緩衝体(5)の上側の第1のグループ(4)を有しており、前記緩衝体(5)が、それぞれ結合区分(8)と結合されている2つの脚部(6,7)を有しており、前記緩衝エレメント(3)が、横断面でほぼU字形または槽形に形成された複数の緩衝体(10)の下側の第2のグループ(9)を有しており、前記緩衝体(10)が、それぞれ結合区分(13)と結合されている2つの脚部(11,12)を有しており、前記緩衝エレメント(3)が介在支持体(14)を有しており、該介在支持体(14)が、前記緩衝体(5;10)の前記両グループ(4;9)の間に配置されており、前記介在支持体(14)に前記脚部(6,7;11,12)が、前記結合区分(8;13)から離間された前記脚部(6,7;11,12)の端部で接しているか、または前記介在支持体(14)に前記脚部(6,7;11,12)が結合されており、各前記緩衝エレメント(5;10)の隣り合った前記脚部(6,7;11,12)が、接合個所(15,16)において互いに隣接しているかまたは互いに結合されており、前記上側の緩衝体(5)の前記接合個所(15)と前記下側の緩衝体(10)の前記接合個所(16)とが、前記緩衝エレメント(3)の長手方向(L)でずらされて前記介在支持体(14)に配置されている。
(もっと読む)
補強構造と流体で満たされた袋状部材とを有する履物
【課題】履物の底要素および履物の底要素の製造方法が開示される。
【解決手段】一般に履物の底要素は、流体を充填した袋状部材30と、袋状部材の周囲に延びる補強構造40とを含む。補強構造は袋状部材の外部に接着されており、袋状部材内に埋め込まれていてもよい。いくつかの実施形態では、補強構造が袋状部材の側面に沿って、かつ袋状部材の上側および下側表面の間に延びている。履物の底要素を製造する際には、補強構造を金型内に配置して、成型工程中に、袋状部材を形成するポリマー材料を補強構造に接合してもよい。
(もっと読む)
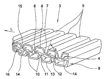
靴底の緩衝装置
【課題】靴底の緩衝装置の構造を工夫することで緩衝性を向上させる。
【解決手段】エラストマーからなる下層2および上層3を備えた靴底の緩衝装置に関する。下層2および上層3は各々、下面20,30および上面21,31を有する。下層2の上面21および上層3の下面30を、断面形状が概ね波形に形成する。波形は、各々、複数の頂部22,32、底部23,33、ならびに、頂部22,32と底部23,33とを連ねる斜面部24,34を有する。波形形状の上面21と下面30とは互いに歯合しており、互いに歯合する2つの面21,30が、これらの面21,30の斜面部24,34同士において互いに接触している。互いに歯合する2つの面24,34は、頂部22,32および底部23,33の少なくともいずれか一方において互いに離間しており、当該離間している部分に空隙4を形成している。
(もっと読む)
マットソックスとしての履物
本発明は、新しい概念に基づく機能的な履物に関し、このような履物は足の形状に適合し、かつ、歩行時に柔らかな感触を付与するものである。そのような履物は、足の上部を覆いかつ固定するための上部足固定部分(1)と、上部足固定部分に取り付けられて、足の下部を支持するための足支持部分とを備える。足支持部分は、軟質の弾性体を有する弾力マット(2)を備え、足の形状に応じて変形可能である。この履物は、単純な構造を有し、かつ、スポンジマットや、柔らかいカーペットのような芝生の上を裸足で歩いているような感触を付与して、歩行時に着用者に完璧な履き心地を提供することが可能である。
(もっと読む)
靴底
本発明は、滑り止めハニカム断面を有する上部第1外部内底表面(1)と、衝撃が吸収されることを可能にする垂直ポリプロピレン繊維(5)の形状をなす三次元テキスタイル構造(4)と、高い抗菌及び抗真菌性を有するポリエステルでできた高強度表面を有する下部第2外部表面(3)とを備えた多層複合体からなる靴底に関する。
(もっと読む)
衝撃及び/又は振動吸収材料並びにそれを使用した保護用品
【課題】衝撃及び/又は振動吸収性を向上させる。
【解決手段】本発明に係る衝撃及び/又は振動吸収材料5は、可撓性高分子材料から構成され、複数の孔20を有する第1の衝撃及び/又は振動吸収材料層10と、前記第1の材料層よりも硬い材料から構成され、複数の孔25を有する第2の衝撃及び/又は振動吸収材料層15とを備え、第1の材料層10の孔20が第2の材料層15の孔25に対してオフセットするように前記両材料層を互いに適切に重ね合わせる。衝撃及び/又は振動吸収材料5が衝撃力を受けたとき、第1の材料層10の一部が、第2の材料層15の孔25内に撓む。
(もっと読む)
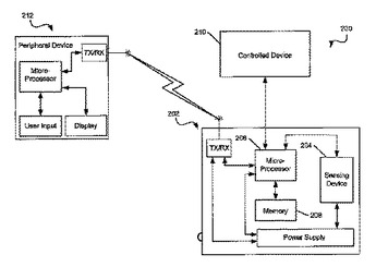
制御システムおよびそのようなシステムを含む足受容装置製品
履物品(100)のような足受容装置は、以下を含む:(a) ユーザの足と足受容装置との間の相互作用の特性を検出する検出装置(102);(b) 検出装置から出力を受信し、この出力に基づいて足受容装置の特性を制御する制御システム(104);および (c) 足受容装置の使用に関連した速度または距離情報を示すデータを検知および/または格納するための監視システム。監視システムは、制御システムにデータを提供するために使用されるものと同じ検出装置から入力を受信することもできる。制御システムは、履物品の衝撃減衰特性、静止摩擦特性、柔軟性特性、適合特性、または同種のものを変更することができる。そのような足受容装置を製作および使用する方法も記述されている。
(もっと読む)
靴底射出成形方法およびその装置ならびにそれらにより製造された履物
【課題】 格別な構造の射出装置を用いることなく、短時間の工程にて、挿入物の設置および大きさに拘らず円滑な射出物の射出と製品成形容積以上の量の射出物の充填が可能な靴底射出成形方法およびその装置を提供することを目的とする。
【解決手段】 アッパ4下部あるいはラストモールド3と複数の金型1、2、3を組み合わせて構成される射出空間7内に予め挿入物9を配置した後に前記射出空間7内に射出物8を射出する射出成形方法において、前記射出空間7を脱型時の製品成形容積より大きくまたは小さくして射出した後、脱型までに前記射出空間7を変化させて最終的に製品成形容積を得ることにより、比較的大きな容積の挿入物9を設置しても、該挿入物9に邪魔されることなくその周囲に充分に射出物8が回り込み、高圧を要することなく円滑な射出が可能となる。しかも、脱型時の最終的な製品成形容積を得るまでに射出空間7を変化させて自由な成形制御が可能となる。
(もっと読む)
接線方向の変形性を備えた本底
特に、スポーツシューズ(2)用の本底(1)は、接線方向において前方及び後方に大きな弾性変形性を備えた形成も可能であり、その結果、踏み込んだ足が傾斜しているときや、幾分滑動状態のときに、良好なクッション作用が働く。既に変形のあった領域において少なくとも限界変形を超えると、当該本底は、接線方向の変形について大略硬性となる。これによって、ランナーは、足の踏み込みポイント毎に、確りとした着地性を確保できる。ランナーはまた、道程ロスを伴わずに踏み込み地点から再び足を押し出すことができる。このようにして、ソールの浮き効果を防止する。本発明によると、接線方向における本底の変形性は、少なくとも一つの第1要素(3a)によって引き起こされ、既に変形のあった領域において少なくとも一つの限界変形並びに少なくとも一つの限界変形度合いを超えた接線方向の変形について、本底の硬性は、少なくとも一つの第2要素(3b)によって引き起こされる。当該第1要素及び第2要素(3a、3b)は、別々にデザイン、寸法決め及び作製できるため、構造上、構成上並びにバリエーション上、幅広い選択の余地がある。最後に、少なくとも一つの第1要素3aによって決定された区域と、少なくとも一つの第2要素3bによって決定された区域が、本底の踵領域及び/又は親指の付け根部分の長さ方向において交互に繰り返される。
(もっと読む)
71 - 80 / 96
[ Back to top ]
