国際特許分類[A43B13/20]の内容
生活必需品 (1,310,238) | 履物 (4,053) | 履物の特徴;履物の部分 (3,598) | 底;底とかかと底とが結合されたもの (1,127) | 構造に特徴のあるもの (717) | 弾性底 (162) | 空気底 (66)
国際特許分類[A43B13/20]に分類される特許
1 - 10 / 66
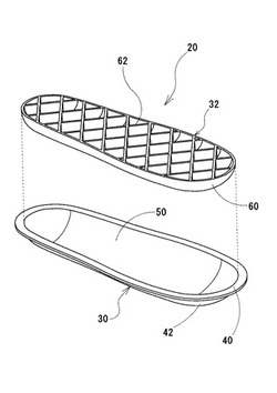
履物および履物底
【課題】 着用者の足を揺り動かす機能と耐久性とを両立する。
【解決手段】履物底20は、外殻30と、柔軟部材32とを有する。柔軟部材32は、外殻30内部に収容される。柔軟部材32は、弾性力により荷重を支える。柔軟部材32は、外殻30よりも柔らかい。外殻30が、基部40と、曲面部42とを有する。曲面部42は基部40から張出す。柔軟部材32は、支持部62を有する。支持部62は、外殻30内部で立つ。支持部62は、弾性力により荷重を支える。支持部62は、荷重を支える際には曲がる。
(もっと読む)
通気性靴底を有する靴
【課題】少なくとも通気性、防水性および撥水性を有し、足のむれ防止を容易に実現できる通気性靴底を有する靴を提供する。
【解決手段】本発明に係る靴は、靴の大底2に複数の貫通孔8が形成され、前記貫通孔8の上方に、少なくとも通気性、防水性および撥水性を有する通気調整布材5が配置されている。前記通気調整布材5は、少なくとも通気性を有する防水布からなる第1の布材6と、撥水布からなる第2の布材7とを局所的に接着して形成されている。
(もっと読む)
足底機構
【課題】斜面歩行を支援する足底機構を提供する。
【解決手段】足底機構10は、一対の袋体26a、26bと、ソール板14と、流路24と、バルブ22を備える、一対の袋体は、足底の前後に配置されており、膨張収縮が可能である。ソール板14は、一対の袋体の下側に取り付けられており、袋体の膨張収縮に応じて傾きが変化する。流路24は、一対の袋体を連通する。バルブ22は、流路を開閉する。バルブ22は、足底が地面から受ける荷重が予め定められた荷重閾値を下回っている場合には開いており、荷重が荷重閾値を超えた場合に閉じる。バルブ22が開いている間に流体の移動によってソール板14が斜面に合わせて傾斜し、バルブ22が閉じるとソール板14の傾斜が固定される。ソール板14が固定されると、ユーザの足裏を水平に保ち易くなる。
(もっと読む)
エアバッグを持つ履物の中底
【課題】 足裏のアーチ部の位置を考慮し、より効果的にアーチ部を圧迫して履き心地を向上させるとともに指圧効果も高める履物の中底を提供する。
【解決手段】 本発明は履物に使われる中底に係り、より具体的に踵部とアーチ部を支えるために、二つのエアバッグが流路を介して連結されて中底の底面に結合されるもので、踵部を支える踵エアバッグと前記流路を介して連結される1次アーチエアバッグと、前記1次アーチエアバッグ上に2次アーチエアバッグが前記1次エアバッグに連通するように結合され、前記踵エアバッグが加圧されるとき、空気圧が前記1次アーチエアバッグを介して前記2次アーチエアバッグに均一に作用することを特徴とする履物の中底である。
(もっと読む)
補強構造と流体で満たされた袋状部材とを有する履物
【課題】履物の底要素を備えた履物が開示される。
【解決手段】一般に履物の底要素は、流体を充填した袋状部材30と、袋状部材の周囲に延びる補強構造40とを含む。補強構造は袋状部材の外部に接着されており、袋状部材内に埋め込まれていてもよい。いくつかの実施形態では、補強構造が袋状部材の側面に沿って、かつ袋状部材の上側および下側表面の間に延びている。履物の底要素を製造する際には、補強構造を金型内に配置して、成型工程中に、袋状部材を形成するポリマー材料を補強構造に接合してもよい。
(もっと読む)
履物製品用インソール
本発明は、快適性を改善することを目的とした靴の構成に用いられる履物製品用インソール、及びそのようなインソールを備えた履物製品に関する。このインソールは、ユーザの足の圧力を受けるための本体部1を有しており、この本体部は、流体に対して透過性を持つ圧縮可能な材料3、6が充填された少なくとも1つの変形可能な空洞部2、5を備えており、流体取り入れのための少なくとも1つの流入口E1、E2と、この流入口とは別体の、流体排出のための少なくとも1つの流出口S1、S2、S3を備えている。さらに、空洞部の非変形状態における本体部の厚みは、場合によっては、空洞部の周辺を除いて、及び/または、場合によっては、流入口及びま/または流出口を除いて、実質的に一定となっている。
(もっと読む)
靴
【課題】歩行に伴い靴内の空気を入れ替えて足ムレを低減する。
【解決手段】歩行時の体重移動に伴い弾性気室3の一部が部分的に踵側端部3bから爪先側端部3aへ向けて順次圧縮変形することにより、靴内部空間Bから流出して弾性気室3内に溜まった湿気を含む空気が、踵側端部3bから爪先側端部3aへ向けて押送され、そこから第一通気路4aを通って第一通気口5aより靴外部へ排出され、また、これらの部分圧縮変形に追随して弾性気室3の一部が部分的に踵側端部3bから爪先側端部3aへ向け順次膨張変形することにより、靴外部の乾燥した空気が、第二通気口5b及び第二通気路4bを順次通って踵側端部3bから弾性気室3内に吸入され靴内部空間Bに流出する。
(もっと読む)
ゴルフシューズ、その製造方法及び靴底部材
【課題】新規な構造部材を備えた靴底部材、及びその靴底部材を有するゴルフシューズ及びその製造方法を提供する。
【解決手段】ゴルフシューズ100はモールド成形材料と一体的に形成された靴底部材、構造部材130及び靴底部材の底部の複数の収容部を含む。構造部材130は靴底部材の長さの少なくとも一部に沿って延び、いずれの収容部とも垂直に重ならないように形状づけられる。それと一体的に形成された構造部材130を有する靴底部材を備えたシューズを製造する方法も提供される。
(もっと読む)
推進力増強靴
【課題】 装着時の不安定感や左右方向のブレを無くし、しかも歩行や走行時における推進力を確実に増幅することができるようにする。
【解決手段】 推進力増強靴1は、靴本体2と靴底3とを有する通常の靴と同様の基本構造を有するものであって、靴底の踵部には衝撃吸収手段として衝撃吸収ユニット4が組み込まれ、その前方には力方向変換伝達制御手段5が組み込まれ、更にその前方には、足の中足骨下部に位置する推進力増幅手段としての推進力増幅ユニット6が組み込まれている。
(もっと読む)
透湿性・防水性底革用インサート
液体状態にある水に対して不透過性で、水蒸気に対して透過性であるポリマー材料から作られた複数の機能層を備える層状化・結合性一体型シート状構造を有している透湿性・防水性底革用インサート。底革用インサート(10)の少なくとも1つの機能部分が、ISO 20344−2004規格の5.8.2章に提示された方法によって算定されたおよそ10Nよりも大きい貫入抵抗をそれに付与するような厚さを有している。 (もっと読む)
1 - 10 / 66
[ Back to top ]
