国際特許分類[A43B5/00]の内容

生活必需品 (1,310,238) | 履物 (4,053) | 履物の特徴;履物の部分 (3,598) | スポーツ用の履物 (288)

国際特許分類[A43B5/00]の下位に属する分類

国際特許分類[A43B5/00]に分類される特許

31 - 40 / 152


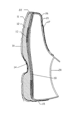
本発明は、アウトドア用に起伏面でジョギング又はウォーキングに使用する場合も、道路上でのジョギング又はウォーキングに使用する場合も、ソール(ミッドソール)の個々の特徴すなわち幅、長さ、厚み及び前方/後方の輪郭や、一定タイプの変形を伴って使用されるソール材料(ショア硬度及び弾性)、ソールから出てアッパを囲む側面補強材によって、性能(ペースアップ及び疲労が少ない)並びに使用時の快適性(膝、背中、足の筋肉に対して衝撃が少ない)を著しく増すことができるシューズに関する。更に、ソールの特徴(スパイク表面及び地面との接触時の変形)によって、傾斜面や雪面又は濡れた面等のあらゆる面で、より良いグリップ力/連結力によりユーザの安全性を向上させることができる。

(もっと読む)


【課題】さまざまな機能および外観を有する、選ばれたつま革および靴底によっていつでも作り変えることのできる組み合わせ靴を提供すること。
【解決手段】本発明の組み合わせ靴は、靴底、つま革、および完全な靴を形成するためにつま革と靴底とを素早く結合するために使用する取り付け手段からなる。取り付け手段は、靴底の前部に位置する、つま革の先端をバックルで留めるための前部キャップと、靴底の後部に位置する、つま革の踵をバックルで留めるための後部キャップと、つま革および靴底の両方の半底/踵に位置する、つま革と靴底との間の相対移動を防ぐための2対の合致した滑り止めプレートと、靴底につま革をきつく押しつける多数の加圧手段とを含む。本発明による組み合わせ靴は、組み合わせ数を大幅に増加させ、靴の購入費用を半減させることが可能である等、多くの効果を奏する。 (もっと読む)


【課題】トウガード15を包んで保護カバー20を設けたスポーツシューズにおいて、その保護カバー20と甲被14のフィット感を高める。
【解決手段】アウトソール11の爪先部を立ち上げてトウガード15を設けるとともに、シューズ本体10の爪先部にそのトウガード15を包んで保護カバー20を設けたスポーツシューズである。保護カバー20の内面にトウガード15がピッタリ嵌る凹部23を形成して、その保護カバー20の内面を甲被14の爪先部表面に接触(フィット)させる。このフィット感は、このスポーツシューズの着用時の違和感を生じさせない。このため、例えば、野球ピッチャーは、そのフィット感がないことによる投球動作に支障をきたすことがなくなる。また、設計時の保護カバー取付片22とアウトソール11底面の接触面積を確保できて、釘25をしっかり打つことができる。 (もっと読む)


【課題】アドレス状態からバックスイング、フォロースルーといった一連の動作においてプレイヤーの体の中心軸のズレを抑制することができるゴルフシューズを提供する。
【解決手段】足を覆うアッパー部2とこのアッパー部2に連設されると共に、アッパー部2とは反対側面に傾斜面5が設けられたソール部3とを備えるゴルフシューズ1であって、傾斜面5は、足の幅方向の内側領域であり、足の長さ方向の前方領域に設けられると共に、足の幅方向の内側端部から足の幅方向の外側に向かうに従って、ソール部3の厚さが大きくなる様に形成されている。 (もっと読む)


【課題】釣り人が足に痛みを感じにくいウェーダーの提供。
【解決手段】ウェーダーは、ソックス18を備えている。ソックス18は、アウトサイド生地28o、インサイド生地28i、トウサイド補強テープ34t及びヒールサイド補強テープ34hを有している。トウサイドにおいて、アウトサイド生地28oの端面は、インサイド生地28iの端面と突き合わされている。突き合わせにより、トウサイド突き合わせ部30tが形成されている。ヒールサイドにおいても、アウトサイド生地28oの端面は、インサイド生地28iの端面と突き合わされている。突き合わせにより、ヒールサイド突き合わせ部30hが形成されている。トウサイド補強テープ34tは、トウサイド突き合わせ部tを跨いでいる。ヒールサイド補強テープ34hは、ヒールサイド突き合わせ部30hを跨いでいる。それぞれの補強テープ34の基材は、ポリウレタンである。 (もっと読む)


【課題】登山のように傾斜を登る際の体力の消費を少なくする。
【解決手段】足の裏で地面を蹴って推進力を得ることに代えて、電動リール13によるワイヤー16の巻取りによって圧縮した圧縮コイルばね8の復元力を足の裏に与えることによって推進力を得る。 (もっと読む)


【課題】靴底の底面にフェルトソールを固定した釣用ブーツにおいて、フェルトソールの変形に追従し易い靴底を備えた釣用ブーツを提供する。
【解決手段】本発明の釣用ブーツは、ブーツ本体の底面2aにフェルトソール10を固定した構造となっている。底面2aには、下方に向けて多数の突起3が形成されており、突起3の先端にフェルトソール10を接着により固定したことを特徴とする。 (もっと読む)


【課題】防滑性能に優れたゴルフシューズの提供。
【解決手段】ゴルフシューズの軸足用靴は、下記数式(1)及び(2)を満たす。蹴足用靴は、下記数式(3)及び(4)を満たす。
Ac > Ai (1)
Ac > Ao (2)
Bc > Bi (3)
Bc > Bo (4)
Aiはインサイドゾーンに存在し爪先側内角が90°以上である突起のこの爪先側内角の平均値であり、Acはセンターゾーンに存在し爪先側内角が90°以上である突起のこの爪先側内角の平均値であり、Aoはアウトサイドゾーンに存在し爪先側内角が90°以上である突起の爪先側内角の平均値であり、Biはインサイドゾーンに存在し踵側内角が90°以上である突起のこの踵側内角の平均値であり、Bcはセンターゾーンに存在し踵側内角が90°以上である突起のこの踵側内角の平均値であり、Boはアウトサイドゾーンに存在し踵側内角が90°以上である突起のこの踵側内角の平均値である。 (もっと読む)


【課題】防滑性能に優れたゴルフ靴の提供。
【解決手段】ゴルフ靴の軸足用靴10は、アウトソール22を備えている。このアウトソール22は、多数の突起26を備えている。このアウトソール22は、下記の数式を満たす。
Pi > Pc ≧ Po
この数式において、PiはインサイドゾーンZiにおける接地面の占有率であり、PcはセンターゾーンZcにおける接地面の占有率であり、PoはアウトサイドゾーンZoにおける接地面の占有率である。比(Pi/Pc)は、1.2以上4.0以下である。比(Pc/Po)は、1.0以上3.0以下である。蹴足用靴は、軸足用靴10の形状が反転した形状を有する。 (もっと読む)


【課題】材料要素の数を減少させることによって、履物の質量および廃棄物を減少させ、それと同時に生産効率およびリサイクル性を向上させる。
【解決手段】履物物品が靴底構造と、下地要素および伸張要素を含むアッパーとを有する。伸張要素はベース層および複数のストランドを含み、ベース層は下地要素の外部表面に接合される。履物の製造にあたって、ベース層の熱可塑性ポリマー材料を用いて伸張要素を下地要素に接着または接合してもよい。 (もっと読む)


31 - 40 / 152