国際特許分類[A43B5/06]の内容
生活必需品 (1,310,238) | 履物 (4,053) | 履物の特徴;履物の部分 (3,598) | スポーツ用の履物 (288) | ランニングぐつ (27)
国際特許分類[A43B5/06]に分類される特許
11 - 20 / 27
ランニングシューズ
【課題】靴生地の多層構造を簡素化してランニングシューズを軽量化しつつも、ランニングシューズとして求められる耐摩耗性は維持し、かつ柔軟で防水性に優れたランニングシューズを提供することを目的とする。
【解決手段】ポリマードットが付着した生地(織物)2と、織物2のポリマードットが付着した面とは反対側の面に形成された防水透湿膜3と、防水透湿膜3に接着剤により直接接着された外皮部4とがこの順序に積層されてなる甲部材1を備えたランニングシューズを製造する。
(もっと読む)
アッパーのフィット性を改良した運動靴
【課題】靴のフィット性を向上させるアッパーを提供する。
【解決手段】足の甲を包むと共に、着用時に足が上方に出る第1開口1と、舌片Tで閉じられた第2開口2を有する運動靴のアッパーUに関する。両開口1,2は互いに連なっており、前記アッパーUは、足の踏まず部の内側面の一部を覆う内側伸縮部51と、足の小指球の外側面の一部を覆う外側伸縮部50と、両伸縮部50,51の前方に配置された前部3と、後方に配置された後部4とを備えている。前記各伸縮部50,51は、ソールSの上面から前記第2開口2まで前記アッパーUの一方の側面を横断する。前記各伸縮部50,51の足長方向Lについてのヤング率は、前記前部3および後部4のそれよりも、小さく設定されている。
(もっと読む)
ベルト締め付け型ランニングシューズ
【課題】 長距離専用のランニングシューズとして各メーカーが発売しているランニングシューズは各メーカー共、ステップロスを最小限にするシューズがありません。エネルギーロスを最小限に抑えたシューズがあれば、後半の疲れを遅らせ完走のタイムアップができる。
【解決手段】 ランニングシューズの外踵から足の甲を通り親指の付け根のラインと、内踵から足の甲を通り小指の付け根のライン2本のX型になるベルトを付けて、足の指部分を除く足先から踵の部分までの足裏全体を一体とできるシューズで、左右共親指と小指の付け根部分から足の甲に向ってV型の切り込みを入れたシューズで、ランニングのステップの時靴底を曲げるエネルギーロスを抑えたシューズで、外側に計測用RCチップを取り付けられる細いベルトを付け、靴裏面に親指と小指の付根をむす線に複数の溝を付け、靴底を曲げるエネルギーロスを最小限に抑えたシューズ。
(もっと読む)
地下足袋ランニングシューズの裏底
【課題】足の機能を地面に伝えるのに、靴となるとその底は扁平であり機能は平面の堅いゴム等で打ち消されてしまっている。走る足の動作機能を十分に発揮し、かつ、足への衝撃を緩和するシューズを提供する。
【解決手段】地下足袋に地面を捉える機能を持たせ、地面からの衝撃を吸収し足の平目筋に疲労を和らげる。足指部分の下をクッション構造を作る。
(もっと読む)
靴のソールおよびこのようなソールの成形装置
本発明は、特にスポーツを行うための靴のソールに関し、靴底の少なくとも一部の面に対応する概略の形状の支持体(3)と、熱成形材料からなる少なくとも1つの第1の層とを備えるソールにおいて、熱成形材料からなる少なくとも1つの第2の層を備え、前記第2の層(6)は、前記第1の層(5)の位置で少なくとも1つの自由領域(7,8,9,10)を残すように部分的に前記第1の層を被覆し、前記第1の層(5)の構成材料の熱成形温度が、前記第2の層(6)の構成材料の熱成形温度よりも低いことを特徴とする。
本発明は、さらに前記ソールを形成する装置に関する。
(もっと読む)
靴における足指の滑り止め構造
【課題】靴を履いて行う陸上競技において走力に差を与える一要因として、足指先からの踏ん張り力が靴を通じ効率的に大地へ伝達されているか否かにある。
足指先に発生する力を効率的に靴底へ伝達するために靴内底面の足指の付け根部に滑り防止の突起物や段差を設けた靴を提供することにある。
【解決手段】靴2の内底面側2aの足指1の付け根部に該当する個所に突起物3を設け、走行時の力を発生させる足指が滑ることなく足指先力が効率的に靴底2aから2bへ、2bから大地5へ伝えられるようにした。この突起物3の形状や高さは足指形状1を計測したり、平均的な形状を求め決定する。また靴内面2aの足指付け根部に該当する個所に靴底と一体で成型するか、接着や縫製にて固定する。
(もっと読む)
交換可能な構成の靴システム
【解決手段】
靴システム(10)は、取外し可能な上部ユニット(20)と靴底ユニット(22)とを有するように構成され、これらはそれぞれの上部接続部(40)及び下部接続部(24)を利用して接続されている。靴底ユニット(22)はサポート片(60)を有し、サポート片(60)は実質的に連続的に靴底ユニット(22)の外周(32)に沿って延設されている。サポート片(60)の下部(80)は靴底ユニット(22)の内部範囲(52)に接続され、上部(82)は下部(80)から概して上方に向かって延びており、また、靴底外周(32)に沿いながら下部接続部(24)の内側に周方向に延設されている。サポート片(60)は、足に装着された際に、横方向の力に耐えるように、靴システム(10)に構造的な強度を提供するように構成され、また、上部接続部(40)及び下部接続部(24)と使用者の足との接触摩擦を低減するように構成されている。
(もっと読む)
陸上競技用スパイクシューズ
【課題】 トラック面に対して十分なトラクション性能を発揮でき、しかも接地時のソールの回転を防止できる陸上競技用スパイクシューズを提供する。
【解決手段】 ソールの内甲側最突出端の位置から幅方向に(0.18〜0.43)×W(W:ソール幅)の位置かつ爪先先端から前後方向に(0.28〜0.31)×L(L:表示サイズ足長)の位置に第1のスパイクピン1を設け、ソールの内甲側最突出端の位置から幅方向に(0.58〜0.74)×Wの位置かつ爪先先端から前後方向に(0.29〜0.33)×Lの位置に第2のスパイクピン2を設け、ソールの内甲側最突出端の位置から幅方向に(0.43〜0.58)×Wの位置かつ爪先先端から前後方向に(0.17〜0.28)×Lの位置に第3のスパイクピン3を設ける。第1〜第3のスパイクピン1〜3は、これらを頂点とする三角形を形成している。
(もっと読む)
競技または他の運動能力感知システム
フットウェア製品および他の装置は、たとえばフットウェアまたは他の装置の使用に関連する身体的および/または生理学的特性を感知するためのモジュールを含む。そのような装置は、(a)電子モジュールを受けるためのハウジング、任意選択的には非対称ハウジング、(b)モジュールをハウジング中に取り出し可能に取り付けるための解放機構、ならびに/または(c)モジュールを選択的にアクティブ化するためのアクティブ化/認証システムを含む。さらには、そのようなハウジング、電子モジュール、解放システム、アクティブ化システム、認証システムなどを含むフットウェア製品または他の構造を製造する方法について開示する。また、運動能力感知システムおよび運動能力特性を感知するための上記装置の使用方法を開示する。
(もっと読む)
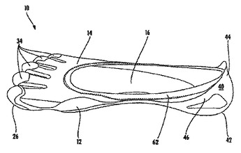
関節的に独立して動くつま先部分を有するフットウエア
フットウエアは足底及び甲部を含んで供給され、足底と甲部とは個別の足指部分を区分し、フットウエアに挿入された足の個々の足指に合致する独立した関節的な動きを受容し、保持し、許容するように構成され、足底は足の少なくとも一部の回りを上方に延びる拡張部を含む。
(もっと読む)
11 - 20 / 27
[ Back to top ]
