国際特許分類[A43B5/06]の内容
生活必需品 (1,310,238) | 履物 (4,053) | 履物の特徴;履物の部分 (3,598) | スポーツ用の履物 (288) | ランニングぐつ (27)
国際特許分類[A43B5/06]に分類される特許
21 - 27 / 27
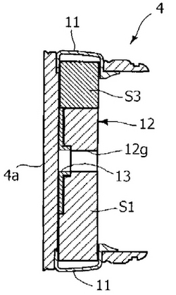
特に回内及び回外の両方又はこれらのいずれか一方を調整する調節可能な安定性向上システムを備えた履物
【課題】使用時の用途の広さと信頼性の高さを実現するだけでなく、簡易で実用的な構造を備えた新規の調節可能な安定性向上システムを設けた履物を提供する。
【解決手段】特に回内現象と回外現象の両方及びこれらのいずれか一方を調整する調節可能な安定性向上システムを備えたソール部を有する履物1であって、前記調節可能な安定性向上システムは、前記ソール部の構成材4に設けたシート部内における位置を少なくとも2通り切り替えることができる調節部材12を少なくとも1つ備え、前記調節部材12は、圧縮度の異なる領域を少なくとも2つ備える。
(もっと読む)
アッパーのフィット性を改良した運動靴
足の甲を包むと共に、着用時に足が上方に出る第1開口(1)と、舌片(T)で閉じられた第2開口2を有する運動靴のアッパー(U)に関する。両開口(1,2)は互いに連なっており、前記アッパーUは、足の踏まず部の内側面の一部を覆う内側伸縮部(51)と、足の小指球の外側面の一部を覆う外側伸縮部(50)と、両伸縮部(50,51)の前方に配置された前部(3)と、後方に配置された後部(4)とを備えている。前記各伸縮部(50,51)は、ソール(S)の上面から前記第2開口2まで前記アッパー(U)の一方の側面を横断する。前記各伸縮部(50,51)の足長方向(L)についてのヤング率は、前記前部(3)および後部(4)のそれよりも、小さく設定されている。
(もっと読む)
マラソンタビ
【課題】体育マラソン大会を催して、マラソングッズとして会費・参加券代りにマラソン足袋を参加者に求めて貰ったらと考えた。一般に用いられているズック(doek)では蒸れるので、全くゴムなどで防湿しないもので履き易い物が欲しい。
【解決手段】マラソン用の蒸れない履き易い履き物として、足袋を、爪先を指分かれさせないで靴のように丸め、甲側を短靴のように刳る、小鉤はファスナー類に代えても宜しい、底は化繊布などを用いても宜しい、などと改良した、マラソンタビと呼ぶことにする、学童用の上履きに用いても宜しい、マラソン用の足袋。
(もっと読む)
動的に調整可能な衝撃緩衝運動靴
靴のようなウェアウェアのアイテムが、以前の衝撃の強度の制御下で前記アイテムの動作使用において前記アイテムに対する次の衝撃の効果を動的に調節することを可能にするように構成された緩衝器を有する。
(もっと読む)
履物用の柔軟性を有する流体充填ブラダ
【課題】より柔軟性のある流体充填ブラダを提供する。
【解決手段】密閉外側バリア50と伸張部材60とを含む履物用の流体充填ブラダ40を開示する。バリアはブラダに入れる流体を実質的に浸透させず、伸張部材はバリア内部に位置してバリアの両側に接着する。伸張部材60は、ブラダの第1部分64aのブラダの第2部分63bに対する屈曲を促す屈曲領域65を画成する。屈曲領域は、伸張部材が存在しない領域であって、屈曲領域は例えば、空間、穴、または窪みの構成とすることができる。
(もっと読む)
分岐した流体充填チャンバーを組み込んだ底部構造を有する履物
【課題】圧縮が進行すると剛性が高くなる履物用チャンバーを提供する。
【解決手段】履物用の流体を充填したチャンバー及び前記チャンバーを製造する方法を開示する。前記チャンバーは履物の底構造の中に組み込むことができ、中央部分およびこの中央部分から外側に向かって延びる複数の分岐部を含む。前記分岐部は前記中央部分と流体的に連通しており、第一の表面、第二の表面および側壁で形成される。前記側壁は前記チャンバー内に前記流体を封止するために前記第一の表面および第二の表面と結合されており、前記第一の表面の内部と前記第二の表面の内部とを結合するための内部接続は全体的に使用されない。チャンバー内の流体は、周囲の大気圧とほぼ等しい圧力の空気であってもよい。
(もっと読む)
翔ッ靴
【目 的】 ジョギングにおいて足の関節に加わる衝撃をなくし、その衝撃を与えるエネルギを走行に有効に利用できる靴を得ること。
【構 成】 靴の踏部にバネ2を設け、そのバネに接地板10を止帯22により取付けた事を特徴としている。
(もっと読む)
21 - 27 / 27
[ Back to top ]
