国際特許分類[A43B7/00]の内容
生活必需品 (1,310,238) | 履物 (4,053) | 履物の特徴;履物の部分 (3,598) | 保健または衛生用付属具を有する履物 (490)
国際特許分類[A43B7/00]の下位に属する分類
加温装置付き履物 (31)
換気できる履物 (108)
特に水密性の履物 (29)
足を支持する部品を有する履物 (200)
緩衝機構を有する履物 (60)
防熱具または防寒具を有する履物 (12)
電気的接地手段を有するもの (18)
高める,すなわち高さを増す,履物 (4)
国際特許分類[A43B7/00]に分類される特許
1 - 10 / 28
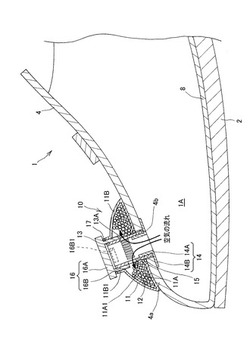
靴構造及び靴用除湿具
【課題】靴を履いている最中であっても、靴内の蒸れを解消できる靴構造及び靴用除湿具を提供すること。
【解決手段】靴1の内部を除湿する機能を有した靴構造において、靴1の靴本体3に開口4bを設け、開口4bに靴中の水分を吸着する吸湿剤12を収容したケース体11を着脱自在に取り付けたことを特徴とする。
(もっと読む)
足にやさしい靴3
【課題】年老いて歩くのが不自由になった人、足の悪い人の歩行が少しでも楽になるように、又、スポーツ競技においては、記録の更新が望める靴である。
【解決手段】靴1の底の部分に靴底3、靴底4、4′を取り付けることによって解決する。
(もっと読む)
振動が発生する履物およびその振動装置
【課題】 本発明は、血行改善のための振動装置付き履物に関する。さらに詳しくは、本発明は、履物に振動装置が配設されて歩行時に発生する衝撃と揺動をエネルギー源とし、振動と磁力によって歩行の興味を誘発し、且つ、血行を改善した履物に関する。
【解決手段】 本発明に係る履物は、甲皮部と前記甲皮部の下方に設けられる靴底部とを備える履物において、前記履物に振動を伝えるために固定される振動板と、前記振動板に取り付けられる第1の磁石と、前記第1の磁石の上方に位置して、第1の磁石の上面と斥力作用をする第2の磁石と、前記第1の磁石の下方に位置して、前記第1の磁石の下面と斥力作用をする第3の磁石と、を備え、前記振動板における前記第1の磁石の止着部分が前記第2の磁石と前記第3の磁石との間において振動可能な振動装置をさらに備えることを特徴とする。
(もっと読む)
遠赤外線放射性衣料・履物用編織布
【課題】所定の遠赤外線放射性組成物を充分に需要者の要望に応えられるものとし、具体的に利用価値の高いものとすることである。
【解決手段】(i)アルミナと、(ii)シリカ及び酸化チタンから選択される1種以上と、(iii)白金、白金化合物、パラジウム、パラジウム化合物、イリジウム、イリジウム化合物、ロジウムおよびロジウム化合物から選択される元素またはその化合物の1種以上とを含む遠赤外線放射性組成物を含有する繊維または同組成物を固着した繊維を用いてなる遠赤外線放射性衣料・履物用編織布とする。サンダルなどの履物Aの場合は、中底の表皮1の裏面全面に遠赤外線放射性衣料・履物用編織布2を重ね、これらを底部材3の上面に接着固定し、または適宜に縫い付けて固定する。
(もっと読む)
足運動装置
足(12)を運動させるための装置(10)は、強化されるべき足が上方に位置決めされる底部(16)、及びアッパー(18)を備える。複数の弾性部材(20)は、アッパーに対して固定され、足を伸展位と引込み位との間において動かす際に、弾性部材は伸展位と引込み位との間における足の運動に対抗する抵抗力を足に与える。
(もっと読む)
消臭液
【課題】 長期間安定して消臭効果を発揮する消臭液及び消臭液を使用した靴の中敷や臭わない靴等の提供
【解決手段】 ケイ酸系セラミックスパウダー、干しアミエキス、水系結着樹脂溶液を含有する消臭液を靴の中敷や靴の内部やサンダルの中敷に塗布することにより、臭わない靴等を作ることができる。
(もっと読む)
履物用健康具
【課題】 使用者の好みに合った履物に後付けされ、その履物を健康履物として機能させることができる履物用健康具を提供することである。
【解決手段】 履物用健康具は、履物に後付けされ当該履物を健康履物として機能させるものであり、履物台底面に当着可能に形成される略板状の基板部材と、その基板部材と履物台底面との間に介在されその基板部材を履物台底面に貼着する貼着部材と、その基板部材から履物台底面へ向けて突設され、その履物台底面に押入可能に形成される押入部材と、その基板部材の底面から側面視略弧状に湾出形成され、履物台底面の幅方向に一定の幅をもって形成される支持脚部材とを備えている。
(もっと読む)
健康志向靴
【課題】 歩行時の足裏に対する押し圧刺激を大きく保つことができるようにする。
【解決手段】 地面に接する接地面9から、足裏に接する足裏接触面1までの間に所定の厚さを保持した靴において、上記足裏接触面1には足裏に押し圧刺激を付与する弾性突出部2〜6を隆起させる一方、上記接地面9と弾性突出部2,4,6との間に、接地面9に作用した接地圧力を弾性突出部2,4,6に伝達する押し部材8を設ける。また、接地面9と弾性突出部3,5との間に弾性部材11を設け、接地面9に作用した接地圧力を吸収するとともに、当該弾性部材11の弾性力を足裏に作用させる構造にしている。
(もっと読む)
足関節の動的アライメントの評価システムおよび足関節の動的アライメントの評価方法
【課題】オペレータの主観的な操作による人的誤差を生じにくくするとともに、短時間で足関節の動的アライメントの評価結果を出すことができるようにする。
【解決手段】踵から爪先にかけて足の裏を順次接地させる態様で行われる走歩行動作を被測定者が行った際の圧力分布を所定の測定時間ごとに測定する測定装置1と、測定時間ごとに測定された圧力分布の圧力中心の位置を演算し、演算された圧力中心の位置に基づいて、一連の走歩行動作における圧力中心の軌跡Nを決定するとともに、踵側から爪先側にかけて設定される直線状の基準線Mに対する前記圧力中心の軌跡Nの逸脱量を演算する演算装置2とを備える。
(もっと読む)
履物
【課題】単に履いて歩き、動いているうちに、確実に角質を除去する事ができる履物を提供する。
【解決手段】足の角質を削り取って除去する超極細繊維を用いて構成されている履物であって、足部の少なくとも皮膚が角質化した箇所および角質化しやすい箇所に、皮膚と接触する状態に配置されている事により、歩行時等足を動かす事により、足の皮膚と超極細繊維とが擦れて角質部等を削り取り、足を綺麗に滑らかにする特徴とする履物。
(もっと読む)
1 - 10 / 28
[ Back to top ]
