国際特許分類[A43B9/00]の内容
生活必需品 (1,310,238) | 履物 (4,053) | 履物の特徴;履物の部分 (3,598) | 個々の部分の組合せに特徴のある履物 (14)
国際特許分類[A43B9/00]の下位に属する分類
縫着または釘打ちされた履物 (5)
細革を取付けた履物
ターンシュー式の履物
外方へ折曲げられた甲被を有する履物
糊着または接着した履物
プラットフォームをもつ靴 (3)
甲被にモールド成形底をつけた履物または接着剤を用いずに甲被に底を溶着した履物 (3)
国際特許分類[A43B9/00]に分類される特許
1 - 3 / 3
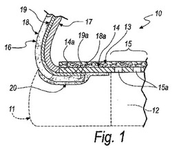
防水性と通気性のある靴
・通気領域(12、112)を備える靴底(11、111)、
・防水材料で作られた少なくとも1つの第1ガスケット(14)によって靴底(11、111)に向かって覆われ、前記通気領域(12、112)の上方に少なくとも1つの通気性又は多孔性部分(15)を有する組立て内底(13)、
・少なくとも1つの通気性裏地(17)、通気性甲皮(18)およびそれらの間にある防水性と通気性のある上膜(19)を備え、少なくとも主に「AGOラスティング」として知られた構造によって前記組立て内底(13)に結合する上側靴アセンブリィ、
・防水性材料で作られ、前記第1ガスケット(14)に防水性密封を形成するように接着し、前記甲皮(18)の下部エッジ(18a)に乗って接着され、前記靴底(11、111)へ前記上側靴アセンブリィ(16)と前記第1ガスケット(14)の防水性密封領域を形成し、少なくとも前記通気性又は多孔性部分(15)を通気性のために解放しておく少なくとも1つの第2ガスケット、
を備える、防水性と通気性のある靴。
(もっと読む)
アッパー支持組立体を有する靴製品
靴製品(10)は、ソール組立体(24)およびソール組立体に固定されたアッパー(22)を含む。ソール組立体にヒールカウンター(30)が固定される。ヒールカウンターは、内側部(32)および内側部に固定された外側部(34)を含む。アッパーの一部は、ヒールカウンターの内側部と外側部の間に拘束される。
(もっと読む)
モジュール靴
モジュール靴は、部品に分離する。これらの部品は、多数の使い捨て靴を必要とせずに汎用性をもたらすために、交換可能であるとよい。また、各靴部品は、旅行バッグ又は空間が制限された他の箇所内に便利に詰め込まれるために、折畳み可能であるとよい。
(もっと読む)
1 - 3 / 3
[ Back to top ]