履物の底要素を製造する方法
【課題】履物の底要素の製造方法が開示される。
【解決手段】履物の底要素20を製造する方法は、第一の表面および反対側の第二の表面を有し、第二の表面の少なくとも一部が凹形状を有する、加圧されていない袋状部材30を形成するステップと、袋状部材30に補強構造40を埋め込み、補強構造40を袋状部材30に接合するステップと、第二の表面が凹形状から実質的に平坦な形状へと広がるように袋状部材30を加圧するステップとを含む。
【解決手段】履物の底要素20を製造する方法は、第一の表面および反対側の第二の表面を有し、第二の表面の少なくとも一部が凹形状を有する、加圧されていない袋状部材30を形成するステップと、袋状部材30に補強構造40を埋め込み、補強構造40を袋状部材30に接合するステップと、第二の表面が凹形状から実質的に平坦な形状へと広がるように袋状部材30を加圧するステップとを含む。
【発明の詳細な説明】
【技術分野】
【0001】
本発明は履物の底要素を製造する方法に関する。底要素の形状は本発明の範囲内でもかなり変わることがあるが、底要素は、流体を充填した袋状部材と、この袋状部材に固定された外部的な補強構造とを一般に含む。
【背景技術】
【0002】
関連出願との相互関係
本願は、ここに全体を引用により組み込む2004年1月28日出願の米国特許出願番号10/767,211号、名称 “Article Of footwear Having A Fluid-Filled Bladder With A Reinforcing Structure”の一部継続出願であり、その優先権を主張する。米国特許出願番号10/767,211は、ここに全体を引用により組み込む2003年12月23日出願の米国仮出願番号60/531,674、名称 “Article Of footwear Having A Fluid-Filled Bladder With A Reinforcing Structure”の優先権を主張する。
【0003】
通常の運動用の履物は2つの主要な要素、すなわちアッパーと履物の底構造とを有する。アッパーは足を確実に収容し、履物の底構造に対して足の位置を定めるための足の覆いをなす。アッパーはまた、足を保護しかつ換気を行なうような構成を有し、それにより足を冷却して汗を除去することもできる。履物の底構造はアッパーの下面に固定され、一般に足と地面との間に位置する。地面反力の減衰特性に加えて、履物の底構造は地面を捕捉し、かつ過剰な回内運動のような足の動きを制御することもできる。これによりアッパーと履物の底構造とは互いに協働して、ウォーキングやランニングのような広範囲の脚の運動に適した快適な構造を与える。
【0004】
運動用履物の底構造は一般に積層構造をなし、快適さを増すインソール、発泡ポリマーで形成された弾力のあるミッドソール、および耐磨耗性と地面捕捉能力とを兼ね備えた地面に接するアウトソールから構成される。ミッドソールに適した発泡ポリマー材料としては、加えられた負荷の下で弾性的に圧縮し地面からの反力を減衰させてエネルギーを吸収するポリウレタンまたはエチルビニルアセテートがある。通常の発泡ポリマー材料が弾性的に圧縮する性質は部分的には、主に気体によって置き換えられた内部体積を区画する複数の開いたまたは閉じたセルを含むことで得られる。すなわち、発泡ポリマーは気体を閉じ込めた複数の泡を含む。圧縮が繰り返されるとセル構造は劣化し、発泡材料の圧縮性が低下する。その結果、反力を減衰させてエネルギーを吸収するミッドソールの特性は、履物の寿命を通じて低下する。
【0005】
発泡ポリマー製ミッドソールを軽量化し、圧縮の繰り返しによる劣化の影響を軽減する1つの方法は、引用により本明細書に組み込まれるRudyの下記特許文献1に開示されているように、エラストマー材料で形成され流体を充填した袋状部材によって地面反力の減衰特性を与えることである。袋状部材は、履物の底構造の長さに渡って長手方向に延びる複数の筒状のチャンバーを含む。各チャンバーは互いに流体的に連通し、結合して履物の幅方向に延びている。袋状部材は引用により本明細書に組み込まれるRudyの下記特許文献2に開示されているように、発泡ポリマー材料の中に閉じ込めることができる。袋状部材とそれを閉じ込める発泡ポリマー材料との組み合わせが、ミッドソールとして機能する。そのため、アッパーは発泡ポリマー材料の上面に取り付けられ、その下面にはアウトソールすなわち接地部材が固定される。
【0006】
上記のタイプの袋状部材は一般にエラストマー材料で形成され、その間に1つ以上のチャンバーを挟みこむ上側および下側部分からなる構造を有する。チャンバーには、袋状部材内に形成された充てん口に流体圧力源に接続されたノズルまたは針を挿入することにより、外気圧よりも高い圧力が加えられる。チャンバーを加圧した後で、充てん口を封止してノズルを引き抜く。
【0007】
履物の用途に適した流体で充填された袋状部材は2層フィルム技術で製造できるが、これは2枚の別々のエラストマー製フィルムのシートを、袋状部材の全体的な外周形状を示すように形成するものである。次に両シートを外周に沿って互いに接着して封止構造を形成し、また所定の内部領域において両シートを互いに接着して袋状部材に所望の形状を与える。すなわち、内部の接合部により、所定の形状および寸法を有するチャンバーを袋状部材に与えるのである。かかる袋状部材はブロー成型法によっても製造されてきたが、これは袋状部材の所望の全体形状および構成を有する金型内に、筒状の形状を有するエラストマー材料を溶融または軟化した状態で装填するものである。金型は1箇所に開口部を有し、ここから圧縮空気が供給される。圧縮空気には液化したエラストマー材料が含まれており、金型の内面の形状に適合する。次いで、エラストマー材料が冷却することにより、所望の形状および構成の袋状部材が形成される。
【先行技術文献】
【特許文献】
【0008】
【特許文献1】米国特許第4,183,156号明細書
【特許文献2】米国特許第4,219,945号明細書
【特許文献3】米国特許第5,713,141号明細書
【特許文献4】米国特許第5,952,065号明細書
【特許文献5】米国特許第6,082,025号明細書
【特許文献6】米国特許第6,127,026号明細書
【特許文献7】米国特許第4,936,029号明細書
【特許文献8】米国特許第5,042,176号明細書
【特許文献9】米国特許第6,013,340号明細書
【特許文献10】米国特許第6,203,868号明細書
【特許文献11】米国特許第6,321,465号明細書
【特許文献12】米国特許第4,340,626号明細書
【発明の概要】
【課題を解決するための手段】
【0009】
本発明は、履物の底要素を製造する方法であって、第一の表面および反対側の第二の表面を有し、前記第二の表面の少なくとも一部が凹形状を有する、加圧されていない袋状部材を形成するステップと、前記袋状部材に補強構造を埋め込み、前記補強構造を前記袋状部材に接合するステップと、前記第二の表面が前記凹形状から実質的に平坦な形状へと広がるように前記袋状部材を加圧するステップとを含む方法を提供する。
【0010】
前記形成するステップは、前記第一の表面と前記第二の表面との間に延びる側壁を画定することを含んでもよい。
前記埋め込むステップは、前記補強構造の少なくとも一部を前記側壁に固定することを含んでもよい。
当該方法は、前記側壁から内側に隔たった複数の内部結合部を形成するように、前記第一の表面を前記第二の表面に接合するステップを更に含んでもよい。
【0011】
前記接合するステップは、前記内部結合部の少なくとも1つを、前記第一の表面の平面に対して傾斜するように向けることを含んでもよい。
履物は、アッパーおよび前記アッパーに固定された履物の底構造を有してもよく、この場合、前記履物の底構造は、少なくとも第一の表面および反対側の第二の表面を有し、加圧された流体を閉じ込める障壁から形成された袋状部材と、前記袋状部材の外部に固定され、少なくとも部分的に前記障壁内に埋め込まれた補強構造と、前記第二の表面に接着された追加層とを備えていてもよい。
【0012】
前記追加層の材料は、前記障壁の材料と同じであってもよい。
前記第一の表面は、前記アッパーに近接して位置してもよく、この場合、前記第二の表面は、前記アッパーの反対側を向いていてもよい。
前記第一の表面は、前記袋状部材の内部領域に延びる様々な形状を画定してもよく、この場合、追加層は、前記形状を横切って延び、前記内部領域に存在しなくてもよい。
【0013】
前記袋状部材は、前記第一の表面と前記第二の表面との間に延びる側壁を含んでもよい。
前記補強構造は、前記側壁に埋め込まれ、前記第一の表面と前記第二の表面との間に少なくとも部分的に延びていてもよい。
当該履物は、前記第二の表面および前記追加層のうちの少なくとも一方に固定されたアウトソールを更に含んでもよい。
【0014】
履物は、アッパーと前記アッパーに固定された履物の底構造とを有してもよく、この場合、前記履物の底構造は、加圧された流体を閉じ込めるポリマー製障壁から形成された袋状部材であって、前記袋状部材が、少なくとも、第一の表面、反対側の第二の表面、および前記第一の表面と前記第二の表面との間に延びる側壁を有し、前記第一の表面が前記第二の表面に接着されて、前記側壁から内側に隔たった複数の内部結合部を画定し、前記内部結合部が前記第一の表面の平面に対して傾斜した傾斜結合部を含む袋状部材と、前記袋状部材の外部に固定され、少なくとも部分的に前記障壁材料内に埋め込まれた補強構造とを備えていてもよい。
【0015】
前記傾斜結合部は、前記第一の表面に近接して位置する上側部分と、前記第一の表面から離れて位置する下側部分とを含んでもよく、この場合、前記上側部分は、前記下側部分よりも前記側壁に近くてもよい。
前記傾斜結合部は、当該履物において体の中心線側に相当する側に隣接して位置してもよい。前記傾斜結合部は、当該履物において体の外側(中心線側とは反対側)に相当する側に隣接して位置してもよい。
【0016】
前記内部結合部は、別の傾斜結合部を含んでもよく、この場合、前記傾斜結合部は、当該履物において体の中心線側に相当する側に隣接して位置してもよく、この場合、前記別の傾斜結合部は、当該履物において体の外側に相当する側に隣接して位置してもよい。
前記傾斜結合部および前記別の傾斜結合部のそれぞれが、前記袋状部材の中央部分に向かう下向きの傾斜を有してもよい。
【0017】
前記補強構造は、前記側壁に埋め込まれ、前記第一の表面と前記第二の表面との間に少なくとも部分的に延びていてもよい。
履物は、アッパーと前記アッパーに固定された履物の底構造とを有してもよく、この場合、前記履物の底構造は、障壁から形成され、加圧された流体を閉じ込める袋状部材であって、第一の表面、反対側の第二の表面、および前記第一の表面と前記第二の表面との間に延びる側壁を含む袋状部材と、前記袋状部材の外部に固定され、少なくとも一部が前記側壁に埋め込まれた補強構造であって、第一の材料から形成された第一の部分、および第二の材料から形成された第二の部分を含み、前記第一の材料は前記第二の材料より低い剛性を有する補強構造とを備えていてもよい。
【0018】
前記第一の部分は、前記第一の表面に隣接して位置してもよく、この場合、前記第二の部分は、前記第二の表面に隣接して位置してもよい。
前記第一の部分は、前記袋状部材において体の外側に相当する側に少なくとも部分的に位置してもよく、この場合、前記第二の部分は、前記袋状部材において体の中心線側に相当する側に位置してもよい。
【0019】
前記補強構造は、前記第一の表面に隣接して位置する上側部分と、前記第二の表面に隣接して位置する下側部分と、前記上側部分と前記下側部分との間に延びる複数の連結部とを含んでもよい。
前記上側部分は、前記第一の材料から形成されていてもよく、この場合、前記下側部分は、前記第二の材料から形成されていてもよい。
【0020】
前記上側部分は、前記第一および第二の材料の両方から形成されていてもよく、この場合、前記第一の材料は、前記袋状部材において体の外側に相当する側に配置されていてもよく、この場合、前記第二の材料は前記袋状部材において体の中心線側に相当する側に位置してもよい。
履物は、アッパーと前記アッパーに固定された履物の底構造とを有してもよく、この場合、前記履物の底構造は、障壁から形成され、加圧された流体を閉じ込める袋状部材であって、第一の表面、反対側の第二の表面、および前記第一の表面と前記第二の表面との間に延びる側壁を含む袋状部材と、前記袋状部材の外部に固定され、少なくとも一部が前記側壁に埋め込まれた補強構造であって、前記第一の表面に隣接して位置する上側部分、前記第二の表面に隣接して位置する下側部分、および前記上側部分と前記下側部分との間に延びる複数の連結部を含み、前記連結部が寸法の異なる少なくとも第一の連結部および第二の連結部を含む補強構造とを備えていてもよい。
【0021】
前記第一の連結部は、前記袋状部材において体の中心線側に相当する側に位置してもよく、この場合、前記第二の連結部は、前記袋状部材において体の外側に相当する側に位置してもよく、この場合、前記第一の連結部は、前記第二の連結部より大きな厚みを有してもよい。
前記第一の連結部は、前記袋状部材において体の中心線側に相当する側に位置してもよく、この場合、前記第二の連結部は、前記袋状部材において体の外側に相当する側に位置してもよく、この場合、前記第一の連結部は、前記第二の連結部より大きな幅を有してもよい。
【0022】
前記第一の連結部は、前記第二の連結部の後方に位置してもよい。
履物は、アッパーと前記アッパーに固定された履物の底構造とを有してもよく、この場合、前記履物の底構造は、ポリマー製障壁から形成され、加圧された流体を閉じ込める袋状部材であって、少なくとも、前記アッパーに隣接する第一の表面、反対側の第二の表面、および前記第一の表面と前記第二の表面との間に延びる側壁を含む袋状部材と、前記袋状部材の外部に固定され、少なくとも一部が前記障壁材料内に埋め込まれた補強構造と、前記第二の表面に固定されたアウトソールであって、当該アウトソールの少なくとも1つの側部が前記側壁に延びて接合されているアウトソールとを備えていてもよい。
【0023】
前記側壁は、前記第二の表面に隣接する後退領域を画定してもよく、この場合、前記アウトソールの前記側部は、前記後退領域内に延びていてもよい。
前記補強構造の外部表面は、前記アウトソールの外部表面と面一であってもよい。
前記後退領域の一部は、当該履物の前方領域に位置してもよい。前記後退領域の一部は、当該履物のかかと領域に位置してもよい。
【0024】
前記後退領域の一部は、当該履物において体の中心線に相当する側および体の外側に相当する側の両方に位置してもよい。
履物は、アッパーと前記アッパーに固定された履物の底構造とを有してもよく、この場合、前記履物の底構造は、加圧された流体を閉じ込める障壁から形成された袋状部材であって、第一の表面、および反対側の第二の表面を含む袋状部材と、前記袋状部材の外部に固定され、少なくとも一部が前記側壁に埋め込まれた補強構造とを備えていてもよく、この場合、前記袋状部材および前記補強構造は、当該履物のかかと領域に位置してもよく、この場合、前記袋状部材は、当該履物の中間領域でテーパー部を形成していてもよく、この場合、前記テーパー部において、前記第一の表面は、前記第二の表面に近づくと、前記袋状部材の厚みが減少してもよい。
【0025】
前記テーパー部は、発泡要素と連結されていてもよく、この場合、前記発泡要素は、前記テーパー部から当該履物の前方領域に延びていてもよい。
前記発泡要素の一部は、前記テーパー部の上方に延び、前記第一の表面に接触していてもよい。
履物は、アッパーと前記アッパーに固定された履物の底構造とを有してもよく、この場合、前記履物の底構造は、加圧された流体を閉じ込めるポリマー製障壁から形成された袋状部材であって、前記アッパーに隣接して位置する少なくとも第一の表面、反対側の第二の表面、および前記第一の表面と前記第二の表面との間に延びる側壁を含む袋状部材と、前記袋状部材の外部に固定され、少なくとも一部が前記側壁材料に埋め込まれた補強構造と、前記第二の表面に固定されたアウトソールであって、第一の部分および第二の部分を含み、前記第一の部分が第一の材料で形成され、当該履物のかかと領域に位置し、前記第二の部分が第二の材料で形成され、前記第一の材料が前記第二の材料より高い剛性を有するアウトソールとを備えていてもよい。
【0026】
前記第一の部分は、U字形状を有してもよい。
袋状部材と補強構造とを含む履物の底要素を組み込んだ履物において、袋状部材は障壁材料で形成され、また袋状部材は障壁材料に対して外向きの力を加える加圧された流体を内部に封じ込めていてもよい。補強構造は障壁材料内に少なくとも部分的に埋め込まれ、かつ障壁材料に接着されている。障壁材料に対する外向きの力によって、補強構造の少なくとも1部に応力を加えることができる。補強構造はまた、障壁材料に対する外向きの力により袋状部材の応力が低下すること、または外側に向かって膨張するのを規制することもでき、また補強構造は障壁材料よりも高い弾性係数を有する材料で形成することができる。
【0027】
袋状部材は、第一の表面およびその反対側の第二の表面を含んでもよい。第一の表面は、袋状部材の側壁よりも内側に間隔をあけて配置された複数の内部結合部により、第二の表面に結合することができる。更に袋状部材は、第二の表面内に形成された少なくとも1つの屈曲凹部を含むことができる。凹部は例えば袋状部材において体の外側に相当する側から袋状部材側部において体の中心線側に相当する側に向かって延びていてもよい。あるいはまた、大略的に長手方向に凹部が延びるようにしてもよい。内部結合部のうちの少なくとも1つが、第一の表面を凹部に結合するものとすることができる。
【0028】
補強構造は第一の部分、第二の部分および複数の連結部を含むことができる。第一の部分は、第一の表面と側壁との間の境界に位置し、また第一の部分は袋状部材において体の外側に相当する側に沿って、袋状部材のかかと領域の周囲を回り、かつ袋状部材において体の中心線側に相当する側に沿って延びることができる。第二の部分は第一の部分から間隔をあけて、第二の表面と側壁との境界に配置することができる。更に第二の部分は、袋状部材において体の外側に相当する側に沿って、袋状部材のかかと領域の周囲を回り、かつ袋状部材において体の中心線側に相当する側に沿って延びることができる。連結部は第一の部分と第二の部分との間で側壁に沿って延びることができ、また連結部は側壁内に埋め込んで形成される。連結部は第一の部分と第二の部分とに関して傾斜していてもよい。
【0029】
履物の底要素を製造する方法は、流体で充填された袋状部材をポリマー材料から成型する工程と、補強部材を袋状部材内に埋め込ませる工程と、補強部材を袋状部材に接着する工程とを含んでもよい。そのため、袋状部材を形成するポリマー材料を導入する前に補強部材を鋳型(金型)内に配置することができる。
本発明を特徴付ける新規の利点および特徴を、添付の特許請求の範囲において具体的に指摘する。しかし新規の利点および特徴をよりよく理解するために、本発明の様々な実施形態および概念を示す下記の説明および添付の図面を参照する。
【0030】
上で述べた発明の開示および以下の実施の形態の説明は、添付図面を参照して読むことでよりよく理解されるであろう。
【図面の簡単な説明】
【0031】
【図1】第一の履物の底要素を有する履物の側面図である。
【図2】第一の履物の底要素の第一の斜視図である。
【図3】第一の履物の底要素の第二の斜視図である。
【図4】第一の履物の底要素の第三の斜視図である。
【図5】第一の履物の底要素の上面図である。
【図6】第一の履物の底要素の底面図である。
【図7】第一の履物の底要素の第一の側面図である。
【図8】第一の履物の底要素の第二の側面図である。
【図9A】図5の切断線9A−9Aによる第一の履物の底要素の横断面図である。
【図9B】図5の切断線9B−9Bによる第一の履物の底要素の横断面図である。
【図9C】図5の切断線9C−9Cによる第一の履物の底要素の横断面図である。
【図9D】図5の切断線9D−9Dによる第一の履物の底要素の横断面図である。
【図9E】図5の切断線9E−9Eによる第一の履物の底要素の横断面図である。
【図9F】図7の切断線9F−9Fによる第一の履物の底要素の横断面図である。
【図9G】図1の切断線9G−9Gによる履物の横断面図である。
【図10】第一の履物の底要素の第一の展開斜視図である。
【図11】第一の履物の底要素の第二の展開斜視図である。
【図12A】第一の履物の底要素を形成するための金型の上型部分の上面図である。
【図12B】金型の上型部分の側面図である。
【図13A】金型の下型部分の上面図である。
【図13B】金型の下型部分の側面図である。
【図14A】第一の履物の底要素を形成するための製造工程を示す。
【図14B】第一の履物の底要素を形成するための製造工程を示す。
【図14C】第一の履物の底要素を形成するための製造工程を示す。
【図14D】第一の履物の底要素を形成するための製造工程を示す。
【図14E】第一の履物の底要素を形成するための製造工程を示す。
【図15】第二の履物の底要素の斜視図である。
【図16】第二の履物の底要素の展開斜視図である。
【図17】第三の履物の底要素の斜視図である。
【図18】第三の履物の底要素の展開斜視図である。
【図19】第三の履物の底要素の別の実施形態の斜視図である。
【図20】第三の履物の底要素の更に別の実施形態を示す履物の側面図である。
【図21】第四の履物の底要素の上面図である。
【図22】第五の履物の底要素を有する履物の側面図である。
【図23】第五の履物の底要素の斜視図である。
【図24】第六の履物の底要素を有する履物の側面図である。
【図25】第七の履物の底要素の斜視図である。
【図26】第八の履物の底要素の第一側面図である。
【図27A】図26の切断線27A−27Aによる第八の履物の底要素の横断面図である。
【図27B】図26の切断線27B−27Bによる第八の履物の底要素の横断面図である。
【図28】図9Eに対応する断面図であって、第一の履物の底要素の別の実施形態を示す。
【図29A】図9Cに対応する断面図であって、第一の履物の底要素の更に別の実施形態を示す。
【図29B】図9Cに対応する断面図であって、第一の履物の底要素の更に別の実施形態を示す。
【図30A】第九の履物の底要素の側面図である。
【図30B】第九の履物の底要素の側面図である。
【図31A】第十の履物の底要素の側面図である。
【図31B】第十の履物の底要素の側面図である。
【図32】第十一の履物の底要素のかかと領域の横断面図である。
【図33】第十二の履物の底要素の側面図である。
【図34】第十三の履物の底要素の側面図である。
【図35A】図34の切断線35A−35Aによる第十三の履物の底要素の横断面図である。
【図35B】図34の切断線35B−35Bによる第十三の履物の底要素の横断面図である。
【図36】アウトソールと組み合わせた第十三の履物の底要素の側面図である。
【図37A】図36の切断線37A−37Aによる第十三の履物底要素およびアウトソールの横断面図である。
【図37B】図36の切断線37B−37Bによる第十三の履物底要素およびアウトソールの横断面図である。
【図37C】図37Bに対応する断面図であって、代替的形状を示す。
【図38】第十四の履物の底要素を有する履物の外側の側面図である。
【図39A】第十四の履物の底要素の側面図である。
【図39B】第十四の履物の底要素の側面図である。
【図40A】アウトソールの底面の模式図である。
【図40B】アウトソールの底面の模式図である。
【発明を実施するための形態】
【0032】
序文
以下の説明および添付の図面は、履物の用途に適した履物の底要素の様々な実施形態を開示する。更に前記履物の底要素を製造する方法も開示する。履物の底要素および製造方法に関する概念を、ランニングに適した形状を有する履物を参照して開示する。この履物の底要素はランニング用に設計された履物に限定されるものではなく、例えばバスケットボールシューズ、各種スポーツの訓練に共用される履物、ウォーキングシューズ、テニスシューズ、サッカーシューズおよびハイキングブーツなど、広範囲の運動用履物のスタイルに適用可能である。この履物の底要素はまた、ドレスシューズ、ローファー、サンダルおよび作業靴を含む一般に運動以外の用途と考えられる履物のスタイルにも適用可能である。したがってここに開示される概念は、広範囲の履物のスタイルに適用される。
【0033】
図1に示す履物10はアッパー11と履物の底構造12とを含む。アッパー11には複数の材料要素(例えば布、フォームおよび皮革)を含むことができ、これら材料要素は縫い合わせるか接着して、足をしっかりとまた快適に受け入れる内部の空洞を形成する。これら材料要素を選択してアッパー11との相対的な位置関係に配置することにより、例えば耐久性、通気性、耐摩耗性、柔軟性および快適性のような特性を選択的に与えることができる。更にアッパー11は、内部空洞の寸法を変更するような通常の仕方で使用されるレース(靴紐)を含み、それにより内部空洞の中に足を固定し、足の内部空洞に対する出し入れを容易にする。レースはアッパー11内の開口を通って延びることができ、アッパー11のベロ部分は内部空洞とレースとの間に延びることができる。そのためアッパー11それ自体は、本発明の範囲内でほぼ通常の形状を有することができる。
【0034】
履物の底構造12はアッパー11に固定され、ミッドソール13とアウトソール14とを含む。通常のミッドソールは発明の背景で述べたように、主にポリウレタンまたはエチルビニルアセテートのような発泡ポリマー材料で形成される。通常のミッドソールの構造と異なり、ミッドソール13は図2〜図11に示すように、流体で充填された袋状部材30と外部の補強構造40とを含む履物の底要素20を組み込む。履物の底要素20は、ウォーキングやランニングその他の脚の運動の間、履物10が地面に当たるときに地面反力の減衰特性を行なう。更に履物の底要素20は安定性を与えるか、または回内運動程度の足の動きを制御することができる。アウトソール14はミッドソール13の下面に固定され、地面を捕捉するのに適した耐久性のある耐摩耗性の材料で形成される。履物の底構造12はまた、薄いクッション部材の形状を有するインソール18を含むこともできる。インソール18はアッパー11によって形成された内部空洞内で足裏表面に接触する位置に配置され、それにより履物10の全体としての快適性を増強する。
【0035】
下記の説明では、履物10、アッパー11および履物の底構造12の様々な一般的領域を、それらの相対的な位置関係に基づいて参照する。参照の目的のために、履物10を図1に示すように前方領域15、中間領域16およびかかと領域17の3つの一般的な領域に分ける。前方領域15は一般に、足指および中足骨と指の骨とを結合する関節に対応する履物10の部分を含む。中間領域16は一般に、足のアーチ部分に対応する履物10の部分を含み、かかと領域17はかかとの骨を含む足の後方部分に対応する。領域15〜17は履物10の各領域を正確に区分するものではない。そうではなく、以下の説明の理解を助けるために、履物10の一般的な各領域を表すものである。履物10だけではなく、各領域15〜17はアッパー11、履物の底構造12およびそれらの各要素にも適用される。
履物の底要素の構造
履物の底要素20は、上側表面21とその反対側の下側表面22とを含む。上側表面21は接着などの通常の仕方でアッパー11に固定され、足の裏の表面の形に適合するような形状とすることができる。そのため、上側表面21はかかと領域15の高さを前方領域15の高さよりも高くすることができ、中間領域16はそれらの間の高さの移行領域である。履物の底要素20の全体の厚みの差は、かかと領域15の高さが前方領域15よりも高いことに対応するものである。一般に履物の底要素20の厚みは、例えば前方領域15の先端部分での0.15インチから、前方領域15と中間領域16との境界での約0.70インチまで変化することができる。同様に、履物の底要素20の厚みは、かかと領域17内で、例えば0.70インチから、約1.20インチまで変化できる。
【0036】
履物の底要素20の全体形状は、図5および図6の平面図に示すように、足の形状に対応する。したがってかかと領域17の幅は足の様々な幅寸法を受け入れるように、前方領域15の幅よりも小さくすることができる。アウトソール14も下側表面22に、接着などの通常の仕方で固定される。上側表面21および下側表面22に加えて、履物の底要素20は外側(体の外側に相当する側の)面23とその反対側の内側(体の中心線側に相当する側の)面24とを含む。両方の側面23および24はミッドソール13の露出した部分であり、かかと領域17と前方領域15との間の高さの差に対応して、かかと領域17から前方領域15にかけてテーパー形状を有する。
【0037】
袋状部材30の主な要素は上部障壁(バリア)層31および下部障壁(バリア)層32であり、これらは袋状部材30に収容される加圧流体をほとんど透過させない。上部障壁層31および下部障壁層32はそれぞれの外周に沿って互いに接着されて外周結合部33を形成し、協働して加圧流体が入る封止チャンバーを形成している。袋状部材30に収容される加圧流体は、障壁層31および32に外向きに働き障壁層31と障壁層32とを分離するか、またはそれらを外向きに押し付ける力を生じ、それにより障壁層31および32を膨張させる。加圧流体の外向きの力による障壁層31および32の外向きの膨張の程度を規制するために、複数の内部結合部34が障壁層31と障壁層32との間に形成されている。内部結合部34は両側面23および24から内側に間隔を置いて配置され、履物の底要素20全体にわたって分布している。内部結合部34がなければ、加圧流体が生じる外向きの力は袋状部材30を丸いまたは膨らんだ形状とし、上側表面21および下側表面22に対応する部位では特にその傾向がある。しかし内部結合部34を設けることにより、障壁層31と32の外向きの膨張の程度が規制され、上側表面21および下側表面22の所望の形状が維持される。
【0038】
内部結合部34は本発明の範囲内で様々な形状を有することができる。内部結合部34によって形成された凹部は、かかと領域17における履物の底要素20の全体の厚みが大きいので、前方領域15内におけるよりもかかと領域17内の方が深くなる。更にかかと領域17内の内部結合部34の各々の面積は、前方領域15内の内部結合部34の各々の面積よりも一般に大きい。内部結合部34の上側表面21および下側表面22との相対的な位置も変えることができる。例えば内部結合部34は上側表面21に接近して、または両表面21および22の中間に、または下側表面22に接近して配置してもよい。
【0039】
ランニングまたはウォーキングの際、履物の底要素20は一般に足の自然な屈曲、特に前方領域15における屈曲に合わせて屈曲する。履物の底要素20の屈曲を容易にするために、1対の屈曲凹部35が袋状部材30に形成されている。各々の屈曲凹部35は、袋状部材30の下部を横方向に横切って延びている。すなわち、屈曲凹部35は側面23および24の間に延び、かつ屈曲凹部35は下側表面22内に形成される。屈曲凹部35の位置はまた、足の中足骨と近接する指の骨との間の関節の平均的位置に基づいて選択される。より具体的には、1つの屈曲凹部35が中足骨と近接する指の骨との間の関節の前方に位置し、他の屈曲凹部35が中足骨と近接する指の骨との間の関節の後方に位置するように、屈曲凹部35は配置されている。屈曲凹部35の具体的な位置は、例えば中足骨と近接する指の骨との間の関節の解剖学的データの統計から得られる平均位置から、標準偏差の3倍離れた位置とすることができる。しかし履物の底要素20の具体的な形状および意図した用途によっては、屈曲凹部35の位置は上で述べた位置から大きく異なる可能性がある。
【0040】
屈曲凹部35は横方向に(すなわち側面23および24の間で)下側表面22を横切って延びる。ランニングその他様々な運動のための履物構造にとってこの構成が適しているが、バスケットボール、テニスまたは各種スポーツの訓練などの運動のための構造を有する履物においては、屈曲凹部35は大略的に長手方向(すなわち前方領域15とかかと領域17との間)に延びていてもよい。したがって屈曲凹部35は、履物の底要素20内に規定される屈曲線を与えるために、様々な方向に延びることができる。図ではまた屈曲凹部35を、袋状部材30を完全に横切って延びるように描いている。しかし実施形態によっては、屈曲凹部35は袋状部材30の一部のみを部分的に横切って延びてもよい。
【0041】
屈曲凹部35は履物の底要素20の厚みを低減させた部分を規定する。物体を曲げるのに要する力の程度は一般にその物体の厚みに依存するので、屈曲凹部35の領域における履物の底要素20の低減した厚みは屈曲を容易にする。更にアウトソール14の部分は屈曲凹部35内に延設されていてもよく、それにより履物の底構造12の他よりも硬くて圧縮しにくい部分を形成することができるが、このようにしても屈曲凹部35の周囲の屈曲が容易になる。
【0042】
屈曲凹部35は、様々な内部結合部34の位置に対応する凹部を下側表面22に形成している。図9Dは、1つの屈曲凹部35を通る断面を示す。この領域に関して、内部結合部34は下に向かって延び、屈曲凹部35を規定する下部障壁層32の部分に上部障壁層31が接着されている。従来の袋状部材のいくつかは、屈曲点を形成する結合部を含み、これら屈曲点はその領域に流体クッションが存在しないために比較的硬い部分を形成する可能性がある。すなわち屈曲点は一般に、従来の袋状部材の非クッション領域を形成していた。従来技術における屈曲点とは異なり、屈曲凹部35は内部結合部34を屈曲凹部35に結合する領域に、袋状部材30の流体で充填された部分を形成する。言い換えれば、屈曲凹部35と上部障壁層31との間に流体を含む空間が形成され、それにより屈曲凹部35が屈曲を許容すると同時に地面反力の減衰特性を与えるという利点をもたらす。あるいはまた、屈曲凹部35を規定する区域内には内部結合部34を形成しなくてもよい。
【0043】
袋状部材30、特に障壁層31および32にはポリウレタン、ポリエステル、ポリエステルポリウレタンおよびポリエーテルポリウレタンを含む様々な熱可塑性ポリマー材料を使用できる。袋状部材30に適した別の材料は、引用により本明細書に組み込まれるMitchellの上記特許文献3および上記特許文献4に開示されているように、熱可塑性のポリウレタンおよびエチレンビニルアルコールコポリマーの各層を交互に重ねて得られるフィルムである。この材料の変形で、中央の層がエチレンビニルアルコールコポリマーで形成され、中央の層に隣接する2層が熱可塑性のポリウレタンで形成され、外側の層が熱可塑性ポリウレタンおよびエチレンビニルアルコールコポリマーの粉砕再生材料で形成されたものも使用できる。袋状部材30はまた、引用により本明細書に組み込まれるBonkの上記特許文献5および上記特許文献6に開示されているように、気体障壁材料とエラストマー材料とを交互に重ねた各層を含む柔軟な微細膜で形成することもできる。更にDow Chemical Companyの製品であるPELLETHANE、BASF Corporationの製品であるELASTOLLAN、およびB.F. Goodrich Companyの製品であるESTANEは全てエステルまたはエステル系材料であるが、このような多くの熱可塑性ウレタンを使用できる。更にポリエステル、ポリエーテル、ポリカプロラクトンおよびポリカーボネート・マクロゲルからなる他の熱可塑性ウレタンも使用でき、様々な窒素ブロック材料も使用できる。その他の適切な材料が、引用により本明細書に組み込まれるRudyの上記特許文献1および上記特許文献2に開示されている。更に別の適切な材料は、引用により本明細書に組み込まれるRudyの上記特許文献7および上記特許文献8に開示された結晶性材料を含む熱可塑性フィルム、ならびに引用により本明細書に組み込まれるBonkの上記特許文献9、上記特許文献10、および上記特許文献11に開示されているポリエステルポリオールを含むポリウレタンを含む。
【0044】
袋状部材30内の流体は、例えばヘクサフルオロエタンおよび6フッ化硫黄のような、引用により本明細書に組み込まれるRudyの上記特許文献12に開示されている気体の内の任意のものであってよい。流体はまた、圧縮された8フッ化プロパン、窒素または空気のような気体を含むこともできる。気体に加えて、様々なゲルまたは液体を袋状部材30の中に封入してもよい。このように、袋状部材30には様々な流体が適している。圧力に関しては、適切な流体圧力は15psiであるが、0〜30psiの範囲であってよい。したがって袋状部材30内の流体圧力を比較的高くするか、または周囲圧力とするか、または本発明のある実施形態では周囲圧力よりもわずかに高くしてもよい。
【0045】
補強構造(構造体)40は袋状部材30の外側に接着その他の方法で固定された補強ケージを形成する。一般に、履物の底構造40は袋状部材30の外周部分の周囲に延び、補強構造40の各部分は履物の底要素20の側面23および24に沿って延びる。そのため補強構造40は上側表面21および下側表面22の間に延びている。更に、補強構造40を形成する材料は、袋状部材30を形成する材料よりも高い弾性率を有する。これにより補強構造40の形状および材料特性は履物の底要素20に補強効果を与えることができる。
【0046】
内部結合部34は上で説明したように、特に上側表面21および下側表面22に対応する部分では、障壁層31および32の外向きの膨張の程度を規制するために、側面23および24から内側に間隔をあけて配置されている。しかし内部結合部34は側面23および24の外向きの膨張を大幅に規制しない可能性がある。ゆえに、補強構造40の1つの目的は、側面23および24における外向きの膨張の程度を規制し、それにより履物の底要素20の所望の全体形状を保持することである。
【0047】
補強構造40は上側部分41、下側部分42および複数の連結部43を含む。上側部分41は大略的にU形の形状を示し、上側表面21と側面23および24との境界に位置する。したがって上側部分41は、外側面23に沿って前方領域15からかかと領域17に延び、かかと領域17の周囲に延び、更に内側面24に沿って前方領域15からかかと領域17に延びている。下側部分42もまた大略的にU形の形状を示し、下側表面22と側面23および24との境界に位置する。上側部分41は上側表面21と側面23および24の両方の部分とにわたって延びるが、下側部分42は側面23および24にわたって延びる。すなわち、下側部分42は下側表面22に隣接する側面23および24の部分を覆うが、下側部分42は一般に下側表面22にわたっては延びない。下側部分42はかかと領域17を通って延び、中間領域16内に延びていてもよい。しかし図示のように、下側部分42は前方領域15内には延びていない。連結部43は側面23および24に沿って延び、また上側部分41および下側部分42の間でも延びている。連結部43は上側部分41と下側部分42との間で、対角線方向に延びる。より具体的には、連結部43は前方に傾斜した形状を示すが、実質的に鉛直であっても後ろ向きに傾斜していてもよい。
【0048】
上側部分41、下側部分42および連結部43は協働して、袋状部材30の各部を露出する複数の開口を形成している。開口は少なくともかかと領域17において側面23および24に沿って延び、また開口の形状は一般に連結部43の向きならびに上側部分41および下側部分42の形状に依存する。補強構造40を通って形成される開口は、例えば平行四辺形、楕円、六角形、三角形、円または様々な非幾何学的な形状など、色々な形状を有することができる。開口の形状は、補強構造40の圧縮特性に影響を与える可能性があり、したがってその選択により補強構造40に特定の特性を与えることができる。
【0049】
補強構造40は側面23および24における外向きの膨張の程度を規制し、それにより履物の底要素20の所望の全体形状を保持する。すなわち、袋状部材30内の加圧流体は障壁層31および32を外側に向かって押し、補強構造40は側面23の流体による膨張を抑制する。したがって補強構造40の各部は加圧流体によって応力を与えられている。上側部分41および下側部分42もそのような応力を受ける可能性があるが、側面23および24に沿って延びる連結部43の方が一般に大きな応力を受ける。その結果、連結部43は流体の圧力によって応力を受けた状態となり、側面23および24において外側に向かう膨張の程度を規制するように作用する。
【0050】
上で述べた補強構造40の具体的な構成は、図2〜図11に示した、本発明の一実施形態による補強構造40を理解するためのものである。しかし、本発明の別の実施形態では、補強構造40の構成は大幅に変更することができる。例えば上側部分41をかかと領域17および中間領域16に制限してもよく、上側部分41を上側表面21の一部のみにわたって延びるようにしてもよく、または上側部分41を側面23および24の一部のみにわたって延びるようにしてもよい。同様に、下側部分42は領域15〜17の各々を通って延び、または下側表面22の一部のみにわたって延びるようにしてもよい。連結部43もまた中間領域16および前方領域15内の側面23および24に沿って延びる構成とすることができ、連結部43の数および寸法は大幅に変更することができる。このように補強構造40は本発明の範囲内で様々な構成を有することができる。
【0051】
補強構造40は袋状部材30に埋め込まれており、補強構造40の外側表面が大略的に袋状部材30の表面21〜24と面一となっている。図9Fは履物の底要素20の一部の横断面図である。この横断面図に示すように、連結部43の外側表面は大略的に外側面23と面一である。ゆえに、外側面23は連結部43を収容する凹部を形成している。すなわち、外側面23は袋状部材30内方に向かってカーブして、その中に連結部43が配置される凹部を形成する。このようにして、補強構造40のそれぞれの外側表面は、袋状部材30の表面21〜24と概略面一となる。補強構造40の各外側表面を袋状部材30の表面21〜24と概略一面とすることにより、履物の底要素20に滑らかな外面形状を与えるという利点が得られる。しかし本発明のいくつかの実施形態では、補強構造40の外側表面は袋状部材30内に引っ込み、または袋状部材30から外側に突出していてもよい。
【0052】
補強構造40を受け入れる様々な凹部を図10の展開図に示す。より具体的には、袋状部材30は第一の凹部51、第二の凹部52および複数の第三の凹部53を規定している。第一の凹部51は上側部分41の位置に対応し、したがって上側表面21の周囲に沿って延びる。第一の凹部51の各部はまた上側表面21と側面23および24との境界において側面23および24に沿って延びている。第二の凹部52は下側部分42の位置に対応し、したがってかかと領域17と中間領域16の一部における外周結合部33とに隣接して配置されている。また複数の第三の凹部53は連結部43の位置に対応して、第一の凹部51と第二の凹部52との間に延びている。
【0053】
例えば射出成型または圧縮成型法を使用して、広範囲の材料から補強構造40を形成することができる。補強構造40に適した材料には、ポリエステル、熱硬化性ウレタン、熱可塑性ウレタン、様々な組成のナイロン、これらの材料の混合物、またはグラスファイバーを含む混合物が含まれる。更に補強構造40は、Atofina Companyが製造するPEBAXのような曲げ弾性率の高いポリエステルブロックアミドで形成することもできる。ポリエステルブロックアミドは本発明にとって有利な様々な特性を与えるが、その中には低温における高い衝撃抵抗、−40℃から+80℃までの温度範囲で特性がほとんど変化しないこと、多くの化学物質による劣化に対する耐久性、および繰り返し曲げによるヒステリシスが小さいことなどがある。補強構造40に適した別の材料として、E.I. duPont de Nemours and Companyが製造するHYTRELのようなポリブチレンテレフタレートがある。補強構造40の強度を高めるために、上で述べたポリマー材料にグラスファイバーまたはカーボンファイバーを組み込んで複合材料を形成してもよい。
【0054】
上で述べたように、補強構造40を形成する材料は袋状部材30を形成する材料よりも高い弾性係数を有する。袋状部材30を形成する材料は一般に柔軟であるが、補強構造40を形成する材料は半剛性または剛性の特性を示してもよい。袋状部材30と補強構造40との間の比較は、融点および再結晶温度に関係することもある。以下で詳述するように、袋状部材30を形成する材料と補強構造40を形成する材料とは成型工程で結合される。袋状部材30および補強構造40の融点および再結晶温度はかなり異なることがあるが、融点の差は35℃未満、再結晶温度の差は少なくとも5℃であることが製造工程にとって有利である。実施形態によっては、袋状部材30を形成する材料の最大引っ張り強さは、補強構造40を形成する材料の最大引っ張り強さよりも低いことがある。
【0055】
補強構造40は単一の材料で形成してもよいが、本発明のいくつかの実施形態においては2種類以上の材料を補強構造40に組み込んでもよい。例えば上側部分41は、下側部分42および連結部43を形成する材料よりも剛性の低い材料で形成することができる。この構成ではアッパー11に隣接してやわらかい材料を備えることで、履物10の快適性を向上し、かつ履物の底構造12およびアッパー11の間の接着を促進することができる。補強構造40の外側部23に対応する部分もまた、補強構造40の内側部24に対応する部分よりも剛性の低い材料で形成することができる。更に実施形態によっては、補強構造40全体で材料を変化させ、補強構造40の特定の部分に特定の圧縮性、安定性、および柔軟性などの特性を与えることができる。
【0056】
履物の底要素20は上記のようにランニング、ウォーキングその他の歩行運動の際に履物10が地面に当たる時、地面からの反力を減衰させるものである。更に履物の底要素20は安定性を与え、または回内運動の程度などの足の動きを制御することもできる。履物の底要素20から得られる地面反力の減衰特性の程度、および履物の底要素20が足の動きを制御する仕方は主に、袋状部材30および補強構造40の両方の構成と、袋状部材30および補強構造40を形成する材料の特性によって定まる。そのため袋状部材30および補強構造40の両方の構成およびそれに使用される材料を様々に変更して、履物の底構造12の地面反力の減衰特性および運動制御特性を調整または制御することができる。履物10の地面反力の減衰特性および運動制御特性を制御するために履物の底要素20を構成する仕方については、続く説明において詳細に説明する。
【0057】
下側表面22は履物の底要素20の後方外側部において上向きに切り込まれた部分25を形成し、かかとが接地した後で履物が滑らかに前方かつ内側(体の中心線側)に向かってローリング運動をできるようにしている。図1、図6、および図7に示すように、袋状部材30および補強構造40が下側表面23を形成するそれぞれの部分の鉛直方向の厚みは、かかと領域17の後方部分において減少する。切り込まれた部分25を形成する厚みを減少させる根拠は、ランニング中の足の典型的な動きに対応しており、それは次のように進む。まずかかとが地面に当たり、続いて足の親指の付け根のふくらみが接地する。かかとが地面から離れると、足は前方にローリングしてつま先が接地し、最後に足全体が地面を離れて次のサイクルが始まる。足が地面に接触して前方にローリングしている間、足は外側つまり外側部から内側すなわち内側部に向かってもローリング運動を行なうが、これが回内運動と呼ばれる。足が空中にあって次のサイクルに入ろうとしている間に、回外運動と呼ばれる逆のプロセスが起きる。
【0058】
切り込まれた部分25の利点は、履物の底構造12の後方外側部だけが地面に接触しているかかと接地時の位置(姿勢)から、アウトソール14の大部分が地面に接触している位置(姿勢)まで、履物10が滑らかに移行することを可能にすることである。つまり切り込まれた部分25があるために、履物10はかかとが接地した後で前方に向かって、また内側(体の中心線に相当する側)部に向かって滑らかにローリングを行なえる。袋状部材30の場合のように、切り込まれた部分25を形成するために補強構造40の厚みも低減される。更にまた、切り込まれた部分25の位置において2つの隣接する連結部43の間に空間ができるように、連結部43の位置が選定される。隣接する連結部43の間の空間は更に、切り込まれた部分25の位置において履物の底要素20の圧縮性を高めることにより、かかと接地時の位置(姿勢)からの移行を滑らかにする。
【0059】
履物の底要素20の特定の部位の圧縮性は、履物の底要素20の地面反力の減衰特性および運動制御特性に影響を与える。一般に周辺領域(すなわち側面23,24に隣接する領域)が内部領域よりも圧縮性が低くなるように履物の底要素20を形成することにより、履物の底要素20の安定性を高めることができる。履物の底要素20の外周領域の圧縮性を低くする1つの方法は、補強構造40によるものである。履物の底要素20の外周領域の周囲に履物の底構造40を配置することと、補強構造40の形成に半剛性の曲がりにくい材料を使用することとを組み合わせれば、外周部の圧縮性を低くし、それによって安定性を高めることができる。
【0060】
複数の内部結合部34の分布および構成も、履物の底要素20の圧縮性および柔軟性に影響を与える。一般に内部結合部34は両側面23および24から内側に間隔を置いて配置され、また内部結合部34は互いに間隔をあけて配置される。内部結合部34は袋状部材30に凹部を形成する。表面21および22は大略的に水平であるが、障壁層31および32を形成する材料は大略的に鉛直方向に延びて、内部結合部34の凹部を形成する。履物の底要素20が圧縮される間、鉛直方向に延びて内部結合部34を形成する材料も圧縮、曲がりその他の変形を受け、それにより内部結合部34に直接隣接する領域における履物の底要素20の圧縮性を低減する。すなわち、内部結合部34の存在により、内部結合部34に直接隣接する領域における履物の底要素20の圧縮性が低くなる。
【0061】
足が外側つまり外側部から内側すなわち内側部に向かってローリングする回内運動は、ランニング中の足の自然な動きである。しかし一般に望ましくないと考えられる程度の回内運動を行なう人もあり、そのため履物の底要素20は回内運動の程度を制限するように構成されることがある。上で述べたように、内部結合部34は特定の領域における履物の底要素20の圧縮性を低くする。例えば多数の内部結合部34を履物の底要素20の内側(体の中心線側に相当する側)部に配置することにより、内側部の圧縮性を低下させることができる。足が外側部から内側部に向かってローリングすると、高くなった圧縮性が足の回内運動の程度を制限するように作用することができる。このようにして、回内運動のような足の動きを制御するように、内部結合部34の分布を選択することができる。
【0062】
履物の底要素20の地面反力の減衰特性および運動制御特性はまた、補強構造40の構成によっても影響される場合がある。上側部分41、下側部分42および連結部43の寸法を選択して、補強構造40の各部に特定の程度の柔軟性と圧縮性とを与えることができる。例えば上側部分41の全体の厚みを変化させることにより、履物の底要素20の外周部分の圧縮性を選択できる。同様に、連結部43の寸法または数を変更することにより、かかと領域17の圧縮性を選択できる。補強構造40の厚みを上側部分41と下側部分42との間で逓減(テーパー)して、補強構造40の圧縮性を制御し、または圧縮中に補強構造が褶曲または折れ曲がる程度を制限することもできる。更にまた、連結部43の中央部分を上側部分および下側部分よりも厚くして、例えば特定の圧縮性を持たせることもできる。本発明のいくつかの実施形態では、補強構造40は2種類以上の材料で形成できる。これまで説明したように、内側(体の中心線側に相当する側)部での圧縮性が小さくなるような履物の底要素20の構造にすれば、足の回内動作の程度を小さくできる。そのため補強構造40の外側部に対して選定される材料は、補強構造40の内側部に対して選定される材料よりも弾性係数を小さくし、それにより内側部の圧縮性を低減できる。
製造方法
履物の底要素20に適した1つの製造方法は、図12A〜図13Bに示すように金型(鋳型)100を使用する。金型100は上部金型部分110とそれに対応する下部金型部分120とを含む。両金型部分110および120は合体させられると履物の底要素20の外部寸法とほぼ等しい寸法を有する空洞を形成する。金型100は、袋状部材30を熱形成すると同時に、袋状部材30の外面に補強構造40を接着その他の方法で固定するのに使用できる。一般に、補強構造40は上部金型部分110内に配置され、2枚の熱可塑性ポリマー製シートが両金型部分110および120の間に配置される。次に熱可塑性シートを金型100の形状に吸引し、両熱可塑性シートの少なくとも1方が補強構造40に接触してこれに接着されるようにする。更に両金型部分110および120が両熱可塑性シートを互いに押し付けて外周の結合部33を形成する。両熱可塑性シートが袋状部材30の形状に適合すると、補強構造40が熱可塑性シートに接着され、外周結合部33が形成され、そして袋状部材30に流体で圧力をかけて封止することで履物の底要素20を形成することができる。
【0063】
図12Aおよび図12Bに個別に図示した上部金型部分110は、上側表面21と側面23および24とに対応する履物の底要素20の部分を形成する空洞を含む。空洞111の周囲には峰部112が延び、外周結合部33を形成する役割の一部を果たす。更に複数の突起113が空洞111の表面から延びて、内部結合部34を形成する役割の一部を果たす。このようにして、峰部112によって区切られた領域内にある上部金型部分110の領域が、上側表面21と側面23および24とを形成する。峰部112の延長部分が空洞111から外に向かって延び、L字形のチャンネル114を形成する。以下で詳細に説明するように、チャンネル114は履物の底要素20内に注入される流体が通る通路を形成するために使用される。上部金型部分110の別の特徴は、空洞111全体に分布する複数の排気孔115である。排気孔115は、履物の底要素20の形成中にポリマー材料の熱可塑性シートが上部金型部分110の形状に吸引されるときの空気の出口である。
【0064】
図13Aおよび図13Bに個別に図示した下部金型部分120は、下側表面22に対応する履物の底要素20の部分を形成する表面121を含む。峰部122が表面121の周囲に延び、峰部112と組み合わされて外周結合部33を形成する役割を果たす。更に複数の突起123が表面121から延びて突起113と合体し、内部結合部34を形成する。このようにして、峰部122によって区切られた領域内にある下部金型部分120の領域が、下側表面22を形成する。峰部122の延長部分が表面121から外に向かって延び、L字形のチャンネル124を形成する。チャンネル124はチャンネル114と合体して、履物の底要素20内に注入される流体が通る通路を形成する。下部金型部分120の別の特徴は、表面121全体に分布する複数のスロット排気孔125である。排気孔125は、履物の底要素20の形成中にポリマー材料の熱可塑性シートが下部金型部分120の形状内に吸引されるときの空気の出口である。
【0065】
補強構造40と障壁層31および32とから履物の底要素20を形成するための金型100の使用方法を次に説明する。上記の材料から補強構造40を形成するには、例えば射出成型法を使用できる。次に例えば離型剤や指紋のような汚れを表面から除去するために、補強構造40を洗剤またはアルコールで洗浄する。更に補強構造40の表面にプラズマ処理を施して、袋状部材30との接着性を向上させてもよい。
【0066】
補強構造40を形成して洗浄したら、それぞれ図14Aおよび図14Bに図示したように、金型部分110および120の間に補強構造40を挟んでから上部金型部分110内に位置させる。上で説明したように、上部金型部分110は上側表面21と側面23および24とに対応する履物の底要素20の各部を形成する。上で述べた履物の底要素20の実施形態では、補強構造40は一般に上側表面21と側面23および24とに接着される。そのため補強構造40を図14Bに図示したように上部金型部分110内に位置させるときは、履物の底要素20を形成するプロセスのために金型100に関して補強構造40を正確な位置に配置する。補強構造40を上部金型部分110内に固定するには、例えば真空システム、各種シール、または非恒久的な接着要素を含む様々な方法を利用できる。更にまた補強構造40は開口を規定する様々なタブを含んでもよく、また上部金型部分110は補強構造40を上部金型部分110内に固定するために開口に係合する突起部を含んでもよい。
【0067】
金型100を通る複数の管路を延設して、水のような加熱液体を金型100に通すことができる。加熱液体は金型100全体の温度を約180°Fに上昇させる。上で述べたように、補強構造40は上部金型部分110内に位置しており、また補強構造40は金型100から熱を伝達することにより補強構造40の温度を約180°Fに上昇させる。本発明の実施形態によっては、補強構造40を金型100内に配置する前に加熱して製造時間を短縮することができる。
【0068】
補強構造40を上部金型部分110内に配置した後で、障壁層31および32を形成する1対の熱可塑性ポリマー製シートが、加熱され、その後、図14Cに示すように金型部110および120の間に配置される。障壁層31および32の加熱温度は、使用される具体的な材料に依存する。上で述べたように障壁層31および32は様々な材料で形成することができ、例えば350°F〜360°Fの溶融温度を有する熱可塑性のポリウレタンおよびエチレンビニルアルコールコポリマーの各層を交互に重ねたものを含む様々な材料で形成できる。障壁層31および32の表面を加熱する温度は400°F〜450°Fの範囲とすることができ、これにより内部が溶融せずに障壁層31および32の表面を溶融することができる。
【0069】
成型前の上部障壁層31の厚みは下部障壁層32の厚みよりも大きくすることができる。障壁層31および32は成型前に異なる厚みを有していてもよいが、障壁層31および32の各々が、成型前にほぼ一様な厚みを有していてもよい。成型前の上部障壁層31の適切な厚みの範囲は0.045インチ〜0.090インチであり、好適な厚みは0.075インチである。成型前の下部障壁層32の適切な厚みの範囲は0.045インチ〜0.065インチであり、好適な厚みは0.055インチである。下部障壁層32は下側表面22のみを形成するが、上部障壁層31は上側表面21と側面23および24とを形成する。異なる厚みにする理由は、上側表面21と側面23および24との両方を形成するために上部障壁層31の方がより大幅に伸びられるようにするためである。そこで、障壁層31と障壁層32との間の伸張前の最初の厚みの差により、上側表面21と側面23および24とを形成する際に、上部障壁層31が引き伸ばされまたは他の変形を受けたときに起きる上部障壁層31の厚みの減少を補う。
【0070】
障壁層31および32が所定の位置に配置されると、峰部112と峰部122との位置が合わされ、複数の突起部113と突起部123との位置が合うように、金型部分110および120が配置される。この位置において、履物の底要素20の対応する各部分を形成する金型部分110および120の各領域は、障壁層31および32の対向する両側に位置しており、かつ互いに位置が合わされている。次に図14Dに示すように、金型100が接触して障壁層21および32を圧縮するように、金型部分110と金型部分120とが互いに接近するように移動する。
【0071】
金型100が接触して障壁層31および32の各部を圧縮すると、大気圧よりも高い圧力の流体、例えば空気が障壁層31と障壁層32との間に注入され、障壁層31および32をそれぞれ金型部分110と金型部分120とに接触させてその形状に合わせて変形させる。障壁層31と金型部分32との間の領域を加圧するには、様々な方法を使用できる。例えばチャンネル114および124によって形成された管路を通って流体を送ることができる。すなわち障壁層31および32の間、またチャンネル114および124の間に針を挿入して流体を供給し、管路を通って履物の底要素20を形成する領域内に流体を流し込む。障壁層31および32の間と金型部分110および120との間の領域から排気孔115および125を通しても空気を抜き、障壁層31および32を金型部分110および120の表面に向かって引き込んでもよい。すなわち、障壁層31および32の間と金型部分110および120の表面との間を少なくとも部分的に真空状態にするのである。更にまた障壁層31および32を金型部分110および120の表面に向かって引き込むことにより、障壁層31および32が補強構造40と接触することになる。このようにして製造工程のこの部分において、障壁層31および32は補強構造40と接触しかつ接着される。
【0072】
障壁層31および32の間の領域が加圧され、障壁層31および32の間の領域と金型部分110および120の間の領域とから空気が排出されると、障壁層31および32は金型100の形状に合わせて変形して互いに接着される。より具体的には、障壁層31および32は引き伸ばされ、曲げられ、または他の形で空洞111の表面および表面121に沿って延び、袋状部材30の大略的な形状を形成する。峰部112および峰部122もまた障壁層31および32の直線状部分を圧縮して外周結合部33を形成する。更に障壁層31および32は突起部113および123の形状に適合し、突起部113および123の間で圧縮されることにより互いに接着され、内部結合部34を形成する。
【0073】
障壁層31および32は空洞111の表面および表面121に沿って延びるように変形するが、上部障壁層31は一般に空洞111の補強構造40によって覆われた部分には接触しない。その代わりに上部障壁層31は補強構造40の内側に向いた表面に接触してこれに押し付けられ、それにより上部障壁層31は補強構造40に接着される。図9Fでは、連結部43の外側に向いた表面は一般に外側面23と面一であり、そして外側面23は連結部43を受け入れる凹部を形成する。すなわち外側面23は袋状部材20内に向かってカーブして、その中に連結部43が配置される凹部を形成する。この構成は、補強構造40が上部金型部分110内に配置され、上部障壁層31が補強構造40の内側に向いた表面に押し付けられて補強構造40に接着される仕方の結果として生じるものである。
【0074】
補強構造40の内側に向いた各表面は、袋状部材30の表面21〜24と概略面一である。障壁層31および32の間の領域が空気によって加圧され、更に金型100から排気孔115および125を通って空気が排出されると、上部障壁層31と補強構造40との両方が空洞111の表面に押し付けられる。上部障壁層31は補強構造40の内側に向いた表面に接触して補強構造40の形状に変形し、補強構造40の周囲に延びそして空洞111の表面に接触する。このようにして、補強構造40の表面は袋状部材30の表面21〜24と概略面一に形成される。
【0075】
障壁層31および32は金型100の形状に適合して互いに接着され、上部障壁層31は上側部分41の位置で曲げられて側面23および24を形成する。したがって上部障壁層31は概略水平方向に延びて上側表面21を形成し、また上部障壁層31は上側部分41の位置で曲げられて概略鉛直方向に延びて側面23および24を形成する。このように袋状部材30の形成工程の間に上側表面21と側面23および24とを形成するために上部障壁層31は曲げられる。
【0076】
補強構造40と袋状部材30との間の境界で面一とすることを可能にするために、上側表面40の縁部は図9Fに示すように傾斜をつけられた(面取りされた)形状を有する。一般に補強構造40が傾斜の無い長方形の断面を有するように形成されると、例えば上部障壁層31をより大きく引き伸ばさなければならず、その結果補強構造40に隣接する部位で上部障壁層31が薄くなって不都合をきたす恐れがある。更にまた傾斜が無いと、上部障壁層31と補強構造40との間に隙間が生じる可能性がある。そのため補強構造40は傾斜をつけられた縁部を有するように形成される。
【0077】
上部障壁層31と補強構造40との間に接合部を形成する間、上部障壁層31と補強構造40との間に空気が閉じ込められて接合部の効果を減じるおそれがある。上部障壁層31と補強構造40との間からの空気の排出を容易にするために、補強構造40の選択された位置を貫通する複数の排気開口44を形成してもよく、また排気開口44が目立たないようにするために上側表面21に対応する上側部分41の部分を通って形成してもよい。排気開口は空気の出口となるが、上部金型部分110内の各排気孔115に対応する位置にあってもよい。
【0078】
金型100の中に履物の底要素20が形成されると、補強構造40と障壁層31および32とを金型100から取り出せるように、図14Eに示すように金型部分110と金型部分120とを分離する。次に補強構造40と障壁層31および32とを形成するポリマー材料を冷却し、チャンネル114および115によって形成された管路を通って加圧流体を注入する。そして管路をシールして袋状部材30内にこの流体を封止する。更に履物の底要素20から余分な障壁層31および32をトリミングその他の手段で除去する。余剰部分はその後リサイクルするか、または追加の熱可塑性シートの形成に再利用される。
【0079】
連結部43は加圧流体によって応力を与えられ、側面23および24における外向きの膨張の程度を規制するように作用する。圧力を加える前は、補強構造40および袋状部材30は概略応力を受けない状態にある。ただし加圧流体は袋状部材30に外向きの力を及ぼし、それにより障壁層31および32に応力を与えている。補強構造40がなければ、障壁層31および32の外向きの膨張の程度は側面23および24の丸くまたは膨らんだ形状をもたらす。補強構造40、とくに連結部43は加圧流体の外向きの力による外向きの膨張を規制する。そのため、袋状部材30への加圧を通して連結部43に応力を発生させる。
【0080】
上で述べたように、複数の内部結合部34の分布および構成は、履物の底要素20の圧縮性に影響を与える。突起部113および123の位置によって決定される内部結合部34の分布および構成に関する変更を、回内運動のような様々な足の動きを制御するために利用できる。したがって金型部分110および120の変更を行なうことで足の動きを制御することが可能になる。履物10はまた、履物の底要素20の全体の厚み、複数の内部結合部34の分布および構成、ならびに補強構造40の構成を変更することにより、ランニング、バスケットボールおよびフットボールなど異なる種類の運動での使用のために構成することができる。ランニング運動では、例えば地面反力の減衰特性を大きくするために履物の底要素20の全体の厚みが大きい方が適しているが、バスケットボールやフットボールでは安定性を高めるために全体の厚みが小さいほうが適している。ランニングの場合は回内運動を制御することも問題になることがあり、履物10がランニングに使用される場合は突起部113および123の分布および構成を、回内運動を制御するようなものとすることができる。それに対してバスケットボールやフットボールに使用される履物10の場合は、突起部113および123の分布および構成によって回内運動を制御する程度を低くすることができる。このように履物10を特定の運動に適合させるために、履物の底要素20の寸法および構成の変化を利用することができる。
【0081】
内部結合部34もまた、履物の底要素20のその他の特性、例えば安定性に影響するように構成することができる。本発明のいくつかの実施形態では、選択された内部結合部34に引き伸ばされた形状を与えることができる。図において、引き伸ばされた内部結合部34が中間領域16とかかと領域17との境界に配置され、内側部−外側部の方向に延びている。別の引き伸ばされた内部結合部34がかかと領域17内に配置される。更に別の引き伸ばされた内部結合部34が前方領域15内に配置され、長手方向または内側部−外側部の方向に向けられていてもよい。例えば前方領域15の前方部分では、引き伸ばされた内部結合部34は長手方向に延びている。丸い、または三角形その他の引き伸ばされていない内部結合部34と比べて、引き伸ばされた内部結合部34はせん断力に対する抵抗が大きく、したがって履物の底要素20の内側(体の中心線側に相当する側)部から外側(体の外側に相当する側)部にかけての安定性を高めることができる。そのため、引き伸ばされた内部結合部34を形成することは履物10全体の安定性を高めるための1つの方法となりうる。
【0082】
各内部結合部34を引き伸ばす程度は、内部結合部34内での履物の底要素20の圧縮性にも影響を与える。一般に円形の内部結合部34は引き伸ばされた内部結合部34よりも高い圧縮性を示す。前方領域15に関して、複数の屈曲凹部35の間に配置された内部結合部34の多くが、この部位での圧縮性を高くするために円形の形状を有する。しかし前方領域15の前方部分では、内部結合部34の多くが、この部位での圧縮性を低くするために引き伸ばされた形状を有する。
【0083】
内部結合部34の構成に関する様々な特性が、履物の底要素20の全体的な構成に影響を与える。一般に、内側部−外側部(体の中心線に対して内側−外側)の方向における内部結合部34の間隔は約0.86インチであるが、前方領域15の前方部分では0.5インチ〜0.6インチの範囲内でよい。長手方向における内部結合部34の間隔はかかと領域17および中間領域16の一部を通じて約0.98インチであるが、前方領域17内では0.4インチ〜0.9インチの範囲内でよい。表面21および22と内側に向かって延びて内部結合部34を形成する材料との間の移行領域に形成される半径は、内部結合部34の圧縮性に影響を有し、一般に0.125インチ〜0.150インチの範囲内で選択される。しかし前方領域15の前方部分では半径は0.1インチでよい。
【0084】
履物の底要素20の形成に続いて、アッパー11を上側表面21に固定し、またアウトソール14を下側表面22に固定することで、履物10の製造をほぼ完了することができる。履物の底要素20と履物10のその他の要素との接着を促進するために、履物の底要素20の表面特性を調整することができる。一般に下側表面22とアウトソール14との間の接着結合の強度は、例えば下側表面22を比較的粗い肌理を有するように形成することで強くすることができる。完全に滑らかな表面には接着剤は効果的に付着しにくいが、粗い表面の肌理(組織)は接着結合を強める。表面21および22に比較的粗い肌理を与えることは接着を強めるが、袋状部材30を形成するポリマー材料を通しての視認性が低下することが、比較的粗い肌理の不利な点である。そのため、側面23および24に比較的滑らかな肌理を与えることで、履物10の中に組み込まれたときに外から見える履物の底要素20の部分の視認性を高めることができる。履物の底要素20の表面特性は一般に金型100の表面特性によって決まる。したがって上側表面21および下側表面22を形成する空洞111および表面121の部分は、側面23および24を形成する空洞111の部分よりも平滑度が低くてもよい。履物の底要素20の表面に肌理を与えることはまた、袋状部材30と補強構造40との間の接着を強化することを可能にする。本発明のいくつかの実施形態では、補強構造40の内側を向いた表面と、補強構造40に接触する上部障壁層31の部分に、接着前に肌理を与えることができる。
【0085】
アウトソール14を下側表面22に接着するプロセスは、上で述べたように履物の底要素20の形成後に行なってもよい。あるいはまた熱形成工程の間に地面捕捉要素と下側表面22との間の接着を行なうために、1つ以上の地面捕捉要素を金型100の中に配置してもよい。つまり補強構造40を袋状部材30に接着するプロセスと類似のプロセスで、地面捕捉要素を袋状部材30に接着してもよい。地面捕捉要素は、例えば通常のアウトソールと類似の構成を有するゴム製の1つ以上の要素であってもよい。地面捕捉要素はまた、履物の底要素20の地面に接する部分を補強する熱可塑性材料で形成された補足的な要素であってもよい。したがって地面捕捉要素は本発明の範囲内で様々な構成を有することができる。
【0086】
補強構造40の上側部分41は履物の底要素40の内側部および外側部(体の中心線に対して内側および外側に相当する部分)の両方に沿って延び、図9Gに示すようにアッパー11を履物の底要素20に固定する規定されたラスティング(耐久)ラインを与える。ある種の履物の底構造の問題は、アッパーを履物の底要素に固定すべき長さが履物の底要素の構成からは正確に知ることができないことである。図9A〜図9Eおよび図9Gの断面図において、補強構造40は履物の底要素20の内側部および外側部の両方に峰部45を形成する。峰部45はラスティング表面を規定する識別可能なラインであり、これにより履物の底要素20のどの部分にアッパー11を固定すべきかが規定される。より具体的には、アッパー11は峰部45の内側に配置された上側表面21の部分であるパスティング表面に固定されるべきである。したがってアッパー11を履物の底要素20のラスティング表面(耐久面)に適切に固定するためには、内側部および外側部の上に位置する峰部45の各部の間に例えば接着剤をつければよい。
【0087】
金型100をどのような構造にするかによって、得られる履物の底要素20の特性が影響を受ける。例えば金型部分110および120の構成は、障壁層31および32がどの程度伸びるかに影響を与える。上で説明したように、障壁層31および32の厚みは、成型工程の間に生じる伸びを考慮に入れて選定できる。しかしそれに加えて、金型部分110および120の構成は、障壁層31および32の伸びの程度を制限する抜け(ドラフト)勾配を付けて構成できる。それにより障壁層31および32の得られる厚みを制御できる。例えば多くの突起113および123の抜け勾配は5度〜8度の範囲であってもよく、またかかと領域17内で13度の角度で上方に延びていてもよい。
【0088】
金型部分110および120の構成は、外周の結合部33の配置にも影響を与える。下側表面22と側面23および24との境界に外周結合部33を配置することの1つの利点は、側面23および24を通して見る上で障害物がないということである。この構成は側面23および24を形成するために、上部障壁層31が下部障壁層32よりも大幅に伸びることを必要とする。しかし本発明の別の実施形態では、側面23および24の中間点に外周結合部33を配置するか、または外周結合部33を下側表面22と側面23および24との境界に配置することができる。そのため、障壁層31および32の伸びの程度を規制または何らかの仕方で制御するように外周結合部33の高さを選定できる。
【0089】
内部結合部34の相対的な高さも、障壁層31および32に生じる伸びの程度に影響する。例えば内部結合部34が上側表面21よりも下側表面22の方に近く配置されると、内部結合部34に関わる凹部を形成するためには上部障壁層31が下に向かって伸びなければならない。同様に、内部結合部34を上側表面21に接近して配置すると、内部結合部34に関わる凹部を形成するためには下部障壁層32が上に向かって伸びなければならない。金型100の構成を決定する際、障壁層31および32の伸びの程度を計算し、そして障壁層31および32の領域に生じる伸びを増加させまたは減少させるように突起113および123の相対的な高さを選定することができる。したがって、各内部結合部をそれぞれ異なる高さで形成し、障壁層31および32の伸びを制御することができる。
【0090】
各内部結合部34の相対的な高さは履物の底要素20の圧縮性にも影響を与える。一般に障壁層31および32の厚みは障壁層31および32の剛性に比例する。内部結合部34を下側表面22に隣接して形成すると、上部障壁層31は下に引っ張られて伸びる。この伸びにより上部障壁層31の厚みが減少し、上部障壁層31の剛性を低下させ圧縮性を増加させる。しかし内部結合部34を上側表面21に隣接して形成すると、上部障壁層31の伸びの程度は減少し、その結果上部障壁層31の厚みが増加して圧縮性が低下する。
【0091】
熱形成工程で障壁層31および32が伸びると、障壁層31および32の厚みが低下する。障壁層31および32の所望の最終的な厚みは、一般に履物10の具体的な用途および構成に依存する。外周結合部33の位置、内部結合部34の配置および障壁層31および32の最初の厚みを選定することにより、障壁層31および32の伸びの程度を制御することができる。したがって履物の底要素20の個々の領域における袋状部材30の全体の厚みを最適化するように、外周結合部33の位置、内部結合部34の配置ならびに障壁層31および32の最初の厚みを選定できる。
【0092】
障壁層31および32に生じる伸びの程度を制御することは、袋状部材30の各部を補強するためにも利用できる。一般に袋状部材30のうち大きな厚みを有する部位は厚みの小さい部分よりも高い耐久性を有する。袋状部材30を形成する材料と補強構造40を形成する材料との間の弾性係数の差は、袋状部材30と補強構造40との境界での磨耗の原因となる。そのため、障壁層31および32の伸びの程度を制御して、補強構造40に隣接する部位における袋状部材30の厚みを大きくすることができる。上で説明したように、障壁層31および32の伸びの程度は、例えば金型100の構成、障壁層31および32の相対的な厚み、ならびに内部結合部34を形成する位置を含む様々なメカニズムによって制御することができる。
【0093】
加圧流体の外向きの力による障壁層31および32の外向きの膨張の程度は、内部結合部34によって制約される。内部結合部34が存在しても、上側表面21および下側表面22を形成する障壁層31および32の部分は、袋状部材30内に封入された流体の圧力により外側に曲がる可能性がある。外側に曲がることによって、障壁層31および32の各部を効果的に曲げ、そして袋状部材30を形成する熱可塑性ポリマー材料内に付加的な応力を発生させる。袋状部材30を形成する熱可塑性ポリマー材料内の付加的な応力を低減する1つの方法は、加圧によって生じるであろう膨張に対応する曲面を含むように、障壁層31および32を金型成型その他の方法で形成することである。
【0094】
履物の底要素20を形成する上で熱形成が適切な方法であるが、ブロー成型工程を使用することもできる。適切なブロー成型工程は、一般に2つの金型部分の少なくとも1つの中に補強構造40を配置することと、次いで金型部分110および120のような金型部分の間にパリソンを配置することとを含む。パリソンは一般に溶融ポリマー材料の中空で筒状になった構造である。パリソンを形成するには、ダイから溶融ポリマー材料を押し出す。パリソンの肉厚は実質的に一定であっても、またパリソンの外周に沿って変化してもよい。したがってパリソンの横断面は肉厚の異なる部分を有する可能性がある。パリソンに適した材料は、袋状部材30について上で述べた材料を含む。各金型部分の間にパリソンを載置した後で、パリソンを挟んで各金型部分を閉じると、パリソン内の加圧流体が液化したエラストマー材料を金型表面に接触させる。各金型部分を閉じて圧縮空気を導入することはまた、液化したエラストマー材料を補強構造40の表面に接触させることになる。また、パリソンと金型との間の領域から空気を抜き出すことにより、成型および接着を更に容易にする。このようにして、溶融ポリマー材料の導入前に補強構造40を金型内に配置するというブロー成型工程を通じて、履物の底要素20を形成することもできる。
【0095】
履物の底要素20の形成には熱形成およびブロー成型工程の他に、様々な製造技術を採用できる。例えば袋状部材30を補強構造40とは別に形成し、その後両方の部品を互いに接着してもよい。デュアルインジェクション(並行注入)技術を利用して、袋状部材30および補強構造40を別々の材料から同時に形成してもよい。いくつかの実施形態では、上側表面21と側面23および24とに対応する第一の要素を形成し、それに下側表面22に対応する第二の要素を結合し、そして補強構造40に対応する第三の要素を外側に固定する。したがって履物の底要素20の大略的な形状および特徴を有する構造を、様々な工程で形成することができる。
履物の底要素のその他の構成
ここまでに開示した履物の底要素20の特定の構成は、本発明の範囲に含まれる履物の底要素の一例を示したものである。しかし他の様々な構成を使用することが可能である。図15および図16では履物の底要素20を、上側表面21を横切って横方向に延びる複数のブリッジ46を有するものとして描いてある。より具体的には、4本のブリッジ46が上部41の内側(体の中心線側に相当する側)部と外側(体の外側に相当する側)部との間に延び、履物の底要素20の安定性を高めている。図のように、ブリッジ46は補強構造40と一体的な(すなわち1つの部品からなる)構造に形成された比較的細い構造であり、したがって袋状部材30に固定されている。補強構造40の他の部分と同様、ブリッジ46は袋状部材30内の凹部の中に埋め込んで配置し、また熱形成工程の間に袋状部材30に接着することができる。ブリッジ46は比較的狭いものとして図示されているが、履物の底要素20の所望の特性によってはブリッジ46の幅を大幅に増加してもよく、またブリッジ46はかかと領域17にまたがって延びる板を形成してもよい。更にまた、ブリッジ46は下側表面22、または表面22および23の両方にまたがって延びていてもよく、またブリッジ46は中間領域16またはかかと領域17を貫通して延びていてもよい。したがってブリッジ46の具体的な構成は、本発明の範囲内で大幅に変えることができる。
【0096】
ブリッジ46に加えて、履物の底要素20はまた図17および図18に示すように複数の延長部47を含んでいてもよい。延長部47は履物の底要素20から上向きに延びる補強構造40の一部である。延長部47はアッパー11の外面に固定するか、またはアッパー11を形成する各材料要素の間に延びて履物の底要素20をアッパー11に更に固定するようにしてもよい。延長部47の1つの目的は、例えばかかと領域17内で足の周囲に延びて足に対する付加的な支持を与えることである。そのため延長部47は通常のヒールカウンタまたはその他の安定化構造の役割を果たすことができる。延長部47は図示したような引き伸ばされた構造でもよいが、図19に示すように通常のヒールカウンタの構造に類似し同様の位置に配置されたカップ状の構造体48を補強構造40の一部として形成してもよい。図20に示す更に別の実施形態では、延長部47の代わりに、複数のレーシング(紐を締める)部材49をアッパー11の甲部分にわたって延びるように配置し、靴紐を受ける開口を形成してもよい。したがってレーシング部材49を内部開口の寸法を変化させるレーシングシステムの一部として使用し、それにより内部開口内に足を固定し、内部開口への足の出し入れを容易にすることができる。
【0097】
上で開示した袋状部材30は、加圧流体を閉じ込めるための単一の封止されたチャンバーを形成する。図21では、袋状部材30は結合部38によって分離された第一のチャンバー36と第二のチャンバー37とを有するように示されている。第一のチャンバー36は領域15〜17の各々を通って延び、第二のチャンバー37はかかと領域17に制限されている。第二のチャンバー37内の流体の圧力は第一のチャンバー36内の流体の圧力よりも低くてよく、それにより袋状部材30の異なる部位が異なる地面反力の減衰特性および圧縮特性を有するようにできる。別の実施形態では、袋状部材30の別の部分に位置する2つ以上の別の封止されたチャンバーを袋状部材30が含むことができる。したがって別々の封止されたチャンバーの構成およびチャンバー内の流体の圧力は、本発明の範囲内で大幅に変更することができる。
【0098】
通常の運動用履物の底構造は、一般にポリウレタンまたはエチルビニルアセテートなどの発泡ポリマー材料を組み込む。発泡ポリマー材料の1つの欠点は、圧縮永久歪という概念に関連する。履物の使用期間中、履物の底構造は繰り返し圧縮される。発泡ポリマー材料は一般に気体を充てんした様々な気泡を含むが、繰り返し圧縮を受けるとこれらの気泡はつぶれその他の劣化を来たし、その結果履物の底構造の地面反力の減衰特性または安定化特性が変化する。通常の履物の底構造と異なり、上で述べた履物の底構造12は発泡ポリマー材料を組み込まない。以下に述べるいくつかの実施形態では、履物の底要素20と組み合わせて発泡ポリマー材料18を利用することもできる。
【0099】
上で述べた履物の底要素20の様々な実施形態では、履物の底要素20は領域15〜17の各々を通って延び、したがって足の長さ方向の少なからぬ部分の下に延びることになる。図22および図23では、履物の底要素20はかかと領域17だけを通って延び、発泡ポリマー材料18は前方領域15および中間領域16内にミッドソール13を形成する。したがって履物の底要素20は履物10の長さの一部だけを通って延びる。別の実施形態では、履物の底要素20を履物の底構造12の一方の側だけに限定することもできる。例えば履物の底構造12の外側部は履物の底要素20を含むが、内側部は発泡材料18を組み込む。更に別の実施形態では、袋状部材30の一部が発泡材料18に置き換えられて、補強構造40が袋状部材30および発泡材料18の両方の周囲に延びるようにする。
【0100】
履物の底要素20は図1に示すようにアッパー11に直接接着してもよい。別の形態では発泡ポリマー材料18を、図24に示すように履物の底要素20とアッパー11との間に延びるようにしてもよい。これにより発泡材料18の上側表面はアッパー11に接着され、履物の底要素20は発泡材料18の下側表面に接着される。発泡材料18は履物の底要素20の約半分の高さを有するものとして描かれているが、発泡材料18および履物の底要素20の相対的な厚みは大幅に変えることができる。
【0101】
袋状部材30および補強構造40用に選択される材料は、弾性係数のような力学特性が違っていてよい。しかし力学的特性に加えて、袋状部材30および補強構造40用に選択される材料は視覚に関する特性も異なっていてもよい。例えば袋状部材30は一般に透明の材料で形成され、補強構造40は一般に光透過性(半透明の)または不透明な材料で形成してもよい。更に、袋状部材30および補強構造40の色も異なっていてよい。したがって違っていてもよい視覚的特性の例としては、履物の底要素20を形成する材料の透明性および/または色が含まれる。
【0102】
図25では履物の底要素20’が、袋状部材30’と袋状部材30’の外側に接着された補強構造40’とを組み込んだものとして描かれている。履物の底要素20の場合と同様、補強構造40’も袋状部材30’の外側に接着その他の方法で固定される補強ケージを形成する。一般に補強構造40’は袋状部材30’の外周部分の周囲に延び、補強構造40’の一部は袋状部材30’の側面に沿って延びる。したがって補強構造40’は袋状部材30’の上側および下側表面の間に延びる。更にまた補強構造40’を形成する材料は、袋状部材30’を形成する材料よりも高い弾性係数を有してもよい。したがって補強構造40’の構成および材料特性は、袋状部材30’に対して補強作用を施すことができる。
【0103】
履物の中に組み込まれた場合、履物の底要素20’はポリウレタンまたはエチルビニルアセテートなどの発泡ポリマー材料内に封じ込めることができる。そのため履物の通常の履物の底構造内の通常の流体を充填した袋状部材の代わりに履物の底要素20’を使用してもよい。履物の底要素20’の各部を発泡材料内の開口を通して露出して、履物の外側から見えるようにするか、または履物の底要素20’を完全に発泡材料内に封じ込めてもよい。履物の底要素20’はまた、圧力の異なる流体を含む複数のチャンバーを有することができる。
【0104】
履物の底要素20の構造に関しもう一つ考慮した点は、履物の底要素20各部分の相対的な圧縮性についてである。ウォーキングやランニングその他の脚の運動の間、履物の底要素20は地面と足との間で圧縮され、それに従い履物の底要素の各部は変形する。履物10の安定性に影響を及ぼす1つの要因は、負荷が加えられる間に、下側表面22ならびに側面23および24が、圧縮またはその他の変形を起こす程度である。例えば外側(体の外側に相当する側)面23に隣接する下側表面22が、内側(体の中心線側に相当する側)面24に隣接する下側表面22よりも圧縮されると、履物の底要素20の足の外側面を支える部分が不安定になり、足が外側面にローリングする場合がある。加えられた負荷に応じて履物の底要素20の表面が圧縮またはその他の変形を起こす程度は、図26〜図27Bに示す追加層60を加えることによって制限してもよい。更に追加層60は、比較的鋭利なもの(例えば石、棘、釘など)が袋状部材30に孔をあける可能性を低減することができる。
【0105】
追加層60は下側表面22に接着されて履物の底要素20の変形に対する抵抗を高め、それにより履物10の全体的な安定性を高める。図示したように、追加層60は上方に延びず、内部結合部34および屈曲凹部35に伴う様々な形状に延びないため、下部障壁層32のこれら形状を形成する部分は、追加層60から付加的な抵抗を受けることなく圧縮することができる。しかしながら実施形態によっては、追加層60が内部結合部34および屈曲凹部35に伴う形状に延びていてもよく、または追加層60が選択された形状に延びていてもよい。例えば、追加層60は足の回内運動(すなわち内側へのローリング)に抵抗するために内側面24の形状に延びてもよい。更に、内部結合部34に対応する追加層60の部分に様々な開口を画定してもよい。
【0106】
追加層60はまた下側表面23全体に延びるものとして示されている。しかしながら実施形態によっては、追加層60が、かかと領域17のみ、または内側面24に隣接する下側表面22の部分のみに配置されてもよい。また追加層60は、追加層の材料を下側表面22の縁部に隣接して配置する開口を形成してもよい。したがって追加層60の位置は大きく変化してもよい。
【0107】
追加層60は、障壁層31および32について上述したいずれの材料から形成してもよい。追加層60の厚みは、履物の底要素20の圧縮が制限される程度に影響を及ぼす。一般に、追加層60の厚みが大きいほど圧縮に対する抵抗が大きくなり、厚みが薄いほど圧縮に対する抵抗が小さくなる。上述のように、成型前の下部障壁層32の適切な厚みの範囲は0.03インチ〜0.10インチであり、1つの好適な厚みは0.055インチである。追加層60の厚みもこの範囲内でよいが、所望される圧縮抵抗の程度に応じてこの範囲を超えても構わない。
【0108】
履物の底要素20の別の形状を図28に示す。図9A、図9Bおよび図9Eに示した大略的に水平な内部結合部34の形状と異なり、図28は障壁層31と32との間の傾斜した一対の内部結合部34’を示す。上述したように、内部結合部34の相対的な高さは、障壁層31および32に生じる伸びの程度に影響する。例えば内部結合部34が上側表面21よりも下側表面22に近く配置されていると、内部結合部34に関わる凹部を形成するためには上部障壁層31が下に向かって伸びなければならない。同様に、内部結合部34を上側表面21に近接して配置すると、内部結合部34に関わる凹部を形成するためには下部障壁層32が上に向かって伸びなければならない。障壁層31および32の各部が伸びる程度は、障壁層31および32の厚さに影響する。このため、内部結合部34の位置は障壁層31および32の厚さに影響を及ぼす。
【0109】
内部結合部34’は、上側表面21または下側表面22の平面に対して傾いている。この配向により内部結合部34’の高い部分は側面23および24に隣接し、側面23および24に隣接する上部障壁層31の領域は比較的小さく伸びて内部結合部34’を形成する。すなわち、上部障壁層31の伸びは、内部結合部34’の形状により側面23および24の近傍で減少する。この領域で減少した伸びは上部障壁層31の厚みを増し、それにより側面23および24に隣接する上部障壁層31の耐久性および安定性が増大する。
【0110】
内部結合部34’の配向により内部結合部34’の下側部分は履物の底要素20の中央部分に近づき、中央部分に隣接する上部障壁層31の部分は比較的大きく伸びて内部結合部34’を形成する。すなわち、上部障壁層31の伸びが内部結合部34’の形状によって中央部分で増大する。この部分で増大した伸びにより上部障壁層31の厚みは薄くなり、それにより中央部分内での上部障壁層31の圧縮性が増大する。
【0111】
障壁層31と障壁層32との間の結合形状は図28に示した特定の形状と異なってもよい。例えば、障壁層31と障壁層32との間の全ての結合が、内部結合部34’に類似した傾斜した形状を有していてもよい。履物によっては、内部結合部34’の傾きを逆にし、内部結合部34’が上方に向かうに従い側面23および24のそれぞれから離れるように傾斜する向きとしてもよい。図28は履物の底要素20の前方領域15の部分断面図を示すが、障壁層31と障壁層32との間の傾斜結合は履物10のどの部分にあってもよい。
【0112】
履物の底要素20の製造方法に関してもう一つ考慮した点は、表面21〜24の曲線の程度についてである。図13Aおよび図13Bは、下部金型部分120を、下側表面22を形成するための大略的に平坦な領域を有するものとして描いている。このため、履物の底要素20が型100から取り出され、膨らんでいない未加圧の状態にあるとき、下側表面22は大略的に平坦な形状になる。履物の底要素20が加圧される程度によって、下側表面22が外側にたわみ、下側表面22に対し大略的に凸形状となる場合がある。下側表面22が外側にたわんで大略的に凸形状になる程度を抑えるために、下部金型部分120に下側表面22を成型するための凸領域を形成し、それにより下側表面22が非加圧状態で凹形状となるようにしてもよい。
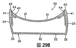
【0113】
図29Aは、履物の底要素20の膨らんでいない形状を示しており、下側表面22は大略的に凹形状となっている。上述したように、下部金型部分120に下側表面22を成型するための凸領域を設けると、下側表面22が凹形状になる。しかしながら加圧すると、流体が障壁層32に対して外向きの力を及ぼし、下側表面22を図29Bに示すような大略的に平坦な形状に変形させる。下側表面22を、凸形状ではなく平坦な形状にすることの利点は、履物10の全体的な安定性を向上できる点にある。
【0114】
最初に下側表面22を凹形状に形成することは、加圧に際して下側表面22を大略的に平坦な形状にする上で有効な方法である。同様の考え方は、上側表面21、ならびに側面23および24に適用することができる。すなわち、上側表面ならびに側面23および24についても、加圧に際して大略的に平坦な形状を与えるために、まず凹形状となるように成型を行ってもよい。より一般的には、履物の底要素20の用途および所望の形状に応じて金型100の形状を利用することで、表面21〜24に任意の形状(すなわち、凹、平坦、または凸)を与えることができる。
【0115】
上述したように、本発明の実施形態によっては、補強構造40に2種類以上の材料を組み込んでもよい。図30Aおよび図30Bでは、上側部分41が第一の材料61から、また下側部分42および連結部43が第二の材料から形成されている。一例として、第一の材料61は第二の材料62よりも低い剛性を有してもよい。この構成ではアッパー11に隣接してやわらかい材料を設け、履物10の快適性を向上し、かつ履物の底構造12とアッパー11との間の接着を促進することができる。更にこの構造は、ウォーキングやランニングのような脚の運動時に、履物の底要素20を曲がり易くする。もう一つの構造を図31Aおよび図31Bに示す。ここでは、補強構造40の、内側面24にある部分が第一の材料61で形成されており、また補強構造40の残りの部分が第二の材料62で形成されている。この構造において、外側面23に対応する補強構造40の部分は、内側面24に対応する補強構造40の部分よりも剛性が低く形成されており、足の回内運動に抵抗できるようになっている。更に実施形態によっては、補強構造40全体にわたって材料を変化させ、補強構造40の特定の部分に特定の圧縮性、安定性、および柔軟性などの特性を与えることができる。第一の材料61および第二の材料62に加えて、更に別の材料で補強構造40を形成することもできる。一例として、第一の材料61が補強構造40の前方領域15を、第二の材料62が補強構造40の中間領域16を、第三の材料が補強構造40のかかと領域17を形成してもよい。このように、補強構造40に組み込まれる材料の位置および数はかなり変化してもよい。
【0116】
補強構造40の部分の寸法の変化が、履物の底要素20の地面反力の減衰特性や、履物の底要素20の圧縮性、更に履物の底要素20の柔軟性、すなわち履物の底要素20をねじるのに必要なねじり力などに影響を与えることがある。図32の履物の底要素20は、外側面23に位置する連結部材43が、外側面24に位置する連結部材43よりも厚い形状を有するものとして描かれている。テニスやバスケットボールなどのコート内で行う運動では、足の側面を更に支持することで、横方向への踏み込みや他の左右への運動の際、足が側面に向かってローリングすることを防ぐことができる。外側面23に位置する連結部材43の厚みを増すことで、足の側面を更に支持することができる。代わりに内側面24に位置する連結部材43の厚みを増すと、ランニング時の足の回内運動を制限することができる。このように、選択した連結部材43の厚みを変えることで、足の動きを制御したり、履物の底要素20の他の特性を変化させたりすることができる。
【0117】
様々な連結部材43の幅の増大もまた、履物の底要素20の地面反力の減衰特性、圧縮性および柔軟性に影響を及ぼす。図33における履物の底要素20は、連結部材43が例えば図8に比較して大きな幅を有する形状として描かれている。外側面23に位置する連結部材43の幅を増大すると、足の外側面が更に支持される。代わりに、内側面24に位置する連結部材の幅を増大すると、ランニング時の足の回内運動が制限される。このように、選択した連結部材43の幅を変化させることにより、足の動きを制御することや履物の底要素20のその他の性質を調整することができる。
【0118】
図34〜図35Bは、袋状部材30がアウトソール14の側部を受ける様々な後退領域63を含む別の実施形態を示す。後退領域63は履物10のどの部分に位置してもよいが、ここでは中間領域15および16、更にかかと領域17全体にわたって位置するものとして描かれている。すなわち、後退領域63は側面23および24の下側部分に位置する。図36〜図37Bに示すように、後退領域63は、袋状部材30の後退部であり、アウトソール14が側面23および24の一方または両方に対して上に向かって包み込むようにする。図36〜37Bに示すように後退領域63は、アウトソール14が補強構造40の外部表面ならびに側面23および24の外部と面一になることを確実にする。ある種の運動では、下側表面22よりむしろ側面23および24の部分が地面と接する。アウトソール14が側面23および24の一方または両方の上を上方に向かって包み込むことの利点は、側面23および24のいずれかが地面と接した際に、アウトソール14が地面と側面23および24との間の滑りを抑制する点にある。
【0119】
上記では後退領域63が、アウトソール14と補強構造40の外部表面ならびに側面23および24の外部とが面一になることを確実にする旨を述べたが、アウトソール14は履物の底要素20の全ての構成において面一とならなくてもよい。図37Cでは後退領域63が存在せず、アウトソール14は外側に向い、補強構造40の外部表面ならびに側面23および24の外部を越えて延びている。よって実施形態によっては後退領域63がなくても構わない。
【0120】
上述した実施形態の多くでは、履物の底要素20が履物10の長手全体にわたって延びている。しかしながら上述した様々な構想は、履物10のある長さ部分のみに延びる履物の底要素20にも適用することができる。図38の履物10は、かかと領域17の全体および中間領域16の一部に延びる履物の底要素20を含むものとして描かれている。図39Aおよび図39Bに示すように、中間領域16において履物の底要素20は先細りして、テーパー(先細り)部64を形成し、このテーパー部64が発泡要素65と連接する。より具体的には、このテーパー部分で上側表面21が下側表面22に近づき袋状部材30の厚みが減少する。発泡要素65はテーパー部の上方に延び、上側表面21に接触する。履物の底要素20が履物10の後部に位置するのに対し、発泡要素65は履物の底要素20から前方領域15全体にわたって前方に延びる。実施形態によっては、履物の底要素20が前方領域15に制限され、発泡要素がかかと領域17全体にわたって後方に延びる場合もある。代わりに、履物の底要素20が中間領域16に制限され、一対の発泡要素が領域15および17それぞれの全体にわたって延びてもよい。
【0121】
上述したように、追加層60を適用することにより、履物の底要素20が加えられた負荷に応じて圧縮またはその他の変形をする程度を制御することができる。また追加層60に代えて、または追加層60に加えて、アウトソール14を履物の底要素20の表面が圧縮またはその他の変形をする程度を制御するような構造としてもよい。図40Aのアウトソール14は、第一の部分14aと第二の部分14bとを有するものとして描かれている。第一の部分14aは主にかかと領域17に配置されている一方、第二の部分14bは前方領域15および中間領域16のそれぞれに配置されている。加えられた負荷に対し履物の底要素20が圧縮またはその他の変形をする程度を制御するのを支援するため、第一の部分14aは第二の部分14bに比べ高い剛性を示してもよい。図40Bは、第一の部分14がU字型である他の構造を示す。
結論
これまでの説明で、履物の底要素の様々な実施形態および履物の底要素を製造する方法を開示した。一般に履物の底要素は、流体を充填した袋状部材と、袋状部材の周囲に延びる履物の底構造とを含む。補強構造は袋状部材の外側に接着されており、袋状部材内に埋め込んで形成することができる。いくつかの実施形態では補強構造は袋状部材の側面に沿って、また袋状部材の上側および下側表面の間に延びる。履物の底要素の製造に当たっては、補強構造を金型内に配置して、成型工程中に袋状部材を形成するポリマー材料を補強構造に接着すればよい。
【0122】
本発明を様々な実施形態について添付図面を参照して開示してきた。しかし開示の目的は本発明に関する様々な特徴および概念の一例を示すことであり、本発明の範囲を限定することではない。当業者であれば、添付の特許請求の範囲によって規定される本発明の範囲から逸脱することなく、上記の各実施形態に多くの変形や変更を行なうことができることを理解するであろう。
【技術分野】
【0001】
本発明は履物の底要素を製造する方法に関する。底要素の形状は本発明の範囲内でもかなり変わることがあるが、底要素は、流体を充填した袋状部材と、この袋状部材に固定された外部的な補強構造とを一般に含む。
【背景技術】
【0002】
関連出願との相互関係
本願は、ここに全体を引用により組み込む2004年1月28日出願の米国特許出願番号10/767,211号、名称 “Article Of footwear Having A Fluid-Filled Bladder With A Reinforcing Structure”の一部継続出願であり、その優先権を主張する。米国特許出願番号10/767,211は、ここに全体を引用により組み込む2003年12月23日出願の米国仮出願番号60/531,674、名称 “Article Of footwear Having A Fluid-Filled Bladder With A Reinforcing Structure”の優先権を主張する。
【0003】
通常の運動用の履物は2つの主要な要素、すなわちアッパーと履物の底構造とを有する。アッパーは足を確実に収容し、履物の底構造に対して足の位置を定めるための足の覆いをなす。アッパーはまた、足を保護しかつ換気を行なうような構成を有し、それにより足を冷却して汗を除去することもできる。履物の底構造はアッパーの下面に固定され、一般に足と地面との間に位置する。地面反力の減衰特性に加えて、履物の底構造は地面を捕捉し、かつ過剰な回内運動のような足の動きを制御することもできる。これによりアッパーと履物の底構造とは互いに協働して、ウォーキングやランニングのような広範囲の脚の運動に適した快適な構造を与える。
【0004】
運動用履物の底構造は一般に積層構造をなし、快適さを増すインソール、発泡ポリマーで形成された弾力のあるミッドソール、および耐磨耗性と地面捕捉能力とを兼ね備えた地面に接するアウトソールから構成される。ミッドソールに適した発泡ポリマー材料としては、加えられた負荷の下で弾性的に圧縮し地面からの反力を減衰させてエネルギーを吸収するポリウレタンまたはエチルビニルアセテートがある。通常の発泡ポリマー材料が弾性的に圧縮する性質は部分的には、主に気体によって置き換えられた内部体積を区画する複数の開いたまたは閉じたセルを含むことで得られる。すなわち、発泡ポリマーは気体を閉じ込めた複数の泡を含む。圧縮が繰り返されるとセル構造は劣化し、発泡材料の圧縮性が低下する。その結果、反力を減衰させてエネルギーを吸収するミッドソールの特性は、履物の寿命を通じて低下する。
【0005】
発泡ポリマー製ミッドソールを軽量化し、圧縮の繰り返しによる劣化の影響を軽減する1つの方法は、引用により本明細書に組み込まれるRudyの下記特許文献1に開示されているように、エラストマー材料で形成され流体を充填した袋状部材によって地面反力の減衰特性を与えることである。袋状部材は、履物の底構造の長さに渡って長手方向に延びる複数の筒状のチャンバーを含む。各チャンバーは互いに流体的に連通し、結合して履物の幅方向に延びている。袋状部材は引用により本明細書に組み込まれるRudyの下記特許文献2に開示されているように、発泡ポリマー材料の中に閉じ込めることができる。袋状部材とそれを閉じ込める発泡ポリマー材料との組み合わせが、ミッドソールとして機能する。そのため、アッパーは発泡ポリマー材料の上面に取り付けられ、その下面にはアウトソールすなわち接地部材が固定される。
【0006】
上記のタイプの袋状部材は一般にエラストマー材料で形成され、その間に1つ以上のチャンバーを挟みこむ上側および下側部分からなる構造を有する。チャンバーには、袋状部材内に形成された充てん口に流体圧力源に接続されたノズルまたは針を挿入することにより、外気圧よりも高い圧力が加えられる。チャンバーを加圧した後で、充てん口を封止してノズルを引き抜く。
【0007】
履物の用途に適した流体で充填された袋状部材は2層フィルム技術で製造できるが、これは2枚の別々のエラストマー製フィルムのシートを、袋状部材の全体的な外周形状を示すように形成するものである。次に両シートを外周に沿って互いに接着して封止構造を形成し、また所定の内部領域において両シートを互いに接着して袋状部材に所望の形状を与える。すなわち、内部の接合部により、所定の形状および寸法を有するチャンバーを袋状部材に与えるのである。かかる袋状部材はブロー成型法によっても製造されてきたが、これは袋状部材の所望の全体形状および構成を有する金型内に、筒状の形状を有するエラストマー材料を溶融または軟化した状態で装填するものである。金型は1箇所に開口部を有し、ここから圧縮空気が供給される。圧縮空気には液化したエラストマー材料が含まれており、金型の内面の形状に適合する。次いで、エラストマー材料が冷却することにより、所望の形状および構成の袋状部材が形成される。
【先行技術文献】
【特許文献】
【0008】
【特許文献1】米国特許第4,183,156号明細書
【特許文献2】米国特許第4,219,945号明細書
【特許文献3】米国特許第5,713,141号明細書
【特許文献4】米国特許第5,952,065号明細書
【特許文献5】米国特許第6,082,025号明細書
【特許文献6】米国特許第6,127,026号明細書
【特許文献7】米国特許第4,936,029号明細書
【特許文献8】米国特許第5,042,176号明細書
【特許文献9】米国特許第6,013,340号明細書
【特許文献10】米国特許第6,203,868号明細書
【特許文献11】米国特許第6,321,465号明細書
【特許文献12】米国特許第4,340,626号明細書
【発明の概要】
【課題を解決するための手段】
【0009】
本発明は、履物の底要素を製造する方法であって、第一の表面および反対側の第二の表面を有し、前記第二の表面の少なくとも一部が凹形状を有する、加圧されていない袋状部材を形成するステップと、前記袋状部材に補強構造を埋め込み、前記補強構造を前記袋状部材に接合するステップと、前記第二の表面が前記凹形状から実質的に平坦な形状へと広がるように前記袋状部材を加圧するステップとを含む方法を提供する。
【0010】
前記形成するステップは、前記第一の表面と前記第二の表面との間に延びる側壁を画定することを含んでもよい。
前記埋め込むステップは、前記補強構造の少なくとも一部を前記側壁に固定することを含んでもよい。
当該方法は、前記側壁から内側に隔たった複数の内部結合部を形成するように、前記第一の表面を前記第二の表面に接合するステップを更に含んでもよい。
【0011】
前記接合するステップは、前記内部結合部の少なくとも1つを、前記第一の表面の平面に対して傾斜するように向けることを含んでもよい。
履物は、アッパーおよび前記アッパーに固定された履物の底構造を有してもよく、この場合、前記履物の底構造は、少なくとも第一の表面および反対側の第二の表面を有し、加圧された流体を閉じ込める障壁から形成された袋状部材と、前記袋状部材の外部に固定され、少なくとも部分的に前記障壁内に埋め込まれた補強構造と、前記第二の表面に接着された追加層とを備えていてもよい。
【0012】
前記追加層の材料は、前記障壁の材料と同じであってもよい。
前記第一の表面は、前記アッパーに近接して位置してもよく、この場合、前記第二の表面は、前記アッパーの反対側を向いていてもよい。
前記第一の表面は、前記袋状部材の内部領域に延びる様々な形状を画定してもよく、この場合、追加層は、前記形状を横切って延び、前記内部領域に存在しなくてもよい。
【0013】
前記袋状部材は、前記第一の表面と前記第二の表面との間に延びる側壁を含んでもよい。
前記補強構造は、前記側壁に埋め込まれ、前記第一の表面と前記第二の表面との間に少なくとも部分的に延びていてもよい。
当該履物は、前記第二の表面および前記追加層のうちの少なくとも一方に固定されたアウトソールを更に含んでもよい。
【0014】
履物は、アッパーと前記アッパーに固定された履物の底構造とを有してもよく、この場合、前記履物の底構造は、加圧された流体を閉じ込めるポリマー製障壁から形成された袋状部材であって、前記袋状部材が、少なくとも、第一の表面、反対側の第二の表面、および前記第一の表面と前記第二の表面との間に延びる側壁を有し、前記第一の表面が前記第二の表面に接着されて、前記側壁から内側に隔たった複数の内部結合部を画定し、前記内部結合部が前記第一の表面の平面に対して傾斜した傾斜結合部を含む袋状部材と、前記袋状部材の外部に固定され、少なくとも部分的に前記障壁材料内に埋め込まれた補強構造とを備えていてもよい。
【0015】
前記傾斜結合部は、前記第一の表面に近接して位置する上側部分と、前記第一の表面から離れて位置する下側部分とを含んでもよく、この場合、前記上側部分は、前記下側部分よりも前記側壁に近くてもよい。
前記傾斜結合部は、当該履物において体の中心線側に相当する側に隣接して位置してもよい。前記傾斜結合部は、当該履物において体の外側(中心線側とは反対側)に相当する側に隣接して位置してもよい。
【0016】
前記内部結合部は、別の傾斜結合部を含んでもよく、この場合、前記傾斜結合部は、当該履物において体の中心線側に相当する側に隣接して位置してもよく、この場合、前記別の傾斜結合部は、当該履物において体の外側に相当する側に隣接して位置してもよい。
前記傾斜結合部および前記別の傾斜結合部のそれぞれが、前記袋状部材の中央部分に向かう下向きの傾斜を有してもよい。
【0017】
前記補強構造は、前記側壁に埋め込まれ、前記第一の表面と前記第二の表面との間に少なくとも部分的に延びていてもよい。
履物は、アッパーと前記アッパーに固定された履物の底構造とを有してもよく、この場合、前記履物の底構造は、障壁から形成され、加圧された流体を閉じ込める袋状部材であって、第一の表面、反対側の第二の表面、および前記第一の表面と前記第二の表面との間に延びる側壁を含む袋状部材と、前記袋状部材の外部に固定され、少なくとも一部が前記側壁に埋め込まれた補強構造であって、第一の材料から形成された第一の部分、および第二の材料から形成された第二の部分を含み、前記第一の材料は前記第二の材料より低い剛性を有する補強構造とを備えていてもよい。
【0018】
前記第一の部分は、前記第一の表面に隣接して位置してもよく、この場合、前記第二の部分は、前記第二の表面に隣接して位置してもよい。
前記第一の部分は、前記袋状部材において体の外側に相当する側に少なくとも部分的に位置してもよく、この場合、前記第二の部分は、前記袋状部材において体の中心線側に相当する側に位置してもよい。
【0019】
前記補強構造は、前記第一の表面に隣接して位置する上側部分と、前記第二の表面に隣接して位置する下側部分と、前記上側部分と前記下側部分との間に延びる複数の連結部とを含んでもよい。
前記上側部分は、前記第一の材料から形成されていてもよく、この場合、前記下側部分は、前記第二の材料から形成されていてもよい。
【0020】
前記上側部分は、前記第一および第二の材料の両方から形成されていてもよく、この場合、前記第一の材料は、前記袋状部材において体の外側に相当する側に配置されていてもよく、この場合、前記第二の材料は前記袋状部材において体の中心線側に相当する側に位置してもよい。
履物は、アッパーと前記アッパーに固定された履物の底構造とを有してもよく、この場合、前記履物の底構造は、障壁から形成され、加圧された流体を閉じ込める袋状部材であって、第一の表面、反対側の第二の表面、および前記第一の表面と前記第二の表面との間に延びる側壁を含む袋状部材と、前記袋状部材の外部に固定され、少なくとも一部が前記側壁に埋め込まれた補強構造であって、前記第一の表面に隣接して位置する上側部分、前記第二の表面に隣接して位置する下側部分、および前記上側部分と前記下側部分との間に延びる複数の連結部を含み、前記連結部が寸法の異なる少なくとも第一の連結部および第二の連結部を含む補強構造とを備えていてもよい。
【0021】
前記第一の連結部は、前記袋状部材において体の中心線側に相当する側に位置してもよく、この場合、前記第二の連結部は、前記袋状部材において体の外側に相当する側に位置してもよく、この場合、前記第一の連結部は、前記第二の連結部より大きな厚みを有してもよい。
前記第一の連結部は、前記袋状部材において体の中心線側に相当する側に位置してもよく、この場合、前記第二の連結部は、前記袋状部材において体の外側に相当する側に位置してもよく、この場合、前記第一の連結部は、前記第二の連結部より大きな幅を有してもよい。
【0022】
前記第一の連結部は、前記第二の連結部の後方に位置してもよい。
履物は、アッパーと前記アッパーに固定された履物の底構造とを有してもよく、この場合、前記履物の底構造は、ポリマー製障壁から形成され、加圧された流体を閉じ込める袋状部材であって、少なくとも、前記アッパーに隣接する第一の表面、反対側の第二の表面、および前記第一の表面と前記第二の表面との間に延びる側壁を含む袋状部材と、前記袋状部材の外部に固定され、少なくとも一部が前記障壁材料内に埋め込まれた補強構造と、前記第二の表面に固定されたアウトソールであって、当該アウトソールの少なくとも1つの側部が前記側壁に延びて接合されているアウトソールとを備えていてもよい。
【0023】
前記側壁は、前記第二の表面に隣接する後退領域を画定してもよく、この場合、前記アウトソールの前記側部は、前記後退領域内に延びていてもよい。
前記補強構造の外部表面は、前記アウトソールの外部表面と面一であってもよい。
前記後退領域の一部は、当該履物の前方領域に位置してもよい。前記後退領域の一部は、当該履物のかかと領域に位置してもよい。
【0024】
前記後退領域の一部は、当該履物において体の中心線に相当する側および体の外側に相当する側の両方に位置してもよい。
履物は、アッパーと前記アッパーに固定された履物の底構造とを有してもよく、この場合、前記履物の底構造は、加圧された流体を閉じ込める障壁から形成された袋状部材であって、第一の表面、および反対側の第二の表面を含む袋状部材と、前記袋状部材の外部に固定され、少なくとも一部が前記側壁に埋め込まれた補強構造とを備えていてもよく、この場合、前記袋状部材および前記補強構造は、当該履物のかかと領域に位置してもよく、この場合、前記袋状部材は、当該履物の中間領域でテーパー部を形成していてもよく、この場合、前記テーパー部において、前記第一の表面は、前記第二の表面に近づくと、前記袋状部材の厚みが減少してもよい。
【0025】
前記テーパー部は、発泡要素と連結されていてもよく、この場合、前記発泡要素は、前記テーパー部から当該履物の前方領域に延びていてもよい。
前記発泡要素の一部は、前記テーパー部の上方に延び、前記第一の表面に接触していてもよい。
履物は、アッパーと前記アッパーに固定された履物の底構造とを有してもよく、この場合、前記履物の底構造は、加圧された流体を閉じ込めるポリマー製障壁から形成された袋状部材であって、前記アッパーに隣接して位置する少なくとも第一の表面、反対側の第二の表面、および前記第一の表面と前記第二の表面との間に延びる側壁を含む袋状部材と、前記袋状部材の外部に固定され、少なくとも一部が前記側壁材料に埋め込まれた補強構造と、前記第二の表面に固定されたアウトソールであって、第一の部分および第二の部分を含み、前記第一の部分が第一の材料で形成され、当該履物のかかと領域に位置し、前記第二の部分が第二の材料で形成され、前記第一の材料が前記第二の材料より高い剛性を有するアウトソールとを備えていてもよい。
【0026】
前記第一の部分は、U字形状を有してもよい。
袋状部材と補強構造とを含む履物の底要素を組み込んだ履物において、袋状部材は障壁材料で形成され、また袋状部材は障壁材料に対して外向きの力を加える加圧された流体を内部に封じ込めていてもよい。補強構造は障壁材料内に少なくとも部分的に埋め込まれ、かつ障壁材料に接着されている。障壁材料に対する外向きの力によって、補強構造の少なくとも1部に応力を加えることができる。補強構造はまた、障壁材料に対する外向きの力により袋状部材の応力が低下すること、または外側に向かって膨張するのを規制することもでき、また補強構造は障壁材料よりも高い弾性係数を有する材料で形成することができる。
【0027】
袋状部材は、第一の表面およびその反対側の第二の表面を含んでもよい。第一の表面は、袋状部材の側壁よりも内側に間隔をあけて配置された複数の内部結合部により、第二の表面に結合することができる。更に袋状部材は、第二の表面内に形成された少なくとも1つの屈曲凹部を含むことができる。凹部は例えば袋状部材において体の外側に相当する側から袋状部材側部において体の中心線側に相当する側に向かって延びていてもよい。あるいはまた、大略的に長手方向に凹部が延びるようにしてもよい。内部結合部のうちの少なくとも1つが、第一の表面を凹部に結合するものとすることができる。
【0028】
補強構造は第一の部分、第二の部分および複数の連結部を含むことができる。第一の部分は、第一の表面と側壁との間の境界に位置し、また第一の部分は袋状部材において体の外側に相当する側に沿って、袋状部材のかかと領域の周囲を回り、かつ袋状部材において体の中心線側に相当する側に沿って延びることができる。第二の部分は第一の部分から間隔をあけて、第二の表面と側壁との境界に配置することができる。更に第二の部分は、袋状部材において体の外側に相当する側に沿って、袋状部材のかかと領域の周囲を回り、かつ袋状部材において体の中心線側に相当する側に沿って延びることができる。連結部は第一の部分と第二の部分との間で側壁に沿って延びることができ、また連結部は側壁内に埋め込んで形成される。連結部は第一の部分と第二の部分とに関して傾斜していてもよい。
【0029】
履物の底要素を製造する方法は、流体で充填された袋状部材をポリマー材料から成型する工程と、補強部材を袋状部材内に埋め込ませる工程と、補強部材を袋状部材に接着する工程とを含んでもよい。そのため、袋状部材を形成するポリマー材料を導入する前に補強部材を鋳型(金型)内に配置することができる。
本発明を特徴付ける新規の利点および特徴を、添付の特許請求の範囲において具体的に指摘する。しかし新規の利点および特徴をよりよく理解するために、本発明の様々な実施形態および概念を示す下記の説明および添付の図面を参照する。
【0030】
上で述べた発明の開示および以下の実施の形態の説明は、添付図面を参照して読むことでよりよく理解されるであろう。
【図面の簡単な説明】
【0031】
【図1】第一の履物の底要素を有する履物の側面図である。
【図2】第一の履物の底要素の第一の斜視図である。
【図3】第一の履物の底要素の第二の斜視図である。
【図4】第一の履物の底要素の第三の斜視図である。
【図5】第一の履物の底要素の上面図である。
【図6】第一の履物の底要素の底面図である。
【図7】第一の履物の底要素の第一の側面図である。
【図8】第一の履物の底要素の第二の側面図である。
【図9A】図5の切断線9A−9Aによる第一の履物の底要素の横断面図である。
【図9B】図5の切断線9B−9Bによる第一の履物の底要素の横断面図である。
【図9C】図5の切断線9C−9Cによる第一の履物の底要素の横断面図である。
【図9D】図5の切断線9D−9Dによる第一の履物の底要素の横断面図である。
【図9E】図5の切断線9E−9Eによる第一の履物の底要素の横断面図である。
【図9F】図7の切断線9F−9Fによる第一の履物の底要素の横断面図である。
【図9G】図1の切断線9G−9Gによる履物の横断面図である。
【図10】第一の履物の底要素の第一の展開斜視図である。
【図11】第一の履物の底要素の第二の展開斜視図である。
【図12A】第一の履物の底要素を形成するための金型の上型部分の上面図である。
【図12B】金型の上型部分の側面図である。
【図13A】金型の下型部分の上面図である。
【図13B】金型の下型部分の側面図である。
【図14A】第一の履物の底要素を形成するための製造工程を示す。
【図14B】第一の履物の底要素を形成するための製造工程を示す。
【図14C】第一の履物の底要素を形成するための製造工程を示す。
【図14D】第一の履物の底要素を形成するための製造工程を示す。
【図14E】第一の履物の底要素を形成するための製造工程を示す。
【図15】第二の履物の底要素の斜視図である。
【図16】第二の履物の底要素の展開斜視図である。
【図17】第三の履物の底要素の斜視図である。
【図18】第三の履物の底要素の展開斜視図である。
【図19】第三の履物の底要素の別の実施形態の斜視図である。
【図20】第三の履物の底要素の更に別の実施形態を示す履物の側面図である。
【図21】第四の履物の底要素の上面図である。
【図22】第五の履物の底要素を有する履物の側面図である。
【図23】第五の履物の底要素の斜視図である。
【図24】第六の履物の底要素を有する履物の側面図である。
【図25】第七の履物の底要素の斜視図である。
【図26】第八の履物の底要素の第一側面図である。
【図27A】図26の切断線27A−27Aによる第八の履物の底要素の横断面図である。
【図27B】図26の切断線27B−27Bによる第八の履物の底要素の横断面図である。
【図28】図9Eに対応する断面図であって、第一の履物の底要素の別の実施形態を示す。
【図29A】図9Cに対応する断面図であって、第一の履物の底要素の更に別の実施形態を示す。
【図29B】図9Cに対応する断面図であって、第一の履物の底要素の更に別の実施形態を示す。
【図30A】第九の履物の底要素の側面図である。
【図30B】第九の履物の底要素の側面図である。
【図31A】第十の履物の底要素の側面図である。
【図31B】第十の履物の底要素の側面図である。
【図32】第十一の履物の底要素のかかと領域の横断面図である。
【図33】第十二の履物の底要素の側面図である。
【図34】第十三の履物の底要素の側面図である。
【図35A】図34の切断線35A−35Aによる第十三の履物の底要素の横断面図である。
【図35B】図34の切断線35B−35Bによる第十三の履物の底要素の横断面図である。
【図36】アウトソールと組み合わせた第十三の履物の底要素の側面図である。
【図37A】図36の切断線37A−37Aによる第十三の履物底要素およびアウトソールの横断面図である。
【図37B】図36の切断線37B−37Bによる第十三の履物底要素およびアウトソールの横断面図である。
【図37C】図37Bに対応する断面図であって、代替的形状を示す。
【図38】第十四の履物の底要素を有する履物の外側の側面図である。
【図39A】第十四の履物の底要素の側面図である。
【図39B】第十四の履物の底要素の側面図である。
【図40A】アウトソールの底面の模式図である。
【図40B】アウトソールの底面の模式図である。
【発明を実施するための形態】
【0032】
序文
以下の説明および添付の図面は、履物の用途に適した履物の底要素の様々な実施形態を開示する。更に前記履物の底要素を製造する方法も開示する。履物の底要素および製造方法に関する概念を、ランニングに適した形状を有する履物を参照して開示する。この履物の底要素はランニング用に設計された履物に限定されるものではなく、例えばバスケットボールシューズ、各種スポーツの訓練に共用される履物、ウォーキングシューズ、テニスシューズ、サッカーシューズおよびハイキングブーツなど、広範囲の運動用履物のスタイルに適用可能である。この履物の底要素はまた、ドレスシューズ、ローファー、サンダルおよび作業靴を含む一般に運動以外の用途と考えられる履物のスタイルにも適用可能である。したがってここに開示される概念は、広範囲の履物のスタイルに適用される。
【0033】
図1に示す履物10はアッパー11と履物の底構造12とを含む。アッパー11には複数の材料要素(例えば布、フォームおよび皮革)を含むことができ、これら材料要素は縫い合わせるか接着して、足をしっかりとまた快適に受け入れる内部の空洞を形成する。これら材料要素を選択してアッパー11との相対的な位置関係に配置することにより、例えば耐久性、通気性、耐摩耗性、柔軟性および快適性のような特性を選択的に与えることができる。更にアッパー11は、内部空洞の寸法を変更するような通常の仕方で使用されるレース(靴紐)を含み、それにより内部空洞の中に足を固定し、足の内部空洞に対する出し入れを容易にする。レースはアッパー11内の開口を通って延びることができ、アッパー11のベロ部分は内部空洞とレースとの間に延びることができる。そのためアッパー11それ自体は、本発明の範囲内でほぼ通常の形状を有することができる。
【0034】
履物の底構造12はアッパー11に固定され、ミッドソール13とアウトソール14とを含む。通常のミッドソールは発明の背景で述べたように、主にポリウレタンまたはエチルビニルアセテートのような発泡ポリマー材料で形成される。通常のミッドソールの構造と異なり、ミッドソール13は図2〜図11に示すように、流体で充填された袋状部材30と外部の補強構造40とを含む履物の底要素20を組み込む。履物の底要素20は、ウォーキングやランニングその他の脚の運動の間、履物10が地面に当たるときに地面反力の減衰特性を行なう。更に履物の底要素20は安定性を与えるか、または回内運動程度の足の動きを制御することができる。アウトソール14はミッドソール13の下面に固定され、地面を捕捉するのに適した耐久性のある耐摩耗性の材料で形成される。履物の底構造12はまた、薄いクッション部材の形状を有するインソール18を含むこともできる。インソール18はアッパー11によって形成された内部空洞内で足裏表面に接触する位置に配置され、それにより履物10の全体としての快適性を増強する。
【0035】
下記の説明では、履物10、アッパー11および履物の底構造12の様々な一般的領域を、それらの相対的な位置関係に基づいて参照する。参照の目的のために、履物10を図1に示すように前方領域15、中間領域16およびかかと領域17の3つの一般的な領域に分ける。前方領域15は一般に、足指および中足骨と指の骨とを結合する関節に対応する履物10の部分を含む。中間領域16は一般に、足のアーチ部分に対応する履物10の部分を含み、かかと領域17はかかとの骨を含む足の後方部分に対応する。領域15〜17は履物10の各領域を正確に区分するものではない。そうではなく、以下の説明の理解を助けるために、履物10の一般的な各領域を表すものである。履物10だけではなく、各領域15〜17はアッパー11、履物の底構造12およびそれらの各要素にも適用される。
履物の底要素の構造
履物の底要素20は、上側表面21とその反対側の下側表面22とを含む。上側表面21は接着などの通常の仕方でアッパー11に固定され、足の裏の表面の形に適合するような形状とすることができる。そのため、上側表面21はかかと領域15の高さを前方領域15の高さよりも高くすることができ、中間領域16はそれらの間の高さの移行領域である。履物の底要素20の全体の厚みの差は、かかと領域15の高さが前方領域15よりも高いことに対応するものである。一般に履物の底要素20の厚みは、例えば前方領域15の先端部分での0.15インチから、前方領域15と中間領域16との境界での約0.70インチまで変化することができる。同様に、履物の底要素20の厚みは、かかと領域17内で、例えば0.70インチから、約1.20インチまで変化できる。
【0036】
履物の底要素20の全体形状は、図5および図6の平面図に示すように、足の形状に対応する。したがってかかと領域17の幅は足の様々な幅寸法を受け入れるように、前方領域15の幅よりも小さくすることができる。アウトソール14も下側表面22に、接着などの通常の仕方で固定される。上側表面21および下側表面22に加えて、履物の底要素20は外側(体の外側に相当する側の)面23とその反対側の内側(体の中心線側に相当する側の)面24とを含む。両方の側面23および24はミッドソール13の露出した部分であり、かかと領域17と前方領域15との間の高さの差に対応して、かかと領域17から前方領域15にかけてテーパー形状を有する。
【0037】
袋状部材30の主な要素は上部障壁(バリア)層31および下部障壁(バリア)層32であり、これらは袋状部材30に収容される加圧流体をほとんど透過させない。上部障壁層31および下部障壁層32はそれぞれの外周に沿って互いに接着されて外周結合部33を形成し、協働して加圧流体が入る封止チャンバーを形成している。袋状部材30に収容される加圧流体は、障壁層31および32に外向きに働き障壁層31と障壁層32とを分離するか、またはそれらを外向きに押し付ける力を生じ、それにより障壁層31および32を膨張させる。加圧流体の外向きの力による障壁層31および32の外向きの膨張の程度を規制するために、複数の内部結合部34が障壁層31と障壁層32との間に形成されている。内部結合部34は両側面23および24から内側に間隔を置いて配置され、履物の底要素20全体にわたって分布している。内部結合部34がなければ、加圧流体が生じる外向きの力は袋状部材30を丸いまたは膨らんだ形状とし、上側表面21および下側表面22に対応する部位では特にその傾向がある。しかし内部結合部34を設けることにより、障壁層31と32の外向きの膨張の程度が規制され、上側表面21および下側表面22の所望の形状が維持される。
【0038】
内部結合部34は本発明の範囲内で様々な形状を有することができる。内部結合部34によって形成された凹部は、かかと領域17における履物の底要素20の全体の厚みが大きいので、前方領域15内におけるよりもかかと領域17内の方が深くなる。更にかかと領域17内の内部結合部34の各々の面積は、前方領域15内の内部結合部34の各々の面積よりも一般に大きい。内部結合部34の上側表面21および下側表面22との相対的な位置も変えることができる。例えば内部結合部34は上側表面21に接近して、または両表面21および22の中間に、または下側表面22に接近して配置してもよい。
【0039】
ランニングまたはウォーキングの際、履物の底要素20は一般に足の自然な屈曲、特に前方領域15における屈曲に合わせて屈曲する。履物の底要素20の屈曲を容易にするために、1対の屈曲凹部35が袋状部材30に形成されている。各々の屈曲凹部35は、袋状部材30の下部を横方向に横切って延びている。すなわち、屈曲凹部35は側面23および24の間に延び、かつ屈曲凹部35は下側表面22内に形成される。屈曲凹部35の位置はまた、足の中足骨と近接する指の骨との間の関節の平均的位置に基づいて選択される。より具体的には、1つの屈曲凹部35が中足骨と近接する指の骨との間の関節の前方に位置し、他の屈曲凹部35が中足骨と近接する指の骨との間の関節の後方に位置するように、屈曲凹部35は配置されている。屈曲凹部35の具体的な位置は、例えば中足骨と近接する指の骨との間の関節の解剖学的データの統計から得られる平均位置から、標準偏差の3倍離れた位置とすることができる。しかし履物の底要素20の具体的な形状および意図した用途によっては、屈曲凹部35の位置は上で述べた位置から大きく異なる可能性がある。
【0040】
屈曲凹部35は横方向に(すなわち側面23および24の間で)下側表面22を横切って延びる。ランニングその他様々な運動のための履物構造にとってこの構成が適しているが、バスケットボール、テニスまたは各種スポーツの訓練などの運動のための構造を有する履物においては、屈曲凹部35は大略的に長手方向(すなわち前方領域15とかかと領域17との間)に延びていてもよい。したがって屈曲凹部35は、履物の底要素20内に規定される屈曲線を与えるために、様々な方向に延びることができる。図ではまた屈曲凹部35を、袋状部材30を完全に横切って延びるように描いている。しかし実施形態によっては、屈曲凹部35は袋状部材30の一部のみを部分的に横切って延びてもよい。
【0041】
屈曲凹部35は履物の底要素20の厚みを低減させた部分を規定する。物体を曲げるのに要する力の程度は一般にその物体の厚みに依存するので、屈曲凹部35の領域における履物の底要素20の低減した厚みは屈曲を容易にする。更にアウトソール14の部分は屈曲凹部35内に延設されていてもよく、それにより履物の底構造12の他よりも硬くて圧縮しにくい部分を形成することができるが、このようにしても屈曲凹部35の周囲の屈曲が容易になる。
【0042】
屈曲凹部35は、様々な内部結合部34の位置に対応する凹部を下側表面22に形成している。図9Dは、1つの屈曲凹部35を通る断面を示す。この領域に関して、内部結合部34は下に向かって延び、屈曲凹部35を規定する下部障壁層32の部分に上部障壁層31が接着されている。従来の袋状部材のいくつかは、屈曲点を形成する結合部を含み、これら屈曲点はその領域に流体クッションが存在しないために比較的硬い部分を形成する可能性がある。すなわち屈曲点は一般に、従来の袋状部材の非クッション領域を形成していた。従来技術における屈曲点とは異なり、屈曲凹部35は内部結合部34を屈曲凹部35に結合する領域に、袋状部材30の流体で充填された部分を形成する。言い換えれば、屈曲凹部35と上部障壁層31との間に流体を含む空間が形成され、それにより屈曲凹部35が屈曲を許容すると同時に地面反力の減衰特性を与えるという利点をもたらす。あるいはまた、屈曲凹部35を規定する区域内には内部結合部34を形成しなくてもよい。
【0043】
袋状部材30、特に障壁層31および32にはポリウレタン、ポリエステル、ポリエステルポリウレタンおよびポリエーテルポリウレタンを含む様々な熱可塑性ポリマー材料を使用できる。袋状部材30に適した別の材料は、引用により本明細書に組み込まれるMitchellの上記特許文献3および上記特許文献4に開示されているように、熱可塑性のポリウレタンおよびエチレンビニルアルコールコポリマーの各層を交互に重ねて得られるフィルムである。この材料の変形で、中央の層がエチレンビニルアルコールコポリマーで形成され、中央の層に隣接する2層が熱可塑性のポリウレタンで形成され、外側の層が熱可塑性ポリウレタンおよびエチレンビニルアルコールコポリマーの粉砕再生材料で形成されたものも使用できる。袋状部材30はまた、引用により本明細書に組み込まれるBonkの上記特許文献5および上記特許文献6に開示されているように、気体障壁材料とエラストマー材料とを交互に重ねた各層を含む柔軟な微細膜で形成することもできる。更にDow Chemical Companyの製品であるPELLETHANE、BASF Corporationの製品であるELASTOLLAN、およびB.F. Goodrich Companyの製品であるESTANEは全てエステルまたはエステル系材料であるが、このような多くの熱可塑性ウレタンを使用できる。更にポリエステル、ポリエーテル、ポリカプロラクトンおよびポリカーボネート・マクロゲルからなる他の熱可塑性ウレタンも使用でき、様々な窒素ブロック材料も使用できる。その他の適切な材料が、引用により本明細書に組み込まれるRudyの上記特許文献1および上記特許文献2に開示されている。更に別の適切な材料は、引用により本明細書に組み込まれるRudyの上記特許文献7および上記特許文献8に開示された結晶性材料を含む熱可塑性フィルム、ならびに引用により本明細書に組み込まれるBonkの上記特許文献9、上記特許文献10、および上記特許文献11に開示されているポリエステルポリオールを含むポリウレタンを含む。
【0044】
袋状部材30内の流体は、例えばヘクサフルオロエタンおよび6フッ化硫黄のような、引用により本明細書に組み込まれるRudyの上記特許文献12に開示されている気体の内の任意のものであってよい。流体はまた、圧縮された8フッ化プロパン、窒素または空気のような気体を含むこともできる。気体に加えて、様々なゲルまたは液体を袋状部材30の中に封入してもよい。このように、袋状部材30には様々な流体が適している。圧力に関しては、適切な流体圧力は15psiであるが、0〜30psiの範囲であってよい。したがって袋状部材30内の流体圧力を比較的高くするか、または周囲圧力とするか、または本発明のある実施形態では周囲圧力よりもわずかに高くしてもよい。
【0045】
補強構造(構造体)40は袋状部材30の外側に接着その他の方法で固定された補強ケージを形成する。一般に、履物の底構造40は袋状部材30の外周部分の周囲に延び、補強構造40の各部分は履物の底要素20の側面23および24に沿って延びる。そのため補強構造40は上側表面21および下側表面22の間に延びている。更に、補強構造40を形成する材料は、袋状部材30を形成する材料よりも高い弾性率を有する。これにより補強構造40の形状および材料特性は履物の底要素20に補強効果を与えることができる。
【0046】
内部結合部34は上で説明したように、特に上側表面21および下側表面22に対応する部分では、障壁層31および32の外向きの膨張の程度を規制するために、側面23および24から内側に間隔をあけて配置されている。しかし内部結合部34は側面23および24の外向きの膨張を大幅に規制しない可能性がある。ゆえに、補強構造40の1つの目的は、側面23および24における外向きの膨張の程度を規制し、それにより履物の底要素20の所望の全体形状を保持することである。
【0047】
補強構造40は上側部分41、下側部分42および複数の連結部43を含む。上側部分41は大略的にU形の形状を示し、上側表面21と側面23および24との境界に位置する。したがって上側部分41は、外側面23に沿って前方領域15からかかと領域17に延び、かかと領域17の周囲に延び、更に内側面24に沿って前方領域15からかかと領域17に延びている。下側部分42もまた大略的にU形の形状を示し、下側表面22と側面23および24との境界に位置する。上側部分41は上側表面21と側面23および24の両方の部分とにわたって延びるが、下側部分42は側面23および24にわたって延びる。すなわち、下側部分42は下側表面22に隣接する側面23および24の部分を覆うが、下側部分42は一般に下側表面22にわたっては延びない。下側部分42はかかと領域17を通って延び、中間領域16内に延びていてもよい。しかし図示のように、下側部分42は前方領域15内には延びていない。連結部43は側面23および24に沿って延び、また上側部分41および下側部分42の間でも延びている。連結部43は上側部分41と下側部分42との間で、対角線方向に延びる。より具体的には、連結部43は前方に傾斜した形状を示すが、実質的に鉛直であっても後ろ向きに傾斜していてもよい。
【0048】
上側部分41、下側部分42および連結部43は協働して、袋状部材30の各部を露出する複数の開口を形成している。開口は少なくともかかと領域17において側面23および24に沿って延び、また開口の形状は一般に連結部43の向きならびに上側部分41および下側部分42の形状に依存する。補強構造40を通って形成される開口は、例えば平行四辺形、楕円、六角形、三角形、円または様々な非幾何学的な形状など、色々な形状を有することができる。開口の形状は、補強構造40の圧縮特性に影響を与える可能性があり、したがってその選択により補強構造40に特定の特性を与えることができる。
【0049】
補強構造40は側面23および24における外向きの膨張の程度を規制し、それにより履物の底要素20の所望の全体形状を保持する。すなわち、袋状部材30内の加圧流体は障壁層31および32を外側に向かって押し、補強構造40は側面23の流体による膨張を抑制する。したがって補強構造40の各部は加圧流体によって応力を与えられている。上側部分41および下側部分42もそのような応力を受ける可能性があるが、側面23および24に沿って延びる連結部43の方が一般に大きな応力を受ける。その結果、連結部43は流体の圧力によって応力を受けた状態となり、側面23および24において外側に向かう膨張の程度を規制するように作用する。
【0050】
上で述べた補強構造40の具体的な構成は、図2〜図11に示した、本発明の一実施形態による補強構造40を理解するためのものである。しかし、本発明の別の実施形態では、補強構造40の構成は大幅に変更することができる。例えば上側部分41をかかと領域17および中間領域16に制限してもよく、上側部分41を上側表面21の一部のみにわたって延びるようにしてもよく、または上側部分41を側面23および24の一部のみにわたって延びるようにしてもよい。同様に、下側部分42は領域15〜17の各々を通って延び、または下側表面22の一部のみにわたって延びるようにしてもよい。連結部43もまた中間領域16および前方領域15内の側面23および24に沿って延びる構成とすることができ、連結部43の数および寸法は大幅に変更することができる。このように補強構造40は本発明の範囲内で様々な構成を有することができる。
【0051】
補強構造40は袋状部材30に埋め込まれており、補強構造40の外側表面が大略的に袋状部材30の表面21〜24と面一となっている。図9Fは履物の底要素20の一部の横断面図である。この横断面図に示すように、連結部43の外側表面は大略的に外側面23と面一である。ゆえに、外側面23は連結部43を収容する凹部を形成している。すなわち、外側面23は袋状部材30内方に向かってカーブして、その中に連結部43が配置される凹部を形成する。このようにして、補強構造40のそれぞれの外側表面は、袋状部材30の表面21〜24と概略面一となる。補強構造40の各外側表面を袋状部材30の表面21〜24と概略一面とすることにより、履物の底要素20に滑らかな外面形状を与えるという利点が得られる。しかし本発明のいくつかの実施形態では、補強構造40の外側表面は袋状部材30内に引っ込み、または袋状部材30から外側に突出していてもよい。
【0052】
補強構造40を受け入れる様々な凹部を図10の展開図に示す。より具体的には、袋状部材30は第一の凹部51、第二の凹部52および複数の第三の凹部53を規定している。第一の凹部51は上側部分41の位置に対応し、したがって上側表面21の周囲に沿って延びる。第一の凹部51の各部はまた上側表面21と側面23および24との境界において側面23および24に沿って延びている。第二の凹部52は下側部分42の位置に対応し、したがってかかと領域17と中間領域16の一部における外周結合部33とに隣接して配置されている。また複数の第三の凹部53は連結部43の位置に対応して、第一の凹部51と第二の凹部52との間に延びている。
【0053】
例えば射出成型または圧縮成型法を使用して、広範囲の材料から補強構造40を形成することができる。補強構造40に適した材料には、ポリエステル、熱硬化性ウレタン、熱可塑性ウレタン、様々な組成のナイロン、これらの材料の混合物、またはグラスファイバーを含む混合物が含まれる。更に補強構造40は、Atofina Companyが製造するPEBAXのような曲げ弾性率の高いポリエステルブロックアミドで形成することもできる。ポリエステルブロックアミドは本発明にとって有利な様々な特性を与えるが、その中には低温における高い衝撃抵抗、−40℃から+80℃までの温度範囲で特性がほとんど変化しないこと、多くの化学物質による劣化に対する耐久性、および繰り返し曲げによるヒステリシスが小さいことなどがある。補強構造40に適した別の材料として、E.I. duPont de Nemours and Companyが製造するHYTRELのようなポリブチレンテレフタレートがある。補強構造40の強度を高めるために、上で述べたポリマー材料にグラスファイバーまたはカーボンファイバーを組み込んで複合材料を形成してもよい。
【0054】
上で述べたように、補強構造40を形成する材料は袋状部材30を形成する材料よりも高い弾性係数を有する。袋状部材30を形成する材料は一般に柔軟であるが、補強構造40を形成する材料は半剛性または剛性の特性を示してもよい。袋状部材30と補強構造40との間の比較は、融点および再結晶温度に関係することもある。以下で詳述するように、袋状部材30を形成する材料と補強構造40を形成する材料とは成型工程で結合される。袋状部材30および補強構造40の融点および再結晶温度はかなり異なることがあるが、融点の差は35℃未満、再結晶温度の差は少なくとも5℃であることが製造工程にとって有利である。実施形態によっては、袋状部材30を形成する材料の最大引っ張り強さは、補強構造40を形成する材料の最大引っ張り強さよりも低いことがある。
【0055】
補強構造40は単一の材料で形成してもよいが、本発明のいくつかの実施形態においては2種類以上の材料を補強構造40に組み込んでもよい。例えば上側部分41は、下側部分42および連結部43を形成する材料よりも剛性の低い材料で形成することができる。この構成ではアッパー11に隣接してやわらかい材料を備えることで、履物10の快適性を向上し、かつ履物の底構造12およびアッパー11の間の接着を促進することができる。補強構造40の外側部23に対応する部分もまた、補強構造40の内側部24に対応する部分よりも剛性の低い材料で形成することができる。更に実施形態によっては、補強構造40全体で材料を変化させ、補強構造40の特定の部分に特定の圧縮性、安定性、および柔軟性などの特性を与えることができる。
【0056】
履物の底要素20は上記のようにランニング、ウォーキングその他の歩行運動の際に履物10が地面に当たる時、地面からの反力を減衰させるものである。更に履物の底要素20は安定性を与え、または回内運動の程度などの足の動きを制御することもできる。履物の底要素20から得られる地面反力の減衰特性の程度、および履物の底要素20が足の動きを制御する仕方は主に、袋状部材30および補強構造40の両方の構成と、袋状部材30および補強構造40を形成する材料の特性によって定まる。そのため袋状部材30および補強構造40の両方の構成およびそれに使用される材料を様々に変更して、履物の底構造12の地面反力の減衰特性および運動制御特性を調整または制御することができる。履物10の地面反力の減衰特性および運動制御特性を制御するために履物の底要素20を構成する仕方については、続く説明において詳細に説明する。
【0057】
下側表面22は履物の底要素20の後方外側部において上向きに切り込まれた部分25を形成し、かかとが接地した後で履物が滑らかに前方かつ内側(体の中心線側)に向かってローリング運動をできるようにしている。図1、図6、および図7に示すように、袋状部材30および補強構造40が下側表面23を形成するそれぞれの部分の鉛直方向の厚みは、かかと領域17の後方部分において減少する。切り込まれた部分25を形成する厚みを減少させる根拠は、ランニング中の足の典型的な動きに対応しており、それは次のように進む。まずかかとが地面に当たり、続いて足の親指の付け根のふくらみが接地する。かかとが地面から離れると、足は前方にローリングしてつま先が接地し、最後に足全体が地面を離れて次のサイクルが始まる。足が地面に接触して前方にローリングしている間、足は外側つまり外側部から内側すなわち内側部に向かってもローリング運動を行なうが、これが回内運動と呼ばれる。足が空中にあって次のサイクルに入ろうとしている間に、回外運動と呼ばれる逆のプロセスが起きる。
【0058】
切り込まれた部分25の利点は、履物の底構造12の後方外側部だけが地面に接触しているかかと接地時の位置(姿勢)から、アウトソール14の大部分が地面に接触している位置(姿勢)まで、履物10が滑らかに移行することを可能にすることである。つまり切り込まれた部分25があるために、履物10はかかとが接地した後で前方に向かって、また内側(体の中心線に相当する側)部に向かって滑らかにローリングを行なえる。袋状部材30の場合のように、切り込まれた部分25を形成するために補強構造40の厚みも低減される。更にまた、切り込まれた部分25の位置において2つの隣接する連結部43の間に空間ができるように、連結部43の位置が選定される。隣接する連結部43の間の空間は更に、切り込まれた部分25の位置において履物の底要素20の圧縮性を高めることにより、かかと接地時の位置(姿勢)からの移行を滑らかにする。
【0059】
履物の底要素20の特定の部位の圧縮性は、履物の底要素20の地面反力の減衰特性および運動制御特性に影響を与える。一般に周辺領域(すなわち側面23,24に隣接する領域)が内部領域よりも圧縮性が低くなるように履物の底要素20を形成することにより、履物の底要素20の安定性を高めることができる。履物の底要素20の外周領域の圧縮性を低くする1つの方法は、補強構造40によるものである。履物の底要素20の外周領域の周囲に履物の底構造40を配置することと、補強構造40の形成に半剛性の曲がりにくい材料を使用することとを組み合わせれば、外周部の圧縮性を低くし、それによって安定性を高めることができる。
【0060】
複数の内部結合部34の分布および構成も、履物の底要素20の圧縮性および柔軟性に影響を与える。一般に内部結合部34は両側面23および24から内側に間隔を置いて配置され、また内部結合部34は互いに間隔をあけて配置される。内部結合部34は袋状部材30に凹部を形成する。表面21および22は大略的に水平であるが、障壁層31および32を形成する材料は大略的に鉛直方向に延びて、内部結合部34の凹部を形成する。履物の底要素20が圧縮される間、鉛直方向に延びて内部結合部34を形成する材料も圧縮、曲がりその他の変形を受け、それにより内部結合部34に直接隣接する領域における履物の底要素20の圧縮性を低減する。すなわち、内部結合部34の存在により、内部結合部34に直接隣接する領域における履物の底要素20の圧縮性が低くなる。
【0061】
足が外側つまり外側部から内側すなわち内側部に向かってローリングする回内運動は、ランニング中の足の自然な動きである。しかし一般に望ましくないと考えられる程度の回内運動を行なう人もあり、そのため履物の底要素20は回内運動の程度を制限するように構成されることがある。上で述べたように、内部結合部34は特定の領域における履物の底要素20の圧縮性を低くする。例えば多数の内部結合部34を履物の底要素20の内側(体の中心線側に相当する側)部に配置することにより、内側部の圧縮性を低下させることができる。足が外側部から内側部に向かってローリングすると、高くなった圧縮性が足の回内運動の程度を制限するように作用することができる。このようにして、回内運動のような足の動きを制御するように、内部結合部34の分布を選択することができる。
【0062】
履物の底要素20の地面反力の減衰特性および運動制御特性はまた、補強構造40の構成によっても影響される場合がある。上側部分41、下側部分42および連結部43の寸法を選択して、補強構造40の各部に特定の程度の柔軟性と圧縮性とを与えることができる。例えば上側部分41の全体の厚みを変化させることにより、履物の底要素20の外周部分の圧縮性を選択できる。同様に、連結部43の寸法または数を変更することにより、かかと領域17の圧縮性を選択できる。補強構造40の厚みを上側部分41と下側部分42との間で逓減(テーパー)して、補強構造40の圧縮性を制御し、または圧縮中に補強構造が褶曲または折れ曲がる程度を制限することもできる。更にまた、連結部43の中央部分を上側部分および下側部分よりも厚くして、例えば特定の圧縮性を持たせることもできる。本発明のいくつかの実施形態では、補強構造40は2種類以上の材料で形成できる。これまで説明したように、内側(体の中心線側に相当する側)部での圧縮性が小さくなるような履物の底要素20の構造にすれば、足の回内動作の程度を小さくできる。そのため補強構造40の外側部に対して選定される材料は、補強構造40の内側部に対して選定される材料よりも弾性係数を小さくし、それにより内側部の圧縮性を低減できる。
製造方法
履物の底要素20に適した1つの製造方法は、図12A〜図13Bに示すように金型(鋳型)100を使用する。金型100は上部金型部分110とそれに対応する下部金型部分120とを含む。両金型部分110および120は合体させられると履物の底要素20の外部寸法とほぼ等しい寸法を有する空洞を形成する。金型100は、袋状部材30を熱形成すると同時に、袋状部材30の外面に補強構造40を接着その他の方法で固定するのに使用できる。一般に、補強構造40は上部金型部分110内に配置され、2枚の熱可塑性ポリマー製シートが両金型部分110および120の間に配置される。次に熱可塑性シートを金型100の形状に吸引し、両熱可塑性シートの少なくとも1方が補強構造40に接触してこれに接着されるようにする。更に両金型部分110および120が両熱可塑性シートを互いに押し付けて外周の結合部33を形成する。両熱可塑性シートが袋状部材30の形状に適合すると、補強構造40が熱可塑性シートに接着され、外周結合部33が形成され、そして袋状部材30に流体で圧力をかけて封止することで履物の底要素20を形成することができる。
【0063】
図12Aおよび図12Bに個別に図示した上部金型部分110は、上側表面21と側面23および24とに対応する履物の底要素20の部分を形成する空洞を含む。空洞111の周囲には峰部112が延び、外周結合部33を形成する役割の一部を果たす。更に複数の突起113が空洞111の表面から延びて、内部結合部34を形成する役割の一部を果たす。このようにして、峰部112によって区切られた領域内にある上部金型部分110の領域が、上側表面21と側面23および24とを形成する。峰部112の延長部分が空洞111から外に向かって延び、L字形のチャンネル114を形成する。以下で詳細に説明するように、チャンネル114は履物の底要素20内に注入される流体が通る通路を形成するために使用される。上部金型部分110の別の特徴は、空洞111全体に分布する複数の排気孔115である。排気孔115は、履物の底要素20の形成中にポリマー材料の熱可塑性シートが上部金型部分110の形状に吸引されるときの空気の出口である。
【0064】
図13Aおよび図13Bに個別に図示した下部金型部分120は、下側表面22に対応する履物の底要素20の部分を形成する表面121を含む。峰部122が表面121の周囲に延び、峰部112と組み合わされて外周結合部33を形成する役割を果たす。更に複数の突起123が表面121から延びて突起113と合体し、内部結合部34を形成する。このようにして、峰部122によって区切られた領域内にある下部金型部分120の領域が、下側表面22を形成する。峰部122の延長部分が表面121から外に向かって延び、L字形のチャンネル124を形成する。チャンネル124はチャンネル114と合体して、履物の底要素20内に注入される流体が通る通路を形成する。下部金型部分120の別の特徴は、表面121全体に分布する複数のスロット排気孔125である。排気孔125は、履物の底要素20の形成中にポリマー材料の熱可塑性シートが下部金型部分120の形状内に吸引されるときの空気の出口である。
【0065】
補強構造40と障壁層31および32とから履物の底要素20を形成するための金型100の使用方法を次に説明する。上記の材料から補強構造40を形成するには、例えば射出成型法を使用できる。次に例えば離型剤や指紋のような汚れを表面から除去するために、補強構造40を洗剤またはアルコールで洗浄する。更に補強構造40の表面にプラズマ処理を施して、袋状部材30との接着性を向上させてもよい。
【0066】
補強構造40を形成して洗浄したら、それぞれ図14Aおよび図14Bに図示したように、金型部分110および120の間に補強構造40を挟んでから上部金型部分110内に位置させる。上で説明したように、上部金型部分110は上側表面21と側面23および24とに対応する履物の底要素20の各部を形成する。上で述べた履物の底要素20の実施形態では、補強構造40は一般に上側表面21と側面23および24とに接着される。そのため補強構造40を図14Bに図示したように上部金型部分110内に位置させるときは、履物の底要素20を形成するプロセスのために金型100に関して補強構造40を正確な位置に配置する。補強構造40を上部金型部分110内に固定するには、例えば真空システム、各種シール、または非恒久的な接着要素を含む様々な方法を利用できる。更にまた補強構造40は開口を規定する様々なタブを含んでもよく、また上部金型部分110は補強構造40を上部金型部分110内に固定するために開口に係合する突起部を含んでもよい。
【0067】
金型100を通る複数の管路を延設して、水のような加熱液体を金型100に通すことができる。加熱液体は金型100全体の温度を約180°Fに上昇させる。上で述べたように、補強構造40は上部金型部分110内に位置しており、また補強構造40は金型100から熱を伝達することにより補強構造40の温度を約180°Fに上昇させる。本発明の実施形態によっては、補強構造40を金型100内に配置する前に加熱して製造時間を短縮することができる。
【0068】
補強構造40を上部金型部分110内に配置した後で、障壁層31および32を形成する1対の熱可塑性ポリマー製シートが、加熱され、その後、図14Cに示すように金型部110および120の間に配置される。障壁層31および32の加熱温度は、使用される具体的な材料に依存する。上で述べたように障壁層31および32は様々な材料で形成することができ、例えば350°F〜360°Fの溶融温度を有する熱可塑性のポリウレタンおよびエチレンビニルアルコールコポリマーの各層を交互に重ねたものを含む様々な材料で形成できる。障壁層31および32の表面を加熱する温度は400°F〜450°Fの範囲とすることができ、これにより内部が溶融せずに障壁層31および32の表面を溶融することができる。
【0069】
成型前の上部障壁層31の厚みは下部障壁層32の厚みよりも大きくすることができる。障壁層31および32は成型前に異なる厚みを有していてもよいが、障壁層31および32の各々が、成型前にほぼ一様な厚みを有していてもよい。成型前の上部障壁層31の適切な厚みの範囲は0.045インチ〜0.090インチであり、好適な厚みは0.075インチである。成型前の下部障壁層32の適切な厚みの範囲は0.045インチ〜0.065インチであり、好適な厚みは0.055インチである。下部障壁層32は下側表面22のみを形成するが、上部障壁層31は上側表面21と側面23および24とを形成する。異なる厚みにする理由は、上側表面21と側面23および24との両方を形成するために上部障壁層31の方がより大幅に伸びられるようにするためである。そこで、障壁層31と障壁層32との間の伸張前の最初の厚みの差により、上側表面21と側面23および24とを形成する際に、上部障壁層31が引き伸ばされまたは他の変形を受けたときに起きる上部障壁層31の厚みの減少を補う。
【0070】
障壁層31および32が所定の位置に配置されると、峰部112と峰部122との位置が合わされ、複数の突起部113と突起部123との位置が合うように、金型部分110および120が配置される。この位置において、履物の底要素20の対応する各部分を形成する金型部分110および120の各領域は、障壁層31および32の対向する両側に位置しており、かつ互いに位置が合わされている。次に図14Dに示すように、金型100が接触して障壁層21および32を圧縮するように、金型部分110と金型部分120とが互いに接近するように移動する。
【0071】
金型100が接触して障壁層31および32の各部を圧縮すると、大気圧よりも高い圧力の流体、例えば空気が障壁層31と障壁層32との間に注入され、障壁層31および32をそれぞれ金型部分110と金型部分120とに接触させてその形状に合わせて変形させる。障壁層31と金型部分32との間の領域を加圧するには、様々な方法を使用できる。例えばチャンネル114および124によって形成された管路を通って流体を送ることができる。すなわち障壁層31および32の間、またチャンネル114および124の間に針を挿入して流体を供給し、管路を通って履物の底要素20を形成する領域内に流体を流し込む。障壁層31および32の間と金型部分110および120との間の領域から排気孔115および125を通しても空気を抜き、障壁層31および32を金型部分110および120の表面に向かって引き込んでもよい。すなわち、障壁層31および32の間と金型部分110および120の表面との間を少なくとも部分的に真空状態にするのである。更にまた障壁層31および32を金型部分110および120の表面に向かって引き込むことにより、障壁層31および32が補強構造40と接触することになる。このようにして製造工程のこの部分において、障壁層31および32は補強構造40と接触しかつ接着される。
【0072】
障壁層31および32の間の領域が加圧され、障壁層31および32の間の領域と金型部分110および120の間の領域とから空気が排出されると、障壁層31および32は金型100の形状に合わせて変形して互いに接着される。より具体的には、障壁層31および32は引き伸ばされ、曲げられ、または他の形で空洞111の表面および表面121に沿って延び、袋状部材30の大略的な形状を形成する。峰部112および峰部122もまた障壁層31および32の直線状部分を圧縮して外周結合部33を形成する。更に障壁層31および32は突起部113および123の形状に適合し、突起部113および123の間で圧縮されることにより互いに接着され、内部結合部34を形成する。
【0073】
障壁層31および32は空洞111の表面および表面121に沿って延びるように変形するが、上部障壁層31は一般に空洞111の補強構造40によって覆われた部分には接触しない。その代わりに上部障壁層31は補強構造40の内側に向いた表面に接触してこれに押し付けられ、それにより上部障壁層31は補強構造40に接着される。図9Fでは、連結部43の外側に向いた表面は一般に外側面23と面一であり、そして外側面23は連結部43を受け入れる凹部を形成する。すなわち外側面23は袋状部材20内に向かってカーブして、その中に連結部43が配置される凹部を形成する。この構成は、補強構造40が上部金型部分110内に配置され、上部障壁層31が補強構造40の内側に向いた表面に押し付けられて補強構造40に接着される仕方の結果として生じるものである。
【0074】
補強構造40の内側に向いた各表面は、袋状部材30の表面21〜24と概略面一である。障壁層31および32の間の領域が空気によって加圧され、更に金型100から排気孔115および125を通って空気が排出されると、上部障壁層31と補強構造40との両方が空洞111の表面に押し付けられる。上部障壁層31は補強構造40の内側に向いた表面に接触して補強構造40の形状に変形し、補強構造40の周囲に延びそして空洞111の表面に接触する。このようにして、補強構造40の表面は袋状部材30の表面21〜24と概略面一に形成される。
【0075】
障壁層31および32は金型100の形状に適合して互いに接着され、上部障壁層31は上側部分41の位置で曲げられて側面23および24を形成する。したがって上部障壁層31は概略水平方向に延びて上側表面21を形成し、また上部障壁層31は上側部分41の位置で曲げられて概略鉛直方向に延びて側面23および24を形成する。このように袋状部材30の形成工程の間に上側表面21と側面23および24とを形成するために上部障壁層31は曲げられる。
【0076】
補強構造40と袋状部材30との間の境界で面一とすることを可能にするために、上側表面40の縁部は図9Fに示すように傾斜をつけられた(面取りされた)形状を有する。一般に補強構造40が傾斜の無い長方形の断面を有するように形成されると、例えば上部障壁層31をより大きく引き伸ばさなければならず、その結果補強構造40に隣接する部位で上部障壁層31が薄くなって不都合をきたす恐れがある。更にまた傾斜が無いと、上部障壁層31と補強構造40との間に隙間が生じる可能性がある。そのため補強構造40は傾斜をつけられた縁部を有するように形成される。
【0077】
上部障壁層31と補強構造40との間に接合部を形成する間、上部障壁層31と補強構造40との間に空気が閉じ込められて接合部の効果を減じるおそれがある。上部障壁層31と補強構造40との間からの空気の排出を容易にするために、補強構造40の選択された位置を貫通する複数の排気開口44を形成してもよく、また排気開口44が目立たないようにするために上側表面21に対応する上側部分41の部分を通って形成してもよい。排気開口は空気の出口となるが、上部金型部分110内の各排気孔115に対応する位置にあってもよい。
【0078】
金型100の中に履物の底要素20が形成されると、補強構造40と障壁層31および32とを金型100から取り出せるように、図14Eに示すように金型部分110と金型部分120とを分離する。次に補強構造40と障壁層31および32とを形成するポリマー材料を冷却し、チャンネル114および115によって形成された管路を通って加圧流体を注入する。そして管路をシールして袋状部材30内にこの流体を封止する。更に履物の底要素20から余分な障壁層31および32をトリミングその他の手段で除去する。余剰部分はその後リサイクルするか、または追加の熱可塑性シートの形成に再利用される。
【0079】
連結部43は加圧流体によって応力を与えられ、側面23および24における外向きの膨張の程度を規制するように作用する。圧力を加える前は、補強構造40および袋状部材30は概略応力を受けない状態にある。ただし加圧流体は袋状部材30に外向きの力を及ぼし、それにより障壁層31および32に応力を与えている。補強構造40がなければ、障壁層31および32の外向きの膨張の程度は側面23および24の丸くまたは膨らんだ形状をもたらす。補強構造40、とくに連結部43は加圧流体の外向きの力による外向きの膨張を規制する。そのため、袋状部材30への加圧を通して連結部43に応力を発生させる。
【0080】
上で述べたように、複数の内部結合部34の分布および構成は、履物の底要素20の圧縮性に影響を与える。突起部113および123の位置によって決定される内部結合部34の分布および構成に関する変更を、回内運動のような様々な足の動きを制御するために利用できる。したがって金型部分110および120の変更を行なうことで足の動きを制御することが可能になる。履物10はまた、履物の底要素20の全体の厚み、複数の内部結合部34の分布および構成、ならびに補強構造40の構成を変更することにより、ランニング、バスケットボールおよびフットボールなど異なる種類の運動での使用のために構成することができる。ランニング運動では、例えば地面反力の減衰特性を大きくするために履物の底要素20の全体の厚みが大きい方が適しているが、バスケットボールやフットボールでは安定性を高めるために全体の厚みが小さいほうが適している。ランニングの場合は回内運動を制御することも問題になることがあり、履物10がランニングに使用される場合は突起部113および123の分布および構成を、回内運動を制御するようなものとすることができる。それに対してバスケットボールやフットボールに使用される履物10の場合は、突起部113および123の分布および構成によって回内運動を制御する程度を低くすることができる。このように履物10を特定の運動に適合させるために、履物の底要素20の寸法および構成の変化を利用することができる。
【0081】
内部結合部34もまた、履物の底要素20のその他の特性、例えば安定性に影響するように構成することができる。本発明のいくつかの実施形態では、選択された内部結合部34に引き伸ばされた形状を与えることができる。図において、引き伸ばされた内部結合部34が中間領域16とかかと領域17との境界に配置され、内側部−外側部の方向に延びている。別の引き伸ばされた内部結合部34がかかと領域17内に配置される。更に別の引き伸ばされた内部結合部34が前方領域15内に配置され、長手方向または内側部−外側部の方向に向けられていてもよい。例えば前方領域15の前方部分では、引き伸ばされた内部結合部34は長手方向に延びている。丸い、または三角形その他の引き伸ばされていない内部結合部34と比べて、引き伸ばされた内部結合部34はせん断力に対する抵抗が大きく、したがって履物の底要素20の内側(体の中心線側に相当する側)部から外側(体の外側に相当する側)部にかけての安定性を高めることができる。そのため、引き伸ばされた内部結合部34を形成することは履物10全体の安定性を高めるための1つの方法となりうる。
【0082】
各内部結合部34を引き伸ばす程度は、内部結合部34内での履物の底要素20の圧縮性にも影響を与える。一般に円形の内部結合部34は引き伸ばされた内部結合部34よりも高い圧縮性を示す。前方領域15に関して、複数の屈曲凹部35の間に配置された内部結合部34の多くが、この部位での圧縮性を高くするために円形の形状を有する。しかし前方領域15の前方部分では、内部結合部34の多くが、この部位での圧縮性を低くするために引き伸ばされた形状を有する。
【0083】
内部結合部34の構成に関する様々な特性が、履物の底要素20の全体的な構成に影響を与える。一般に、内側部−外側部(体の中心線に対して内側−外側)の方向における内部結合部34の間隔は約0.86インチであるが、前方領域15の前方部分では0.5インチ〜0.6インチの範囲内でよい。長手方向における内部結合部34の間隔はかかと領域17および中間領域16の一部を通じて約0.98インチであるが、前方領域17内では0.4インチ〜0.9インチの範囲内でよい。表面21および22と内側に向かって延びて内部結合部34を形成する材料との間の移行領域に形成される半径は、内部結合部34の圧縮性に影響を有し、一般に0.125インチ〜0.150インチの範囲内で選択される。しかし前方領域15の前方部分では半径は0.1インチでよい。
【0084】
履物の底要素20の形成に続いて、アッパー11を上側表面21に固定し、またアウトソール14を下側表面22に固定することで、履物10の製造をほぼ完了することができる。履物の底要素20と履物10のその他の要素との接着を促進するために、履物の底要素20の表面特性を調整することができる。一般に下側表面22とアウトソール14との間の接着結合の強度は、例えば下側表面22を比較的粗い肌理を有するように形成することで強くすることができる。完全に滑らかな表面には接着剤は効果的に付着しにくいが、粗い表面の肌理(組織)は接着結合を強める。表面21および22に比較的粗い肌理を与えることは接着を強めるが、袋状部材30を形成するポリマー材料を通しての視認性が低下することが、比較的粗い肌理の不利な点である。そのため、側面23および24に比較的滑らかな肌理を与えることで、履物10の中に組み込まれたときに外から見える履物の底要素20の部分の視認性を高めることができる。履物の底要素20の表面特性は一般に金型100の表面特性によって決まる。したがって上側表面21および下側表面22を形成する空洞111および表面121の部分は、側面23および24を形成する空洞111の部分よりも平滑度が低くてもよい。履物の底要素20の表面に肌理を与えることはまた、袋状部材30と補強構造40との間の接着を強化することを可能にする。本発明のいくつかの実施形態では、補強構造40の内側を向いた表面と、補強構造40に接触する上部障壁層31の部分に、接着前に肌理を与えることができる。
【0085】
アウトソール14を下側表面22に接着するプロセスは、上で述べたように履物の底要素20の形成後に行なってもよい。あるいはまた熱形成工程の間に地面捕捉要素と下側表面22との間の接着を行なうために、1つ以上の地面捕捉要素を金型100の中に配置してもよい。つまり補強構造40を袋状部材30に接着するプロセスと類似のプロセスで、地面捕捉要素を袋状部材30に接着してもよい。地面捕捉要素は、例えば通常のアウトソールと類似の構成を有するゴム製の1つ以上の要素であってもよい。地面捕捉要素はまた、履物の底要素20の地面に接する部分を補強する熱可塑性材料で形成された補足的な要素であってもよい。したがって地面捕捉要素は本発明の範囲内で様々な構成を有することができる。
【0086】
補強構造40の上側部分41は履物の底要素40の内側部および外側部(体の中心線に対して内側および外側に相当する部分)の両方に沿って延び、図9Gに示すようにアッパー11を履物の底要素20に固定する規定されたラスティング(耐久)ラインを与える。ある種の履物の底構造の問題は、アッパーを履物の底要素に固定すべき長さが履物の底要素の構成からは正確に知ることができないことである。図9A〜図9Eおよび図9Gの断面図において、補強構造40は履物の底要素20の内側部および外側部の両方に峰部45を形成する。峰部45はラスティング表面を規定する識別可能なラインであり、これにより履物の底要素20のどの部分にアッパー11を固定すべきかが規定される。より具体的には、アッパー11は峰部45の内側に配置された上側表面21の部分であるパスティング表面に固定されるべきである。したがってアッパー11を履物の底要素20のラスティング表面(耐久面)に適切に固定するためには、内側部および外側部の上に位置する峰部45の各部の間に例えば接着剤をつければよい。
【0087】
金型100をどのような構造にするかによって、得られる履物の底要素20の特性が影響を受ける。例えば金型部分110および120の構成は、障壁層31および32がどの程度伸びるかに影響を与える。上で説明したように、障壁層31および32の厚みは、成型工程の間に生じる伸びを考慮に入れて選定できる。しかしそれに加えて、金型部分110および120の構成は、障壁層31および32の伸びの程度を制限する抜け(ドラフト)勾配を付けて構成できる。それにより障壁層31および32の得られる厚みを制御できる。例えば多くの突起113および123の抜け勾配は5度〜8度の範囲であってもよく、またかかと領域17内で13度の角度で上方に延びていてもよい。
【0088】
金型部分110および120の構成は、外周の結合部33の配置にも影響を与える。下側表面22と側面23および24との境界に外周結合部33を配置することの1つの利点は、側面23および24を通して見る上で障害物がないということである。この構成は側面23および24を形成するために、上部障壁層31が下部障壁層32よりも大幅に伸びることを必要とする。しかし本発明の別の実施形態では、側面23および24の中間点に外周結合部33を配置するか、または外周結合部33を下側表面22と側面23および24との境界に配置することができる。そのため、障壁層31および32の伸びの程度を規制または何らかの仕方で制御するように外周結合部33の高さを選定できる。
【0089】
内部結合部34の相対的な高さも、障壁層31および32に生じる伸びの程度に影響する。例えば内部結合部34が上側表面21よりも下側表面22の方に近く配置されると、内部結合部34に関わる凹部を形成するためには上部障壁層31が下に向かって伸びなければならない。同様に、内部結合部34を上側表面21に接近して配置すると、内部結合部34に関わる凹部を形成するためには下部障壁層32が上に向かって伸びなければならない。金型100の構成を決定する際、障壁層31および32の伸びの程度を計算し、そして障壁層31および32の領域に生じる伸びを増加させまたは減少させるように突起113および123の相対的な高さを選定することができる。したがって、各内部結合部をそれぞれ異なる高さで形成し、障壁層31および32の伸びを制御することができる。
【0090】
各内部結合部34の相対的な高さは履物の底要素20の圧縮性にも影響を与える。一般に障壁層31および32の厚みは障壁層31および32の剛性に比例する。内部結合部34を下側表面22に隣接して形成すると、上部障壁層31は下に引っ張られて伸びる。この伸びにより上部障壁層31の厚みが減少し、上部障壁層31の剛性を低下させ圧縮性を増加させる。しかし内部結合部34を上側表面21に隣接して形成すると、上部障壁層31の伸びの程度は減少し、その結果上部障壁層31の厚みが増加して圧縮性が低下する。
【0091】
熱形成工程で障壁層31および32が伸びると、障壁層31および32の厚みが低下する。障壁層31および32の所望の最終的な厚みは、一般に履物10の具体的な用途および構成に依存する。外周結合部33の位置、内部結合部34の配置および障壁層31および32の最初の厚みを選定することにより、障壁層31および32の伸びの程度を制御することができる。したがって履物の底要素20の個々の領域における袋状部材30の全体の厚みを最適化するように、外周結合部33の位置、内部結合部34の配置ならびに障壁層31および32の最初の厚みを選定できる。
【0092】
障壁層31および32に生じる伸びの程度を制御することは、袋状部材30の各部を補強するためにも利用できる。一般に袋状部材30のうち大きな厚みを有する部位は厚みの小さい部分よりも高い耐久性を有する。袋状部材30を形成する材料と補強構造40を形成する材料との間の弾性係数の差は、袋状部材30と補強構造40との境界での磨耗の原因となる。そのため、障壁層31および32の伸びの程度を制御して、補強構造40に隣接する部位における袋状部材30の厚みを大きくすることができる。上で説明したように、障壁層31および32の伸びの程度は、例えば金型100の構成、障壁層31および32の相対的な厚み、ならびに内部結合部34を形成する位置を含む様々なメカニズムによって制御することができる。
【0093】
加圧流体の外向きの力による障壁層31および32の外向きの膨張の程度は、内部結合部34によって制約される。内部結合部34が存在しても、上側表面21および下側表面22を形成する障壁層31および32の部分は、袋状部材30内に封入された流体の圧力により外側に曲がる可能性がある。外側に曲がることによって、障壁層31および32の各部を効果的に曲げ、そして袋状部材30を形成する熱可塑性ポリマー材料内に付加的な応力を発生させる。袋状部材30を形成する熱可塑性ポリマー材料内の付加的な応力を低減する1つの方法は、加圧によって生じるであろう膨張に対応する曲面を含むように、障壁層31および32を金型成型その他の方法で形成することである。
【0094】
履物の底要素20を形成する上で熱形成が適切な方法であるが、ブロー成型工程を使用することもできる。適切なブロー成型工程は、一般に2つの金型部分の少なくとも1つの中に補強構造40を配置することと、次いで金型部分110および120のような金型部分の間にパリソンを配置することとを含む。パリソンは一般に溶融ポリマー材料の中空で筒状になった構造である。パリソンを形成するには、ダイから溶融ポリマー材料を押し出す。パリソンの肉厚は実質的に一定であっても、またパリソンの外周に沿って変化してもよい。したがってパリソンの横断面は肉厚の異なる部分を有する可能性がある。パリソンに適した材料は、袋状部材30について上で述べた材料を含む。各金型部分の間にパリソンを載置した後で、パリソンを挟んで各金型部分を閉じると、パリソン内の加圧流体が液化したエラストマー材料を金型表面に接触させる。各金型部分を閉じて圧縮空気を導入することはまた、液化したエラストマー材料を補強構造40の表面に接触させることになる。また、パリソンと金型との間の領域から空気を抜き出すことにより、成型および接着を更に容易にする。このようにして、溶融ポリマー材料の導入前に補強構造40を金型内に配置するというブロー成型工程を通じて、履物の底要素20を形成することもできる。
【0095】
履物の底要素20の形成には熱形成およびブロー成型工程の他に、様々な製造技術を採用できる。例えば袋状部材30を補強構造40とは別に形成し、その後両方の部品を互いに接着してもよい。デュアルインジェクション(並行注入)技術を利用して、袋状部材30および補強構造40を別々の材料から同時に形成してもよい。いくつかの実施形態では、上側表面21と側面23および24とに対応する第一の要素を形成し、それに下側表面22に対応する第二の要素を結合し、そして補強構造40に対応する第三の要素を外側に固定する。したがって履物の底要素20の大略的な形状および特徴を有する構造を、様々な工程で形成することができる。
履物の底要素のその他の構成
ここまでに開示した履物の底要素20の特定の構成は、本発明の範囲に含まれる履物の底要素の一例を示したものである。しかし他の様々な構成を使用することが可能である。図15および図16では履物の底要素20を、上側表面21を横切って横方向に延びる複数のブリッジ46を有するものとして描いてある。より具体的には、4本のブリッジ46が上部41の内側(体の中心線側に相当する側)部と外側(体の外側に相当する側)部との間に延び、履物の底要素20の安定性を高めている。図のように、ブリッジ46は補強構造40と一体的な(すなわち1つの部品からなる)構造に形成された比較的細い構造であり、したがって袋状部材30に固定されている。補強構造40の他の部分と同様、ブリッジ46は袋状部材30内の凹部の中に埋め込んで配置し、また熱形成工程の間に袋状部材30に接着することができる。ブリッジ46は比較的狭いものとして図示されているが、履物の底要素20の所望の特性によってはブリッジ46の幅を大幅に増加してもよく、またブリッジ46はかかと領域17にまたがって延びる板を形成してもよい。更にまた、ブリッジ46は下側表面22、または表面22および23の両方にまたがって延びていてもよく、またブリッジ46は中間領域16またはかかと領域17を貫通して延びていてもよい。したがってブリッジ46の具体的な構成は、本発明の範囲内で大幅に変えることができる。
【0096】
ブリッジ46に加えて、履物の底要素20はまた図17および図18に示すように複数の延長部47を含んでいてもよい。延長部47は履物の底要素20から上向きに延びる補強構造40の一部である。延長部47はアッパー11の外面に固定するか、またはアッパー11を形成する各材料要素の間に延びて履物の底要素20をアッパー11に更に固定するようにしてもよい。延長部47の1つの目的は、例えばかかと領域17内で足の周囲に延びて足に対する付加的な支持を与えることである。そのため延長部47は通常のヒールカウンタまたはその他の安定化構造の役割を果たすことができる。延長部47は図示したような引き伸ばされた構造でもよいが、図19に示すように通常のヒールカウンタの構造に類似し同様の位置に配置されたカップ状の構造体48を補強構造40の一部として形成してもよい。図20に示す更に別の実施形態では、延長部47の代わりに、複数のレーシング(紐を締める)部材49をアッパー11の甲部分にわたって延びるように配置し、靴紐を受ける開口を形成してもよい。したがってレーシング部材49を内部開口の寸法を変化させるレーシングシステムの一部として使用し、それにより内部開口内に足を固定し、内部開口への足の出し入れを容易にすることができる。
【0097】
上で開示した袋状部材30は、加圧流体を閉じ込めるための単一の封止されたチャンバーを形成する。図21では、袋状部材30は結合部38によって分離された第一のチャンバー36と第二のチャンバー37とを有するように示されている。第一のチャンバー36は領域15〜17の各々を通って延び、第二のチャンバー37はかかと領域17に制限されている。第二のチャンバー37内の流体の圧力は第一のチャンバー36内の流体の圧力よりも低くてよく、それにより袋状部材30の異なる部位が異なる地面反力の減衰特性および圧縮特性を有するようにできる。別の実施形態では、袋状部材30の別の部分に位置する2つ以上の別の封止されたチャンバーを袋状部材30が含むことができる。したがって別々の封止されたチャンバーの構成およびチャンバー内の流体の圧力は、本発明の範囲内で大幅に変更することができる。
【0098】
通常の運動用履物の底構造は、一般にポリウレタンまたはエチルビニルアセテートなどの発泡ポリマー材料を組み込む。発泡ポリマー材料の1つの欠点は、圧縮永久歪という概念に関連する。履物の使用期間中、履物の底構造は繰り返し圧縮される。発泡ポリマー材料は一般に気体を充てんした様々な気泡を含むが、繰り返し圧縮を受けるとこれらの気泡はつぶれその他の劣化を来たし、その結果履物の底構造の地面反力の減衰特性または安定化特性が変化する。通常の履物の底構造と異なり、上で述べた履物の底構造12は発泡ポリマー材料を組み込まない。以下に述べるいくつかの実施形態では、履物の底要素20と組み合わせて発泡ポリマー材料18を利用することもできる。
【0099】
上で述べた履物の底要素20の様々な実施形態では、履物の底要素20は領域15〜17の各々を通って延び、したがって足の長さ方向の少なからぬ部分の下に延びることになる。図22および図23では、履物の底要素20はかかと領域17だけを通って延び、発泡ポリマー材料18は前方領域15および中間領域16内にミッドソール13を形成する。したがって履物の底要素20は履物10の長さの一部だけを通って延びる。別の実施形態では、履物の底要素20を履物の底構造12の一方の側だけに限定することもできる。例えば履物の底構造12の外側部は履物の底要素20を含むが、内側部は発泡材料18を組み込む。更に別の実施形態では、袋状部材30の一部が発泡材料18に置き換えられて、補強構造40が袋状部材30および発泡材料18の両方の周囲に延びるようにする。
【0100】
履物の底要素20は図1に示すようにアッパー11に直接接着してもよい。別の形態では発泡ポリマー材料18を、図24に示すように履物の底要素20とアッパー11との間に延びるようにしてもよい。これにより発泡材料18の上側表面はアッパー11に接着され、履物の底要素20は発泡材料18の下側表面に接着される。発泡材料18は履物の底要素20の約半分の高さを有するものとして描かれているが、発泡材料18および履物の底要素20の相対的な厚みは大幅に変えることができる。
【0101】
袋状部材30および補強構造40用に選択される材料は、弾性係数のような力学特性が違っていてよい。しかし力学的特性に加えて、袋状部材30および補強構造40用に選択される材料は視覚に関する特性も異なっていてもよい。例えば袋状部材30は一般に透明の材料で形成され、補強構造40は一般に光透過性(半透明の)または不透明な材料で形成してもよい。更に、袋状部材30および補強構造40の色も異なっていてよい。したがって違っていてもよい視覚的特性の例としては、履物の底要素20を形成する材料の透明性および/または色が含まれる。
【0102】
図25では履物の底要素20’が、袋状部材30’と袋状部材30’の外側に接着された補強構造40’とを組み込んだものとして描かれている。履物の底要素20の場合と同様、補強構造40’も袋状部材30’の外側に接着その他の方法で固定される補強ケージを形成する。一般に補強構造40’は袋状部材30’の外周部分の周囲に延び、補強構造40’の一部は袋状部材30’の側面に沿って延びる。したがって補強構造40’は袋状部材30’の上側および下側表面の間に延びる。更にまた補強構造40’を形成する材料は、袋状部材30’を形成する材料よりも高い弾性係数を有してもよい。したがって補強構造40’の構成および材料特性は、袋状部材30’に対して補強作用を施すことができる。
【0103】
履物の中に組み込まれた場合、履物の底要素20’はポリウレタンまたはエチルビニルアセテートなどの発泡ポリマー材料内に封じ込めることができる。そのため履物の通常の履物の底構造内の通常の流体を充填した袋状部材の代わりに履物の底要素20’を使用してもよい。履物の底要素20’の各部を発泡材料内の開口を通して露出して、履物の外側から見えるようにするか、または履物の底要素20’を完全に発泡材料内に封じ込めてもよい。履物の底要素20’はまた、圧力の異なる流体を含む複数のチャンバーを有することができる。
【0104】
履物の底要素20の構造に関しもう一つ考慮した点は、履物の底要素20各部分の相対的な圧縮性についてである。ウォーキングやランニングその他の脚の運動の間、履物の底要素20は地面と足との間で圧縮され、それに従い履物の底要素の各部は変形する。履物10の安定性に影響を及ぼす1つの要因は、負荷が加えられる間に、下側表面22ならびに側面23および24が、圧縮またはその他の変形を起こす程度である。例えば外側(体の外側に相当する側)面23に隣接する下側表面22が、内側(体の中心線側に相当する側)面24に隣接する下側表面22よりも圧縮されると、履物の底要素20の足の外側面を支える部分が不安定になり、足が外側面にローリングする場合がある。加えられた負荷に応じて履物の底要素20の表面が圧縮またはその他の変形を起こす程度は、図26〜図27Bに示す追加層60を加えることによって制限してもよい。更に追加層60は、比較的鋭利なもの(例えば石、棘、釘など)が袋状部材30に孔をあける可能性を低減することができる。
【0105】
追加層60は下側表面22に接着されて履物の底要素20の変形に対する抵抗を高め、それにより履物10の全体的な安定性を高める。図示したように、追加層60は上方に延びず、内部結合部34および屈曲凹部35に伴う様々な形状に延びないため、下部障壁層32のこれら形状を形成する部分は、追加層60から付加的な抵抗を受けることなく圧縮することができる。しかしながら実施形態によっては、追加層60が内部結合部34および屈曲凹部35に伴う形状に延びていてもよく、または追加層60が選択された形状に延びていてもよい。例えば、追加層60は足の回内運動(すなわち内側へのローリング)に抵抗するために内側面24の形状に延びてもよい。更に、内部結合部34に対応する追加層60の部分に様々な開口を画定してもよい。
【0106】
追加層60はまた下側表面23全体に延びるものとして示されている。しかしながら実施形態によっては、追加層60が、かかと領域17のみ、または内側面24に隣接する下側表面22の部分のみに配置されてもよい。また追加層60は、追加層の材料を下側表面22の縁部に隣接して配置する開口を形成してもよい。したがって追加層60の位置は大きく変化してもよい。
【0107】
追加層60は、障壁層31および32について上述したいずれの材料から形成してもよい。追加層60の厚みは、履物の底要素20の圧縮が制限される程度に影響を及ぼす。一般に、追加層60の厚みが大きいほど圧縮に対する抵抗が大きくなり、厚みが薄いほど圧縮に対する抵抗が小さくなる。上述のように、成型前の下部障壁層32の適切な厚みの範囲は0.03インチ〜0.10インチであり、1つの好適な厚みは0.055インチである。追加層60の厚みもこの範囲内でよいが、所望される圧縮抵抗の程度に応じてこの範囲を超えても構わない。
【0108】
履物の底要素20の別の形状を図28に示す。図9A、図9Bおよび図9Eに示した大略的に水平な内部結合部34の形状と異なり、図28は障壁層31と32との間の傾斜した一対の内部結合部34’を示す。上述したように、内部結合部34の相対的な高さは、障壁層31および32に生じる伸びの程度に影響する。例えば内部結合部34が上側表面21よりも下側表面22に近く配置されていると、内部結合部34に関わる凹部を形成するためには上部障壁層31が下に向かって伸びなければならない。同様に、内部結合部34を上側表面21に近接して配置すると、内部結合部34に関わる凹部を形成するためには下部障壁層32が上に向かって伸びなければならない。障壁層31および32の各部が伸びる程度は、障壁層31および32の厚さに影響する。このため、内部結合部34の位置は障壁層31および32の厚さに影響を及ぼす。
【0109】
内部結合部34’は、上側表面21または下側表面22の平面に対して傾いている。この配向により内部結合部34’の高い部分は側面23および24に隣接し、側面23および24に隣接する上部障壁層31の領域は比較的小さく伸びて内部結合部34’を形成する。すなわち、上部障壁層31の伸びは、内部結合部34’の形状により側面23および24の近傍で減少する。この領域で減少した伸びは上部障壁層31の厚みを増し、それにより側面23および24に隣接する上部障壁層31の耐久性および安定性が増大する。
【0110】
内部結合部34’の配向により内部結合部34’の下側部分は履物の底要素20の中央部分に近づき、中央部分に隣接する上部障壁層31の部分は比較的大きく伸びて内部結合部34’を形成する。すなわち、上部障壁層31の伸びが内部結合部34’の形状によって中央部分で増大する。この部分で増大した伸びにより上部障壁層31の厚みは薄くなり、それにより中央部分内での上部障壁層31の圧縮性が増大する。
【0111】
障壁層31と障壁層32との間の結合形状は図28に示した特定の形状と異なってもよい。例えば、障壁層31と障壁層32との間の全ての結合が、内部結合部34’に類似した傾斜した形状を有していてもよい。履物によっては、内部結合部34’の傾きを逆にし、内部結合部34’が上方に向かうに従い側面23および24のそれぞれから離れるように傾斜する向きとしてもよい。図28は履物の底要素20の前方領域15の部分断面図を示すが、障壁層31と障壁層32との間の傾斜結合は履物10のどの部分にあってもよい。
【0112】
履物の底要素20の製造方法に関してもう一つ考慮した点は、表面21〜24の曲線の程度についてである。図13Aおよび図13Bは、下部金型部分120を、下側表面22を形成するための大略的に平坦な領域を有するものとして描いている。このため、履物の底要素20が型100から取り出され、膨らんでいない未加圧の状態にあるとき、下側表面22は大略的に平坦な形状になる。履物の底要素20が加圧される程度によって、下側表面22が外側にたわみ、下側表面22に対し大略的に凸形状となる場合がある。下側表面22が外側にたわんで大略的に凸形状になる程度を抑えるために、下部金型部分120に下側表面22を成型するための凸領域を形成し、それにより下側表面22が非加圧状態で凹形状となるようにしてもよい。
【0113】
図29Aは、履物の底要素20の膨らんでいない形状を示しており、下側表面22は大略的に凹形状となっている。上述したように、下部金型部分120に下側表面22を成型するための凸領域を設けると、下側表面22が凹形状になる。しかしながら加圧すると、流体が障壁層32に対して外向きの力を及ぼし、下側表面22を図29Bに示すような大略的に平坦な形状に変形させる。下側表面22を、凸形状ではなく平坦な形状にすることの利点は、履物10の全体的な安定性を向上できる点にある。
【0114】
最初に下側表面22を凹形状に形成することは、加圧に際して下側表面22を大略的に平坦な形状にする上で有効な方法である。同様の考え方は、上側表面21、ならびに側面23および24に適用することができる。すなわち、上側表面ならびに側面23および24についても、加圧に際して大略的に平坦な形状を与えるために、まず凹形状となるように成型を行ってもよい。より一般的には、履物の底要素20の用途および所望の形状に応じて金型100の形状を利用することで、表面21〜24に任意の形状(すなわち、凹、平坦、または凸)を与えることができる。
【0115】
上述したように、本発明の実施形態によっては、補強構造40に2種類以上の材料を組み込んでもよい。図30Aおよび図30Bでは、上側部分41が第一の材料61から、また下側部分42および連結部43が第二の材料から形成されている。一例として、第一の材料61は第二の材料62よりも低い剛性を有してもよい。この構成ではアッパー11に隣接してやわらかい材料を設け、履物10の快適性を向上し、かつ履物の底構造12とアッパー11との間の接着を促進することができる。更にこの構造は、ウォーキングやランニングのような脚の運動時に、履物の底要素20を曲がり易くする。もう一つの構造を図31Aおよび図31Bに示す。ここでは、補強構造40の、内側面24にある部分が第一の材料61で形成されており、また補強構造40の残りの部分が第二の材料62で形成されている。この構造において、外側面23に対応する補強構造40の部分は、内側面24に対応する補強構造40の部分よりも剛性が低く形成されており、足の回内運動に抵抗できるようになっている。更に実施形態によっては、補強構造40全体にわたって材料を変化させ、補強構造40の特定の部分に特定の圧縮性、安定性、および柔軟性などの特性を与えることができる。第一の材料61および第二の材料62に加えて、更に別の材料で補強構造40を形成することもできる。一例として、第一の材料61が補強構造40の前方領域15を、第二の材料62が補強構造40の中間領域16を、第三の材料が補強構造40のかかと領域17を形成してもよい。このように、補強構造40に組み込まれる材料の位置および数はかなり変化してもよい。
【0116】
補強構造40の部分の寸法の変化が、履物の底要素20の地面反力の減衰特性や、履物の底要素20の圧縮性、更に履物の底要素20の柔軟性、すなわち履物の底要素20をねじるのに必要なねじり力などに影響を与えることがある。図32の履物の底要素20は、外側面23に位置する連結部材43が、外側面24に位置する連結部材43よりも厚い形状を有するものとして描かれている。テニスやバスケットボールなどのコート内で行う運動では、足の側面を更に支持することで、横方向への踏み込みや他の左右への運動の際、足が側面に向かってローリングすることを防ぐことができる。外側面23に位置する連結部材43の厚みを増すことで、足の側面を更に支持することができる。代わりに内側面24に位置する連結部材43の厚みを増すと、ランニング時の足の回内運動を制限することができる。このように、選択した連結部材43の厚みを変えることで、足の動きを制御したり、履物の底要素20の他の特性を変化させたりすることができる。
【0117】
様々な連結部材43の幅の増大もまた、履物の底要素20の地面反力の減衰特性、圧縮性および柔軟性に影響を及ぼす。図33における履物の底要素20は、連結部材43が例えば図8に比較して大きな幅を有する形状として描かれている。外側面23に位置する連結部材43の幅を増大すると、足の外側面が更に支持される。代わりに、内側面24に位置する連結部材の幅を増大すると、ランニング時の足の回内運動が制限される。このように、選択した連結部材43の幅を変化させることにより、足の動きを制御することや履物の底要素20のその他の性質を調整することができる。
【0118】
図34〜図35Bは、袋状部材30がアウトソール14の側部を受ける様々な後退領域63を含む別の実施形態を示す。後退領域63は履物10のどの部分に位置してもよいが、ここでは中間領域15および16、更にかかと領域17全体にわたって位置するものとして描かれている。すなわち、後退領域63は側面23および24の下側部分に位置する。図36〜図37Bに示すように、後退領域63は、袋状部材30の後退部であり、アウトソール14が側面23および24の一方または両方に対して上に向かって包み込むようにする。図36〜37Bに示すように後退領域63は、アウトソール14が補強構造40の外部表面ならびに側面23および24の外部と面一になることを確実にする。ある種の運動では、下側表面22よりむしろ側面23および24の部分が地面と接する。アウトソール14が側面23および24の一方または両方の上を上方に向かって包み込むことの利点は、側面23および24のいずれかが地面と接した際に、アウトソール14が地面と側面23および24との間の滑りを抑制する点にある。
【0119】
上記では後退領域63が、アウトソール14と補強構造40の外部表面ならびに側面23および24の外部とが面一になることを確実にする旨を述べたが、アウトソール14は履物の底要素20の全ての構成において面一とならなくてもよい。図37Cでは後退領域63が存在せず、アウトソール14は外側に向い、補強構造40の外部表面ならびに側面23および24の外部を越えて延びている。よって実施形態によっては後退領域63がなくても構わない。
【0120】
上述した実施形態の多くでは、履物の底要素20が履物10の長手全体にわたって延びている。しかしながら上述した様々な構想は、履物10のある長さ部分のみに延びる履物の底要素20にも適用することができる。図38の履物10は、かかと領域17の全体および中間領域16の一部に延びる履物の底要素20を含むものとして描かれている。図39Aおよび図39Bに示すように、中間領域16において履物の底要素20は先細りして、テーパー(先細り)部64を形成し、このテーパー部64が発泡要素65と連接する。より具体的には、このテーパー部分で上側表面21が下側表面22に近づき袋状部材30の厚みが減少する。発泡要素65はテーパー部の上方に延び、上側表面21に接触する。履物の底要素20が履物10の後部に位置するのに対し、発泡要素65は履物の底要素20から前方領域15全体にわたって前方に延びる。実施形態によっては、履物の底要素20が前方領域15に制限され、発泡要素がかかと領域17全体にわたって後方に延びる場合もある。代わりに、履物の底要素20が中間領域16に制限され、一対の発泡要素が領域15および17それぞれの全体にわたって延びてもよい。
【0121】
上述したように、追加層60を適用することにより、履物の底要素20が加えられた負荷に応じて圧縮またはその他の変形をする程度を制御することができる。また追加層60に代えて、または追加層60に加えて、アウトソール14を履物の底要素20の表面が圧縮またはその他の変形をする程度を制御するような構造としてもよい。図40Aのアウトソール14は、第一の部分14aと第二の部分14bとを有するものとして描かれている。第一の部分14aは主にかかと領域17に配置されている一方、第二の部分14bは前方領域15および中間領域16のそれぞれに配置されている。加えられた負荷に対し履物の底要素20が圧縮またはその他の変形をする程度を制御するのを支援するため、第一の部分14aは第二の部分14bに比べ高い剛性を示してもよい。図40Bは、第一の部分14がU字型である他の構造を示す。
結論
これまでの説明で、履物の底要素の様々な実施形態および履物の底要素を製造する方法を開示した。一般に履物の底要素は、流体を充填した袋状部材と、袋状部材の周囲に延びる履物の底構造とを含む。補強構造は袋状部材の外側に接着されており、袋状部材内に埋め込んで形成することができる。いくつかの実施形態では補強構造は袋状部材の側面に沿って、また袋状部材の上側および下側表面の間に延びる。履物の底要素の製造に当たっては、補強構造を金型内に配置して、成型工程中に袋状部材を形成するポリマー材料を補強構造に接着すればよい。
【0122】
本発明を様々な実施形態について添付図面を参照して開示してきた。しかし開示の目的は本発明に関する様々な特徴および概念の一例を示すことであり、本発明の範囲を限定することではない。当業者であれば、添付の特許請求の範囲によって規定される本発明の範囲から逸脱することなく、上記の各実施形態に多くの変形や変更を行なうことができることを理解するであろう。
【特許請求の範囲】
【請求項1】
履物の底要素を製造する方法であって、
第一の表面および反対側の第二の表面を有し、前記第二の表面の少なくとも一部が凹形状を有する、加圧されていない袋状部材を形成するステップと、
前記袋状部材に補強構造を埋め込み、前記補強構造を前記袋状部材に接合するステップと、
前記第二の表面が前記凹形状から実質的に平坦な形状へと広がるように前記袋状部材を加圧するステップとを含む方法。
【請求項2】
前記形成するステップが、前記第一の表面と前記第二の表面との間に延びる側壁を画定することを含む請求項1記載の方法。
【請求項3】
前記埋め込むステップが、前記補強構造の少なくとも一部を前記側壁に固定することを含む請求項2記載の方法。
【請求項4】
前記側壁から内側に隔たった複数の内部結合部を形成するように、前記第一の表面を前記第二の表面に接合するステップを更に含む請求項2または3に記載の方法。
【請求項5】
前記接合するステップが、前記内部結合部の少なくとも1つを、前記第一の表面の平面に対して傾斜するように向けることを含む請求項4記載の方法。
【請求項1】
履物の底要素を製造する方法であって、
第一の表面および反対側の第二の表面を有し、前記第二の表面の少なくとも一部が凹形状を有する、加圧されていない袋状部材を形成するステップと、
前記袋状部材に補強構造を埋め込み、前記補強構造を前記袋状部材に接合するステップと、
前記第二の表面が前記凹形状から実質的に平坦な形状へと広がるように前記袋状部材を加圧するステップとを含む方法。
【請求項2】
前記形成するステップが、前記第一の表面と前記第二の表面との間に延びる側壁を画定することを含む請求項1記載の方法。
【請求項3】
前記埋め込むステップが、前記補強構造の少なくとも一部を前記側壁に固定することを含む請求項2記載の方法。
【請求項4】
前記側壁から内側に隔たった複数の内部結合部を形成するように、前記第一の表面を前記第二の表面に接合するステップを更に含む請求項2または3に記載の方法。
【請求項5】
前記接合するステップが、前記内部結合部の少なくとも1つを、前記第一の表面の平面に対して傾斜するように向けることを含む請求項4記載の方法。
【図1】


【図2】


【図3】


【図4】


【図5】


【図6】


【図7】


【図8】


【図9A】


【図9B】


【図9C】


【図9D】


【図9E】


【図9F】


【図9G】


【図10】


【図11】


【図12A】


【図12B】


【図13A】


【図13B】


【図14A】


【図14B】


【図14C】


【図14D】


【図14E】


【図15】


【図16】


【図17】


【図18】


【図19】


【図20】


【図21】


【図22】


【図23】


【図24】


【図25】


【図26】


【図27A】


【図27B】


【図28】


【図29A】


【図29B】


【図30A】


【図30B】


【図31A】


【図31B】


【図32】


【図33】


【図34】


【図35A】


【図35B】


【図36】


【図37A】


【図37B】


【図37C】


【図38】


【図39A】


【図39B】


【図40A】


【図40B】




【図2】


【図3】


【図4】


【図5】


【図6】


【図7】


【図8】


【図9A】


【図9B】


【図9C】


【図9D】


【図9E】


【図9F】


【図9G】


【図10】


【図11】


【図12A】


【図12B】


【図13A】


【図13B】


【図14A】


【図14B】


【図14C】


【図14D】


【図14E】


【図15】


【図16】


【図17】


【図18】


【図19】


【図20】


【図21】


【図22】


【図23】


【図24】


【図25】


【図26】


【図27A】


【図27B】


【図28】


【図29A】


【図29B】


【図30A】


【図30B】


【図31A】


【図31B】


【図32】


【図33】


【図34】


【図35A】


【図35B】


【図36】


【図37A】


【図37B】


【図37C】


【図38】


【図39A】


【図39B】


【図40A】


【図40B】


【公開番号】特開2011−251189(P2011−251189A)
【公開日】平成23年12月15日(2011.12.15)
【国際特許分類】
【出願番号】特願2011−203224(P2011−203224)
【出願日】平成23年9月16日(2011.9.16)
【分割の表示】特願2008−535571(P2008−535571)の分割
【原出願日】平成18年10月4日(2006.10.4)
【出願人】(505424859)ナイキ インターナショナル リミテッド (249)
【Fターム(参考)】
【公開日】平成23年12月15日(2011.12.15)
【国際特許分類】
【出願日】平成23年9月16日(2011.9.16)
【分割の表示】特願2008−535571(P2008−535571)の分割
【原出願日】平成18年10月4日(2006.10.4)
【出願人】(505424859)ナイキ インターナショナル リミテッド (249)
【Fターム(参考)】
[ Back to top ]