国際特許分類[A43B13/18]の内容
生活必需品 (1,310,238) | 履物 (4,053) | 履物の特徴;履物の部分 (3,598) | 底;底とかかと底とが結合されたもの (1,127) | 構造に特徴のあるもの (717) | 弾性底 (162)
国際特許分類[A43B13/18]の下位に属する分類
空気底 (66)
国際特許分類[A43B13/18]に分類される特許
1 - 10 / 96
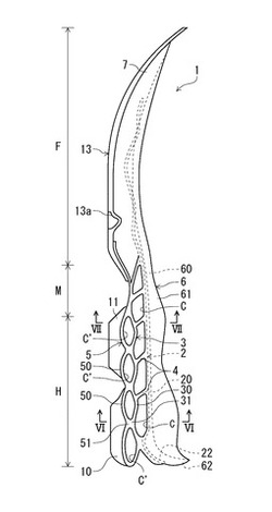
シューズのソール構造体
【課題】 クッション性を維持しつつ離地方向への反発力を向上させる。
【解決手段】 シューズのソール構造体1において、上方に配置された第1のプレート2と、第1のプレート2との間に間隔を隔てて下方に配置された第2のプレート3と、第1、第2のプレート2、3間において各々上下方向に配設されるとともに、第1のプレート2に連結された上端4aおよび第2のプレート3に連結された下端4bをそれぞれ有し、前後方向に間隔を隔てて配置された複数の柱状部材4とを設ける。柱状部材4の上端4aが下端4bよりも前方位置に配置されることで柱状部材4が前方に傾斜して配設されている。第2のプレート3が後方に向かうにしたがい斜め上方に傾斜する傾斜部3Aを有するとともに、柱状部材4の下端4bが傾斜部3Aに連結されており、柱状部材4の下端4bの連結部位において第2のプレート3の傾斜部3Aの下方に空隙C’が形成されている。
(もっと読む)
射出成形靴の製造方法および射出成形靴
【課題】歩行時や運動時に足にかかる衝撃を緩和するために、踵部に衝撃吸収材を備えた射出成形靴を容易に製造する方法を提供する。
【解決手段】衝撃吸収材が収納され、かつ上面が開口し、その周縁に縫い代部を備えたケースを中底の踵部に縫着する(a)工程、前記ケースが縫着された中底の周縁と、甲材の下部周縁とを縫着して、甲被を形成する(b)工程、得られた甲被をラストモールドに吊り込む(c)工程、ラストモールド、サイドモールド、及びボトムモールドを組合せて靴底成形空隙を形成し、該空隙に射出成形用樹脂材料を射出して靴底を形成する(d)工程からなる射出成形靴の製造方法。
(もっと読む)
歩行支援装置
【課題】弾性エネルギを利用する歩行支援装置であってシンプルな構成の歩行支援装置を提供する。
【解決手段】歩行支援装置100は、靴2、靴底前プレート12、靴底後プレート22、及び、スプリング18と28を備えている。靴底前プレート12は、つま先と踵の間の位置で靴の側方に伸びる回転軸16で靴2に軸支されている。靴底前プレートの先端はつま先の下へ伸びている。靴底後プレート22は、つま先と踵の間の位置で靴2の側方に伸びる回転軸26で靴2に軸支されている。靴底後プレート22の先端は踵の下へ伸びている。靴底前プレート12と靴底後プレート22は、連動して互いに反対方向に回転するように係合している。スプリング18と28は、靴底前プレート12の先端と靴底後プレート22の先端を下方へ付勢するように配置されている。
(もっと読む)
校正バランススプリング靴
Notice: Undefined index: from_cache in /mnt/www/gzt_ipc_list.php on line 285
軽量ソールアセンブリを有する履物物品
【課題】甲部と該甲部に固定されたソールアセンブリ14とを含む履物物品を提供する。
【解決手段】ソールアセンブリは、下部地面係合表面を有する第1の部分26と、上面27と、上面内に形成された凹部28とを含む。第1の部分の上面は甲部と接触する。第2の部分36は第1の部分の凹部内に配置されかつ上面42を有し、第2の部分の上面は甲部と接触する。第2の部分は0.25g/cm3未満の密度を有する発泡材料を含む。
(もっと読む)
クッション要素、履物、インソール、変形可能な充填物、及び包被
変形可能な充填物(12)と、変形可能な充填物を取り囲む包被を有する履物のためのクッション要素。包被は、少なくとも1つの流路(837)を形成するために配置される。使用時には、物理的負荷によって引き起こされる変形可能な充填物の圧力が増大する結果、少なくとも変形可能な充填物のうちの一部分が、少なくとも1つの流路に流れ込む。変形可能な充填物は、固形物を含み、相互にその固形物を滑りやすい状態にするための潤滑液を更に含む。少なくとも1つの流路の寸法は、緩衝作用中に、固形物が少なくとも1つの流路に入り込まないように調整される。
(もっと読む)
作業靴
【課題】 足首部の屈曲動作を阻害しないように短靴形状に形成した作業靴であって、傾斜した歩行面であっても踵部周囲をしっかりとホールドすることができ、かつ歩行面の凹凸や滑りやすさなどを足裏の感覚として把握しやすく、しゃがんだ姿勢での長時間作業も行いやすい高所作業者用の作業靴を提供すること。
【解決手段】作業靴であって、下端に内側に向かって突出した折り曲げ片を有しない外周壁および当該外周壁とともに足先全体を覆う一個の収容空間を形成する上部壁を有した先芯と、先端に先芯を収容したアッパー体を有し、先端から足の拇指球付近までを除いた前記アッパー体の底面に、弾力性のある素材によって形成したミッドソールを設けるとともに、前記アッパー体およびミッドソールの底面に、柔軟性の素材によって形成した靴底を設けたことを特徴とする。
(もっと読む)
補強構造と流体で満たされた袋状部材とを有する履物
【課題】履物の底要素を備えた履物が開示される。
【解決手段】一般に履物の底要素は、流体を充填した袋状部材30と、袋状部材の周囲に延びる補強構造40とを含む。補強構造は袋状部材の外部に接着されており、袋状部材内に埋め込まれている。いくつかの実施形態では、補強構造が袋状部材の側面に沿って、かつ袋状部材の上側および下側表面の間に延びている。履物の底要素を製造する際には、補強構造を金型内に配置して、成型工程中に、袋状部材を形成するポリマー材料を補強構造に接合してもよい。
(もっと読む)
履物の底要素を製造する方法
【課題】履物の底要素の製造方法が開示される。
【解決手段】履物の底要素20を製造する方法は、第一の表面および反対側の第二の表面を有し、第二の表面の少なくとも一部が凹形状を有する、加圧されていない袋状部材30を形成するステップと、袋状部材30に補強構造40を埋め込み、補強構造40を袋状部材30に接合するステップと、第二の表面が凹形状から実質的に平坦な形状へと広がるように袋状部材30を加圧するステップとを含む。
(もっと読む)
補強構造と流体で満たされた袋状部材とを有する履物
【課題】履物の底要素を備えた履物が開示される。
【解決手段】一般に履物の底要素は、流体を充填した袋状部材30と、袋状部材の周囲に延びる補強構造40とを含む。補強構造は袋状部材の外部に接着されており、袋状部材内に埋め込まれていてもよい。いくつかの実施形態では、補強構造が袋状部材の側面に沿って、かつ袋状部材の上側および下側表面の間に延びている。履物の底要素を製造する際には、補強構造を金型内に配置して、成型工程中に、袋状部材を形成するポリマー材料を補強構造に接合してもよい。
(もっと読む)
1 - 10 / 96
[ Back to top ]


