歩行支援装置
【課題】弾性エネルギを利用する歩行支援装置であってシンプルな構成の歩行支援装置を提供する。
【解決手段】歩行支援装置100は、靴2、靴底前プレート12、靴底後プレート22、及び、スプリング18と28を備えている。靴底前プレート12は、つま先と踵の間の位置で靴の側方に伸びる回転軸16で靴2に軸支されている。靴底前プレートの先端はつま先の下へ伸びている。靴底後プレート22は、つま先と踵の間の位置で靴2の側方に伸びる回転軸26で靴2に軸支されている。靴底後プレート22の先端は踵の下へ伸びている。靴底前プレート12と靴底後プレート22は、連動して互いに反対方向に回転するように係合している。スプリング18と28は、靴底前プレート12の先端と靴底後プレート22の先端を下方へ付勢するように配置されている。
【解決手段】歩行支援装置100は、靴2、靴底前プレート12、靴底後プレート22、及び、スプリング18と28を備えている。靴底前プレート12は、つま先と踵の間の位置で靴の側方に伸びる回転軸16で靴2に軸支されている。靴底前プレートの先端はつま先の下へ伸びている。靴底後プレート22は、つま先と踵の間の位置で靴2の側方に伸びる回転軸26で靴2に軸支されている。靴底後プレート22の先端は踵の下へ伸びている。靴底前プレート12と靴底後プレート22は、連動して互いに反対方向に回転するように係合している。スプリング18と28は、靴底前プレート12の先端と靴底後プレート22の先端を下方へ付勢するように配置されている。
【発明の詳細な説明】
【技術分野】
【0001】
本発明は、ユーザの歩行動作を補助する歩行支援装置に関する。
【背景技術】
【0002】
弾性部材(スプリング)の弾性エネルギを利用して歩行動作を補助する装置が研究されている。その一つが非特許文献1に開示されている。非特許文献1には、歩行支援装置の原理確認用の義足デバイスが開示されている。非特許文献1の図2を、本願の図11、図12に再記する。ただし、部品を示す数字は本明細書にて付加した。以下、図11、図12に示した義足デバイス900を説明する。図11は義足デバイス900の側面図を示しており、図12(1)〜(6)は、義足デバイス900の動作シーケンスを示している。
【0003】
義足デバイス900は、足後部906(rear-foot)と足前部907(fore-foot)を有しており、それらは足の中心付近で足の側方に伸びる回転軸903(mid-foot axis)で連結している。足後部906が着地し、踵に荷重(床反力)が加わると、足後部906がスプリング905(spring)を圧縮し、弾性エネルギが蓄えられる(図11(1)、(2))。スプリング905が十分に圧縮されたところでヒールクラッチ901(heel clutch)が作動し、足後部906をロックする(図11(2))。足が離地する直前、つま先が接地したまま踵が浮き上がる時点で、つま先クラッチ902(toe clutch)が解放される(図11(4))。そうすると、スプリング905が解放され、足前部907の先端(つま先側)が下がる。このとき、足前部907の先端が床を押すとともに、義足デバイス900の踵側を持ち上げる向きのモーメントが発生する(図11(5))。このモーメントが、脚全体を通して体を前方に進める推進力となる。最後に、ヒールクラッチ901を解放する。このとき、リセットスプリング904(reset spring)が足前部907の先端を上げる方向のモーメントを及ぼし、足後部906の踵側が下がるとともに足前部907のつま先側が上がり、義足デバイス900は初期状態に戻る(図11(6))。義足デバイス900は、接地センサ(不図示)と、2つのモータ、及び、それらを制御するマイクロコントローラを備えている。2つのモータは夫々、つま先クラッチ902とヒールクラッチ901を制御する。つま先クラッチ902を解放するタイミングは、接地センサに基づいてマイクロコントローラが決定する。
【先行技術文献】
【非特許文献】
【0004】
【非特許文献1】Steven H. Collins, Arthur D. Kuo, “Recycling Energy to Restore Impaired Ankle Function during Human Walking”, PLoS ONE Vol. 5, Issue 2, e9307, Published February 17, 2010, http://www.plosone.org, doi:10.1371/journal.pone.0009307
【発明の概要】
【発明が解決しようとする課題】
【0005】
非特許文献1のデバイスは、2つのクラッチを有しており、複雑なメカニズムが要求される。本明細書は、非特許文献1の技術と同様に弾性エネルギを歩行支援に用いる点では同じであるが、メカニズムを工夫し、非特許文献1よりもシンプルな構成の歩行支援装置を提供する。
【課題を解決するための手段】
【0006】
本明細書が開示する歩行支援装置は、非特許文献1の足前部907と足後部906に相当する靴底前プレートと靴底後プレートを有している。本明細書が開示する技術は、靴底前プレートと靴底後プレートが機構的に連動して動くように構成した点に特徴がある。
【0007】
本明細書が開示する歩行支援装置の一態様は、靴、靴底前プレート、靴底後プレート、及び、弾性部材を有している。靴底前プレート、靴底後プレート、弾性部材は靴の底部に取り付けられている。靴底前プレートは、つま先と踵の間の位置で靴の側方に伸びる回転軸の周りに回転可能に靴に軸支されている。靴底前プレートの先端はつま先の下へ伸びている。靴底後プレートは、つま先と踵の間の位置で靴の側方に伸びる回転軸の周りに回転可能に靴に軸支されている。靴底後プレートの先端は踵の下へ伸びている。靴底前プレートと靴底後プレートは、連動して互いに反対方向に回転するように係合している。例えば、靴底前プレートと靴底後プレートは、夫々、互いに係合する歯車又は摩擦車を有しており、歯車又は摩擦車によって連動して回転する。摩擦車を備える場合、それらは、周面が直接に接して係合していてもよいし、ベルトを介して係合していてもよい。ベルトの場合は、2つの摩擦車にベルトを8の字状に巻き掛けることによって、互いに反対方向に回転するように構成することができる。弾性部材は、靴底前プレートと靴底後プレートのいずれか一方、あるいは両方に備えられており、靴底前プレート(靴底後プレート)の先端を下方へ付勢するように配置されている。靴底前プレートと靴底後プレートは連動して回転するので、両プレートのいずれか一方に弾性部材が取り付けられていれば、他方にも付勢力が及ぶ。弾性部材は典型的にはスプリングでよい。
【0008】
上記の歩行支援装置は、靴底前プレートと靴底後プレートが連動して回転する。それゆえ、踵側に荷重が加わると靴底後プレートが回転すると同時に靴底前プレートが靴底に近づく方向に回転する。また、踵側の荷重が抜けると弾性エネルギによって靴底前プレートは靴底後プレートとともにそれらの先端が靴底から遠ざかる方向に回転する。この機構は歩行中に次のように動作する。まず、着地時に踵が接地すると靴底後プレートと靴底前プレートが靴底に近づく方向に回転する。靴底前プレートが靴底に近づいているので、踵の接地に続いてつま先がスムーズに着地することができる。なお、着地時の靴底後プレート(靴底前プレート)の回転に伴い、弾性部材が圧縮され、弾性エネルギが蓄えられる。次に、足の離地の直前に踵が浮き始めると、弾性エネルギが開放され、靴底前プレートが、その先端を下げる向きに回転する。このとき、靴底前プレートは、踵から荷重が抜けていくのに伴って徐々に回転する。足の離地直前に靴底前プレートが徐々に回転して床面を押すことが、離地時の足の蹴り出しをスムーズにする。このように本明細書が開示する技術は、弾性エネルギを利用する歩行支援装置をシンプルな機構で実現する。
【0009】
足の蹴り出しを補助する力は強い方が好ましい場合がある。蹴り出しを補助する力を強くするには、一つには、靴底前プレートの回転角に対する靴底後プレートの回転角が大きくなるように構成すればよい。このことは、例えば靴底後プレート側の歯車の歯数を靴底前プレート側の歯車の歯数よりも少なくすればよい。歯車に替えて摩擦車を採用する場合、靴底後プレート側の摩擦車の直径を靴底前プレート側の摩擦車の直径よりも小さくすればよい。また、蹴り出しを補助する力を強くする別の方法として、靴底前プレートの前後方向の長さを靴底後プレートの前後方向の長さよりも短くすればよい。いずれの態様であっても、靴底後プレートに加えられる力よりも大きな力を靴底前プレートは出力することができる。このことは別言すれば、靴底後プレートを介してスプリング(弾性部材)を圧縮するのに要する力に比べて、スプリングの復元力(蓄積された弾性エネルギ)によって靴底前プレートを介して靴を押し上げる力を大きくすることに相当する。
【0010】
本明細書が開示する歩行支援装置の他の形態は、以下のラッチとラッチ解放機構を備えている。ラッチは、靴底後プレートが踵に接近して弾性部材に弾性エネルギが蓄えられた状態で靴底後プレートの回転を禁止する。なお、靴底前プレートと靴底後プレートは連動して動くので、ラッチは、直接的には靴底後プレートに係合するものであっても靴底前プレートに係合するものであってもよい。ラッチ解放機構は、靴底前プレートの先端部分が接地したときにラッチを解放する。即ち、このラッチとラッチ解放機構は、非特許文献1のヒールクラッチとつま先クラッチの2つのクラッチを兼ね備える。この歩行支援装置は、靴底前プレートと靴底後プレートを連動するように構成したことによって、非特許文献1よりもシンプルな機構を実現している。なお、ラッチ解放機構の一例は、つま先から下方に突出しているピンに連動してラッチを動かす(解放する)レバーアームである。
【0011】
ラッチを有する歩行支援装置は、前述の靴底前プレートが徐々に回転する装置と異なり、足が離地する直前のタイミングで強い補助力をユーザに与えることができる。前述の歩行支援装置は比較的小さい補助力で十分なユーザに適しており、ラッチを備える歩行支援装置は比較的大きな補助力を必要とするユーザに適している。
【発明の効果】
【0012】
本発明によれば、弾性部材の弾性エネルギを歩行支援に用いるシンプルな構造の歩行支援装置を実現することができる。
【図面の簡単な説明】
【0013】
【図1】第1実施例の歩行支援装置の側面図である。
【図2】第1実施例の歩行支援装置の動作を説明する図である(踵接地)。
【図3】第1実施例の歩行支援装置の動作を説明する図である(踵荷重)。
【図4】第1実施例の歩行支援装置の動作を説明する図である(足底接地)。
【図5】第1実施例の歩行支援装置の動作を説明する図である(つま先蹴り出し)。
【図6】第2実施例の歩行支援装置の側面図である。
【図7】第3実施例の歩行支援装置の側面図である。
【図8】第4実施例の歩行支援装置の側面図である。
【図9】第5実施例の歩行支援装置の側面図である。
【図10】第6実施例の歩行支援装置の側面図である。
【図11】先行技術文献に記載された義足デバイスの図である(1)。
【図12】先行技術文献に記載された義足デバイスの図である(2)。
【実施例1】
【0014】
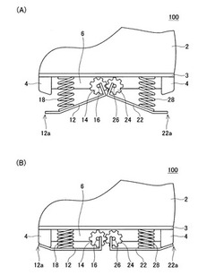
図1に、第1実施例の支援装置100(歩行支援装置)の側面図を示す。図1(A)は、スプリング18、28(後述)が自然長の状態を示しており、図1(B)は、スプリング18、28が圧縮された状態を示している。なお、図1、および、以降の図では、靴底部の中の機構を見せるため、靴底部の側面手前側のカバーを取り外した状態を描いている。
【0015】
支援装置100は、その靴底部にいくつかの機構を組み込んだ靴2で構成される。靴2の靴底部では、靴底上プレート3と、靴底前プレート12及び靴底後プレート22によって二重底が構成されている。靴底前プレート12と靴底後プレート22は、サイドカバー6に軸支されており、それらのプレートが、靴底の接地面(二重底の下側の底)を形成している。靴底前プレート12は、つま先と踵の間の位置で靴の側方に伸びる回転軸16に回転可能に軸支されている。ここで、「靴の側方」とは、ラテラル方向、あるいは、ピッチ方向と呼ばれることもある。靴底前プレート12には、回転軸16を中心とする歯車14が固定されている。靴底前プレート12は、回転軸16からつま先の下方へと伸びている。符号12aは、靴底前プレート12の先端を示している。靴底前プレート12の上面には、スプリング18が取り付けられている。スプリング18は、靴底前プレート12を靴底上プレート3から離れる方向、即ち靴2の下方へ付勢する。靴底前プレート12は、靴2の横方向最小幅と同程度の横幅(側方の長さ)を有している。靴2の横方向最小幅とは、土踏まずの付近における靴2の横幅に相当する。
【0016】
靴底後プレート22は、つま先と踵の間の位置で靴の側方に伸びる回転軸26に回転可能に軸支されている。靴底後プレート22には、その回転軸26を中心に歯車24が固定されている。靴底後プレート22は、回転軸26から踵の下方へと伸びている。符号22aは、靴底後プレート22の先端を示している。靴底後プレート22の上面には、スプリング28が取り付けられている。スプリング28は、靴底後プレート22を靴底上プレート3から離れる方向、即ち靴2の下方へ付勢する。靴底後プレート22も、靴底前プレート12と同様に、靴2の横方向最小幅と同程度の横幅(側方の長さ)を有している。
【0017】
符号4は靴のつま先と踵に取り付けられたストッパであり、靴底前プレートの先端12a(靴底後プレートの先端22a)が所定の位置よりも上方へ移動することを制限する。ストッパ4はゴム製である。特に踵側のストッパ4は、着地時の衝撃を緩和する機能も果たす。
【0018】
図1に示すように、歯車14と歯車24は係合しており、靴底前プレート12と靴底後プレート22は互いに逆方向に回転するように連動する。即ち、靴底前プレートの先端12aがつま先に近づく方向に回転するとき、靴底後プレートの先端22aは踵に近づく方向に回転する。歯車14と歯車24の係合により、踵が接地して靴底後プレート22が回転するとそれに連動して靴底前プレート12が回転する。歯車14と歯車24は、同じ直径を有しているとともに、同じ歯数を有している。従って、靴底前プレート12の回転角と靴底後プレート22の回転角は等しい。
【0019】
図2から図5を参照して、支援装置100の機能を説明する。歩行動作においては遊脚が着地する際、まず踵から着地する(図2参照)。支援装置100の踵が着地すると、地面Gから床反力を受け、靴底後プレート22が図2の矢印A1の方向に回転する。このとき同時に靴底前プレート12が矢印A2の方向に回転する。靴底後プレート22はスプリング28を圧縮し、靴底前プレート12はスプリング18を圧縮する(図3参照)。図3に示すように、靴底後プレート22の回転に連動して靴底前プレート12が回転するので、つま先が接地する前に靴底前プレート12はその先端12aがストッパ4に当接するまで回転する。踵の接地に続いてつま先が接地する際、靴底前プレート12の先端12aが既にストッパ4の位置まで回転しているので、靴2のつま先は抵抗なく接地することができる(図4)。歩行動作が進み、踵から荷重が抜けていくにつれて、靴底後プレート22を押さえつけていた荷重が減少する。即ち、スプリング18、28を圧縮していた荷重が減少する。荷重の減少に伴い、スプリング18、28の弾性エネルギが解放され、靴底前プレートの先端12aと靴底後プレートの先端22aを押し下げる(図5の矢印B参照)。靴底前プレートの先端12aを押し下げる力(スプリング18、28の復元力)は、靴2のつま先を前方上方へ押し上げる力になるとともに、足を前方へ回転させるモーメントとしても作用する(矢印C参照)。靴底前プレートの先端12aを押し下げる力(靴2のつま先を押し上げる力)と足を前方へ回転させるモーメントは、歩行動作における離地時の足の蹴り出しに寄与する。スプリング18と28に蓄えられた弾性エネルギが解放されることによって生じる上記の力とモーメントが、ユーザの歩行動作を支援する補助力となる。
【0020】
以上説明したように、歩行支援装置100は、靴底前プレート12と靴底後プレート22が連動して互いに反対方向に回転するように係合している。そのような機構により、第一に、踵の着地により靴底前プレートが上方に回転するという特徴を有する。この特徴により、つま先がスムーズに着地することができる。第二に、踵から荷重が抜け始めると靴底前プレート12が徐々に下方に回転する。この特徴により、踵から荷重が抜け始めると、靴底前プレート先端12aが下方に回転し始めて、離地時の蹴り出しを補助する力がつま先に加えられる。
【実施例2】
【0021】
次に、図6を参照して、第2実施例の支援装置200を説明する。第2実施例の支援装置200は、第1実施例の支援装置100にラッチとラッチ解放機構が付加されたものである。図6(A)は、歯車14に設けられたラッチ爪33が解放されており、スプリング18と28が自然長となっている状態を示しており、図6(B)は、ラッチ爪33がカムアーム34に係合しており、スプリング18と28が圧縮された状態を示している。図6(C)は、図6(B)において破線で囲った部分に相当し、ラッチ解放機構を拡大した図である。
【0022】
ラッチとラッチ解放機構は、レバーアーム31、カムアーム34、及びラッチ爪33で構成される。レバーアーム31とカムアーム34は、靴2の靴底部に軸支されており、ラッチ爪33は歯車14の側面に固定されている。レバーアーム31はピボット31bで軸支されている。レバーアーム31の一端31aは靴2のつま先から下方へ突出しており、他端31cはカムアーム34の一端に当接している。カムアーム34はピボット34aで軸支されている。カムアーム34の他端には、ラッチ爪33と係合する突起34bが設けられている。なお、ストッパ4と靴底前プレート12の先端には、レバーアーム31を通す切欠が設けられている。
【0023】
ラッチとラッチ解放機構の働きを説明する。支援装置200が踵から着地すると、靴底後プレート22が床反力により押し上げられる。靴底後プレート22の回転に伴い、靴底前プレート12が、時計回りに回転する。図6に示すように、カムアーム34の突起34bの背面とラッチ爪33の背面は傾斜しており、歯車14(靴底前プレート12)が時計回りに回転すると、ラッチ爪33の背面が突起34bの背面を押し上げる。歯車14がさらに回転し、ラッチ爪33が突起34bを通りすぎると突起34bが下がり、突起34bの前面とラッチ爪33の前面が係合する。両者が係合すると、歯車14の反時計回りの回転が禁止される(図6(B))。即ち、スプリング18と28に弾性エネルギが蓄えられたまま、靴底後プレート22と靴底前プレート12はそれらの回転が禁止される。
【0024】
歩行動作が進行し、踵が浮き、爪先立ち状態となると、つま先から下方へ突出していたレバーアーム31の先端31aが地面に接して押し上げられる。レバーアーム31はピボット31bを中心に時計方向に回転し、後端31cがカムアーム34の一端を押し下げる。そうするとカムアーム34は、ピボット34aを中心に反時計方向に回転する。突起34bが上昇し、歯車14のラッチ爪33が解放される。ラッチが解放されると歯車14の反時計方向の回転が許容される。スプリング18と28に蓄積された弾性エネルギが放出され、靴底前プレート12が、その先端12aを下方に向けて回転する。靴底前プレート12の先端12aを押し下げる方向に作用するスプリング復元力(靴2のつま先を押し上げるとともに靴2を前方に回転させるスプリング復元力)が、離地する足の蹴り出しを補助する。
【0025】
第2実施例の支援装置200では、踵の着地によって靴底後プレート22と靴底前プレート12が回転し、ラッチが係合すると一時的に回転が禁止される。このとき、スプリング18、28に弾性エネルギが蓄積される。踵が浮いてつま先立ちになるときにラッチ解放機構が作動し、スプリング18、28に蓄積された弾性エネルギが一気に解放され、靴底前プレートの先端12aが勢い良く下がる。このように支援装置200は、離地する際の蹴り出しを補助する強い補助力をユーザに加えることができる。
【実施例3】
【0026】
図7を参照して第3実施例の支援装置300を説明する。この支援装置300では、靴底前プレート312の前後方向長さLaが靴底後プレート322の前後方向長さLbに比べて短い。靴底前プレート312と靴底後プレート322の長さの変更に伴い、回転軸316と326も前方へ移動している。この支援装置300では、靴底前プレート312の長さLaと靴底後プレート322の長さLbの比La/Lbに応じて、靴底後プレート先端322aと靴底前プレート先端312aに作用する力の比が変化する。靴底前プレート312の長さLaが靴底後プレート322の長さLbよりも短ければ、踵接地の際にスプリング18と28を圧縮するのに要する床反力よりも、離地時の蹴り出しを補助する力(即ち、スプリング18と28の弾性力が靴底前プレート先端312aに及ぼす力)が大きくなる。別言すれば、この支援装置300は、踵着地にスプリング18、28を圧縮させるのに要する力よりも大きい力で蹴り出しを補助することができる。なお、同様の効果は、第1実施例の支援装置100において、靴底前プレート12側の歯車14の歯数を靴底後プレート22側の歯車24の歯数よりも多くすることによっても達成することができる。
【実施例4】
【0027】
図8を参照して第4実施例の支援装置400を説明する。支援装置400は、支援装置100のスプリング18と28に代えて、靴底前プレート12と靴底後プレート22を直接に連結するスプリング430を備えている。詳しくは、歯車14からその半径方向に伸びる支持アーム418と、歯車24からその半径方向に伸びる支持アーム428の間にスプリング430が配置されている。スプリング430は圧縮スプリングであり、図8(B)に示すように、靴底前プレートの先端12aと靴底後プレートの先端22aが上がる方向に歯車が回転するとスプリング430が圧縮され、弾性エネルギが蓄えられる。支援装置400の機能は支援装置100の機能と同じである。なお、図8は、支援装置400の構成を模式的に示しているにすぎず、実際には、支持アーム418、428やスプリング430は、靴2と干渉しないように配置される。
【実施例5】
【0028】
図9を参照して第5実施例の支援装置500を説明する。支援装置500は、支援装置100の歯車14、24の代りに、摩擦車514、524とベルト532を備えており、それらによって、靴底前プレート12と靴底後プレート22を連動させている。図9に示すように、軸線を平行にして配置された摩擦車514と524の間に、8の字を描くようにベルト532が巻き掛けられている。そのような配置により、摩擦車514と524、即ち、靴底前プレート12と靴底後プレート22は、互いに逆方向に回転するように連動する。支援装置400の機能は支援装置100の機能と同じである。
【実施例6】
【0029】
図10を参照して第6実施例の支援装置600を説明する。図10(A)は、スプリング18、28が圧縮された状態を示しており、図10(B)はスプリング18、28が伸びた状態を示している。支援装置600は、第5実施例の支援装置500と同様に、摩擦車614、624とベルト632を備えており、それらによって、靴底前プレート12と靴底後プレート22を連動させている。ただし、支援装置600では、靴底前プレート12を固定している摩擦車614の直径が靴底後プレート22を固定している摩擦車624の直径よりも大きい。具体的には、摩擦車614の直径は摩擦車624の直径の2倍である。この直径の差により、図10(B)に示すように、靴底前プレート12の回転角Afよりも靴底後プレート22の回転角Arが大きくなる。本実施例の場合、具体的には、「靴底前プレート12の回転角Af」×2=「靴底後プレート22の回転角Ar」の関係が成立する。
【0030】
以上の構成により、第6実施例の支援装置600は、第3実施例の支援装置300と同じ効果、即ち、踵接地の際にスプリング18と28を圧縮するのに要する床反力よりも、離地時の蹴り出しを補助する力(即ち、スプリング18と28の弾性力が靴底前プレート先端に及ぼす力)を大きくすることができる。なお、摩擦車の代わりに歯車を用いる場合、靴底後プレート側の歯車の歯数を靴底前プレート側の歯車の歯数よりも少なくすれば、支援装置600と同様の効果を得ることができる。例えば、靴底後プレート側の歯車の歯数を靴底前プレート側の歯車の歯数の半分にすれば、「靴底前プレートの回転角」×2=「靴底後プレート22の回転角」の関係を得ることができる。
【0031】
以上、本発明の好適な実施例について説明した。実施例で例示した支援装置についての留意点を述べる。実施例における靴底前プレートと靴底後プレートは、靴の側方向に幅を有する板であったがこれに限定されるものではない。靴底前プレートと靴底後プレートは、フォークのように複数のロッドが靴の前後方向に伸びている形状を有していてもよい。第1実施例から第3実施例までの支援装置、及び、第5実施例の支援装置は、靴底前プレートと靴底後プレートの双方にスプリングを備えていた。支援装置は、靴底前プレートと靴底後プレートのいずれか一方だけにスプリングを備える形態であってもよい。靴底前プレートと靴底後プレートは歯車又は摩擦車で連動しているので、いずれが一方のプレートにスプリングが備えられていれば、その付勢力は他方のプレートにも及ぶからである。
【0032】
また、第5実施例の支援装置500(図9参照)、第6実施例の支援装置600(図10参照)は、2つの摩擦車514、524(614、624)の間にベルト532(632)を巻き掛けて両者を連動させた。ベルトを介さず、摩擦車514と524(614と624)を直接に接触させて両者を連動させてもよい。さらに、靴底前プレートと靴底後プレートの連動は、歯車や摩擦車以外の方法、例えば、リンクで連結することによって達成してもよい。
【0033】
以上、本発明の具体例を詳細に説明したが、これらは例示に過ぎず、特許請求の範囲を限定するものではない。特許請求の範囲に記載の技術には、以上に例示した具体例を様々に変形、変更したものが含まれる。本明細書または図面に説明した技術要素は、単独であるいは各種の組合せによって技術的有用性を発揮するものであり、出願時請求項記載の組合せに限定されるものではない。また、本明細書または図面に例示した技術は複数目的を同時に達成し得るものであり、そのうちの一つの目的を達成すること自体で技術的有用性を持つものである。
【符号の説明】
【0034】
2:靴
3:靴底上プレート
4:ストッパ
6:サイドカバー
12:靴底前プレート
14、24:歯車
16、26:回転軸
18、28:スプリング
22:靴底後プレート
31:レバーアーム
31b、34a:ピボット
33:ラッチ爪
34:カムアーム
34b:突起
100、200、300、400、500、600:歩行支援装置
【技術分野】
【0001】
本発明は、ユーザの歩行動作を補助する歩行支援装置に関する。
【背景技術】
【0002】
弾性部材(スプリング)の弾性エネルギを利用して歩行動作を補助する装置が研究されている。その一つが非特許文献1に開示されている。非特許文献1には、歩行支援装置の原理確認用の義足デバイスが開示されている。非特許文献1の図2を、本願の図11、図12に再記する。ただし、部品を示す数字は本明細書にて付加した。以下、図11、図12に示した義足デバイス900を説明する。図11は義足デバイス900の側面図を示しており、図12(1)〜(6)は、義足デバイス900の動作シーケンスを示している。
【0003】
義足デバイス900は、足後部906(rear-foot)と足前部907(fore-foot)を有しており、それらは足の中心付近で足の側方に伸びる回転軸903(mid-foot axis)で連結している。足後部906が着地し、踵に荷重(床反力)が加わると、足後部906がスプリング905(spring)を圧縮し、弾性エネルギが蓄えられる(図11(1)、(2))。スプリング905が十分に圧縮されたところでヒールクラッチ901(heel clutch)が作動し、足後部906をロックする(図11(2))。足が離地する直前、つま先が接地したまま踵が浮き上がる時点で、つま先クラッチ902(toe clutch)が解放される(図11(4))。そうすると、スプリング905が解放され、足前部907の先端(つま先側)が下がる。このとき、足前部907の先端が床を押すとともに、義足デバイス900の踵側を持ち上げる向きのモーメントが発生する(図11(5))。このモーメントが、脚全体を通して体を前方に進める推進力となる。最後に、ヒールクラッチ901を解放する。このとき、リセットスプリング904(reset spring)が足前部907の先端を上げる方向のモーメントを及ぼし、足後部906の踵側が下がるとともに足前部907のつま先側が上がり、義足デバイス900は初期状態に戻る(図11(6))。義足デバイス900は、接地センサ(不図示)と、2つのモータ、及び、それらを制御するマイクロコントローラを備えている。2つのモータは夫々、つま先クラッチ902とヒールクラッチ901を制御する。つま先クラッチ902を解放するタイミングは、接地センサに基づいてマイクロコントローラが決定する。
【先行技術文献】
【非特許文献】
【0004】
【非特許文献1】Steven H. Collins, Arthur D. Kuo, “Recycling Energy to Restore Impaired Ankle Function during Human Walking”, PLoS ONE Vol. 5, Issue 2, e9307, Published February 17, 2010, http://www.plosone.org, doi:10.1371/journal.pone.0009307
【発明の概要】
【発明が解決しようとする課題】
【0005】
非特許文献1のデバイスは、2つのクラッチを有しており、複雑なメカニズムが要求される。本明細書は、非特許文献1の技術と同様に弾性エネルギを歩行支援に用いる点では同じであるが、メカニズムを工夫し、非特許文献1よりもシンプルな構成の歩行支援装置を提供する。
【課題を解決するための手段】
【0006】
本明細書が開示する歩行支援装置は、非特許文献1の足前部907と足後部906に相当する靴底前プレートと靴底後プレートを有している。本明細書が開示する技術は、靴底前プレートと靴底後プレートが機構的に連動して動くように構成した点に特徴がある。
【0007】
本明細書が開示する歩行支援装置の一態様は、靴、靴底前プレート、靴底後プレート、及び、弾性部材を有している。靴底前プレート、靴底後プレート、弾性部材は靴の底部に取り付けられている。靴底前プレートは、つま先と踵の間の位置で靴の側方に伸びる回転軸の周りに回転可能に靴に軸支されている。靴底前プレートの先端はつま先の下へ伸びている。靴底後プレートは、つま先と踵の間の位置で靴の側方に伸びる回転軸の周りに回転可能に靴に軸支されている。靴底後プレートの先端は踵の下へ伸びている。靴底前プレートと靴底後プレートは、連動して互いに反対方向に回転するように係合している。例えば、靴底前プレートと靴底後プレートは、夫々、互いに係合する歯車又は摩擦車を有しており、歯車又は摩擦車によって連動して回転する。摩擦車を備える場合、それらは、周面が直接に接して係合していてもよいし、ベルトを介して係合していてもよい。ベルトの場合は、2つの摩擦車にベルトを8の字状に巻き掛けることによって、互いに反対方向に回転するように構成することができる。弾性部材は、靴底前プレートと靴底後プレートのいずれか一方、あるいは両方に備えられており、靴底前プレート(靴底後プレート)の先端を下方へ付勢するように配置されている。靴底前プレートと靴底後プレートは連動して回転するので、両プレートのいずれか一方に弾性部材が取り付けられていれば、他方にも付勢力が及ぶ。弾性部材は典型的にはスプリングでよい。
【0008】
上記の歩行支援装置は、靴底前プレートと靴底後プレートが連動して回転する。それゆえ、踵側に荷重が加わると靴底後プレートが回転すると同時に靴底前プレートが靴底に近づく方向に回転する。また、踵側の荷重が抜けると弾性エネルギによって靴底前プレートは靴底後プレートとともにそれらの先端が靴底から遠ざかる方向に回転する。この機構は歩行中に次のように動作する。まず、着地時に踵が接地すると靴底後プレートと靴底前プレートが靴底に近づく方向に回転する。靴底前プレートが靴底に近づいているので、踵の接地に続いてつま先がスムーズに着地することができる。なお、着地時の靴底後プレート(靴底前プレート)の回転に伴い、弾性部材が圧縮され、弾性エネルギが蓄えられる。次に、足の離地の直前に踵が浮き始めると、弾性エネルギが開放され、靴底前プレートが、その先端を下げる向きに回転する。このとき、靴底前プレートは、踵から荷重が抜けていくのに伴って徐々に回転する。足の離地直前に靴底前プレートが徐々に回転して床面を押すことが、離地時の足の蹴り出しをスムーズにする。このように本明細書が開示する技術は、弾性エネルギを利用する歩行支援装置をシンプルな機構で実現する。
【0009】
足の蹴り出しを補助する力は強い方が好ましい場合がある。蹴り出しを補助する力を強くするには、一つには、靴底前プレートの回転角に対する靴底後プレートの回転角が大きくなるように構成すればよい。このことは、例えば靴底後プレート側の歯車の歯数を靴底前プレート側の歯車の歯数よりも少なくすればよい。歯車に替えて摩擦車を採用する場合、靴底後プレート側の摩擦車の直径を靴底前プレート側の摩擦車の直径よりも小さくすればよい。また、蹴り出しを補助する力を強くする別の方法として、靴底前プレートの前後方向の長さを靴底後プレートの前後方向の長さよりも短くすればよい。いずれの態様であっても、靴底後プレートに加えられる力よりも大きな力を靴底前プレートは出力することができる。このことは別言すれば、靴底後プレートを介してスプリング(弾性部材)を圧縮するのに要する力に比べて、スプリングの復元力(蓄積された弾性エネルギ)によって靴底前プレートを介して靴を押し上げる力を大きくすることに相当する。
【0010】
本明細書が開示する歩行支援装置の他の形態は、以下のラッチとラッチ解放機構を備えている。ラッチは、靴底後プレートが踵に接近して弾性部材に弾性エネルギが蓄えられた状態で靴底後プレートの回転を禁止する。なお、靴底前プレートと靴底後プレートは連動して動くので、ラッチは、直接的には靴底後プレートに係合するものであっても靴底前プレートに係合するものであってもよい。ラッチ解放機構は、靴底前プレートの先端部分が接地したときにラッチを解放する。即ち、このラッチとラッチ解放機構は、非特許文献1のヒールクラッチとつま先クラッチの2つのクラッチを兼ね備える。この歩行支援装置は、靴底前プレートと靴底後プレートを連動するように構成したことによって、非特許文献1よりもシンプルな機構を実現している。なお、ラッチ解放機構の一例は、つま先から下方に突出しているピンに連動してラッチを動かす(解放する)レバーアームである。
【0011】
ラッチを有する歩行支援装置は、前述の靴底前プレートが徐々に回転する装置と異なり、足が離地する直前のタイミングで強い補助力をユーザに与えることができる。前述の歩行支援装置は比較的小さい補助力で十分なユーザに適しており、ラッチを備える歩行支援装置は比較的大きな補助力を必要とするユーザに適している。
【発明の効果】
【0012】
本発明によれば、弾性部材の弾性エネルギを歩行支援に用いるシンプルな構造の歩行支援装置を実現することができる。
【図面の簡単な説明】
【0013】
【図1】第1実施例の歩行支援装置の側面図である。
【図2】第1実施例の歩行支援装置の動作を説明する図である(踵接地)。
【図3】第1実施例の歩行支援装置の動作を説明する図である(踵荷重)。
【図4】第1実施例の歩行支援装置の動作を説明する図である(足底接地)。
【図5】第1実施例の歩行支援装置の動作を説明する図である(つま先蹴り出し)。
【図6】第2実施例の歩行支援装置の側面図である。
【図7】第3実施例の歩行支援装置の側面図である。
【図8】第4実施例の歩行支援装置の側面図である。
【図9】第5実施例の歩行支援装置の側面図である。
【図10】第6実施例の歩行支援装置の側面図である。
【図11】先行技術文献に記載された義足デバイスの図である(1)。
【図12】先行技術文献に記載された義足デバイスの図である(2)。
【実施例1】
【0014】
図1に、第1実施例の支援装置100(歩行支援装置)の側面図を示す。図1(A)は、スプリング18、28(後述)が自然長の状態を示しており、図1(B)は、スプリング18、28が圧縮された状態を示している。なお、図1、および、以降の図では、靴底部の中の機構を見せるため、靴底部の側面手前側のカバーを取り外した状態を描いている。
【0015】
支援装置100は、その靴底部にいくつかの機構を組み込んだ靴2で構成される。靴2の靴底部では、靴底上プレート3と、靴底前プレート12及び靴底後プレート22によって二重底が構成されている。靴底前プレート12と靴底後プレート22は、サイドカバー6に軸支されており、それらのプレートが、靴底の接地面(二重底の下側の底)を形成している。靴底前プレート12は、つま先と踵の間の位置で靴の側方に伸びる回転軸16に回転可能に軸支されている。ここで、「靴の側方」とは、ラテラル方向、あるいは、ピッチ方向と呼ばれることもある。靴底前プレート12には、回転軸16を中心とする歯車14が固定されている。靴底前プレート12は、回転軸16からつま先の下方へと伸びている。符号12aは、靴底前プレート12の先端を示している。靴底前プレート12の上面には、スプリング18が取り付けられている。スプリング18は、靴底前プレート12を靴底上プレート3から離れる方向、即ち靴2の下方へ付勢する。靴底前プレート12は、靴2の横方向最小幅と同程度の横幅(側方の長さ)を有している。靴2の横方向最小幅とは、土踏まずの付近における靴2の横幅に相当する。
【0016】
靴底後プレート22は、つま先と踵の間の位置で靴の側方に伸びる回転軸26に回転可能に軸支されている。靴底後プレート22には、その回転軸26を中心に歯車24が固定されている。靴底後プレート22は、回転軸26から踵の下方へと伸びている。符号22aは、靴底後プレート22の先端を示している。靴底後プレート22の上面には、スプリング28が取り付けられている。スプリング28は、靴底後プレート22を靴底上プレート3から離れる方向、即ち靴2の下方へ付勢する。靴底後プレート22も、靴底前プレート12と同様に、靴2の横方向最小幅と同程度の横幅(側方の長さ)を有している。
【0017】
符号4は靴のつま先と踵に取り付けられたストッパであり、靴底前プレートの先端12a(靴底後プレートの先端22a)が所定の位置よりも上方へ移動することを制限する。ストッパ4はゴム製である。特に踵側のストッパ4は、着地時の衝撃を緩和する機能も果たす。
【0018】
図1に示すように、歯車14と歯車24は係合しており、靴底前プレート12と靴底後プレート22は互いに逆方向に回転するように連動する。即ち、靴底前プレートの先端12aがつま先に近づく方向に回転するとき、靴底後プレートの先端22aは踵に近づく方向に回転する。歯車14と歯車24の係合により、踵が接地して靴底後プレート22が回転するとそれに連動して靴底前プレート12が回転する。歯車14と歯車24は、同じ直径を有しているとともに、同じ歯数を有している。従って、靴底前プレート12の回転角と靴底後プレート22の回転角は等しい。
【0019】
図2から図5を参照して、支援装置100の機能を説明する。歩行動作においては遊脚が着地する際、まず踵から着地する(図2参照)。支援装置100の踵が着地すると、地面Gから床反力を受け、靴底後プレート22が図2の矢印A1の方向に回転する。このとき同時に靴底前プレート12が矢印A2の方向に回転する。靴底後プレート22はスプリング28を圧縮し、靴底前プレート12はスプリング18を圧縮する(図3参照)。図3に示すように、靴底後プレート22の回転に連動して靴底前プレート12が回転するので、つま先が接地する前に靴底前プレート12はその先端12aがストッパ4に当接するまで回転する。踵の接地に続いてつま先が接地する際、靴底前プレート12の先端12aが既にストッパ4の位置まで回転しているので、靴2のつま先は抵抗なく接地することができる(図4)。歩行動作が進み、踵から荷重が抜けていくにつれて、靴底後プレート22を押さえつけていた荷重が減少する。即ち、スプリング18、28を圧縮していた荷重が減少する。荷重の減少に伴い、スプリング18、28の弾性エネルギが解放され、靴底前プレートの先端12aと靴底後プレートの先端22aを押し下げる(図5の矢印B参照)。靴底前プレートの先端12aを押し下げる力(スプリング18、28の復元力)は、靴2のつま先を前方上方へ押し上げる力になるとともに、足を前方へ回転させるモーメントとしても作用する(矢印C参照)。靴底前プレートの先端12aを押し下げる力(靴2のつま先を押し上げる力)と足を前方へ回転させるモーメントは、歩行動作における離地時の足の蹴り出しに寄与する。スプリング18と28に蓄えられた弾性エネルギが解放されることによって生じる上記の力とモーメントが、ユーザの歩行動作を支援する補助力となる。
【0020】
以上説明したように、歩行支援装置100は、靴底前プレート12と靴底後プレート22が連動して互いに反対方向に回転するように係合している。そのような機構により、第一に、踵の着地により靴底前プレートが上方に回転するという特徴を有する。この特徴により、つま先がスムーズに着地することができる。第二に、踵から荷重が抜け始めると靴底前プレート12が徐々に下方に回転する。この特徴により、踵から荷重が抜け始めると、靴底前プレート先端12aが下方に回転し始めて、離地時の蹴り出しを補助する力がつま先に加えられる。
【実施例2】
【0021】
次に、図6を参照して、第2実施例の支援装置200を説明する。第2実施例の支援装置200は、第1実施例の支援装置100にラッチとラッチ解放機構が付加されたものである。図6(A)は、歯車14に設けられたラッチ爪33が解放されており、スプリング18と28が自然長となっている状態を示しており、図6(B)は、ラッチ爪33がカムアーム34に係合しており、スプリング18と28が圧縮された状態を示している。図6(C)は、図6(B)において破線で囲った部分に相当し、ラッチ解放機構を拡大した図である。
【0022】
ラッチとラッチ解放機構は、レバーアーム31、カムアーム34、及びラッチ爪33で構成される。レバーアーム31とカムアーム34は、靴2の靴底部に軸支されており、ラッチ爪33は歯車14の側面に固定されている。レバーアーム31はピボット31bで軸支されている。レバーアーム31の一端31aは靴2のつま先から下方へ突出しており、他端31cはカムアーム34の一端に当接している。カムアーム34はピボット34aで軸支されている。カムアーム34の他端には、ラッチ爪33と係合する突起34bが設けられている。なお、ストッパ4と靴底前プレート12の先端には、レバーアーム31を通す切欠が設けられている。
【0023】
ラッチとラッチ解放機構の働きを説明する。支援装置200が踵から着地すると、靴底後プレート22が床反力により押し上げられる。靴底後プレート22の回転に伴い、靴底前プレート12が、時計回りに回転する。図6に示すように、カムアーム34の突起34bの背面とラッチ爪33の背面は傾斜しており、歯車14(靴底前プレート12)が時計回りに回転すると、ラッチ爪33の背面が突起34bの背面を押し上げる。歯車14がさらに回転し、ラッチ爪33が突起34bを通りすぎると突起34bが下がり、突起34bの前面とラッチ爪33の前面が係合する。両者が係合すると、歯車14の反時計回りの回転が禁止される(図6(B))。即ち、スプリング18と28に弾性エネルギが蓄えられたまま、靴底後プレート22と靴底前プレート12はそれらの回転が禁止される。
【0024】
歩行動作が進行し、踵が浮き、爪先立ち状態となると、つま先から下方へ突出していたレバーアーム31の先端31aが地面に接して押し上げられる。レバーアーム31はピボット31bを中心に時計方向に回転し、後端31cがカムアーム34の一端を押し下げる。そうするとカムアーム34は、ピボット34aを中心に反時計方向に回転する。突起34bが上昇し、歯車14のラッチ爪33が解放される。ラッチが解放されると歯車14の反時計方向の回転が許容される。スプリング18と28に蓄積された弾性エネルギが放出され、靴底前プレート12が、その先端12aを下方に向けて回転する。靴底前プレート12の先端12aを押し下げる方向に作用するスプリング復元力(靴2のつま先を押し上げるとともに靴2を前方に回転させるスプリング復元力)が、離地する足の蹴り出しを補助する。
【0025】
第2実施例の支援装置200では、踵の着地によって靴底後プレート22と靴底前プレート12が回転し、ラッチが係合すると一時的に回転が禁止される。このとき、スプリング18、28に弾性エネルギが蓄積される。踵が浮いてつま先立ちになるときにラッチ解放機構が作動し、スプリング18、28に蓄積された弾性エネルギが一気に解放され、靴底前プレートの先端12aが勢い良く下がる。このように支援装置200は、離地する際の蹴り出しを補助する強い補助力をユーザに加えることができる。
【実施例3】
【0026】
図7を参照して第3実施例の支援装置300を説明する。この支援装置300では、靴底前プレート312の前後方向長さLaが靴底後プレート322の前後方向長さLbに比べて短い。靴底前プレート312と靴底後プレート322の長さの変更に伴い、回転軸316と326も前方へ移動している。この支援装置300では、靴底前プレート312の長さLaと靴底後プレート322の長さLbの比La/Lbに応じて、靴底後プレート先端322aと靴底前プレート先端312aに作用する力の比が変化する。靴底前プレート312の長さLaが靴底後プレート322の長さLbよりも短ければ、踵接地の際にスプリング18と28を圧縮するのに要する床反力よりも、離地時の蹴り出しを補助する力(即ち、スプリング18と28の弾性力が靴底前プレート先端312aに及ぼす力)が大きくなる。別言すれば、この支援装置300は、踵着地にスプリング18、28を圧縮させるのに要する力よりも大きい力で蹴り出しを補助することができる。なお、同様の効果は、第1実施例の支援装置100において、靴底前プレート12側の歯車14の歯数を靴底後プレート22側の歯車24の歯数よりも多くすることによっても達成することができる。
【実施例4】
【0027】
図8を参照して第4実施例の支援装置400を説明する。支援装置400は、支援装置100のスプリング18と28に代えて、靴底前プレート12と靴底後プレート22を直接に連結するスプリング430を備えている。詳しくは、歯車14からその半径方向に伸びる支持アーム418と、歯車24からその半径方向に伸びる支持アーム428の間にスプリング430が配置されている。スプリング430は圧縮スプリングであり、図8(B)に示すように、靴底前プレートの先端12aと靴底後プレートの先端22aが上がる方向に歯車が回転するとスプリング430が圧縮され、弾性エネルギが蓄えられる。支援装置400の機能は支援装置100の機能と同じである。なお、図8は、支援装置400の構成を模式的に示しているにすぎず、実際には、支持アーム418、428やスプリング430は、靴2と干渉しないように配置される。
【実施例5】
【0028】
図9を参照して第5実施例の支援装置500を説明する。支援装置500は、支援装置100の歯車14、24の代りに、摩擦車514、524とベルト532を備えており、それらによって、靴底前プレート12と靴底後プレート22を連動させている。図9に示すように、軸線を平行にして配置された摩擦車514と524の間に、8の字を描くようにベルト532が巻き掛けられている。そのような配置により、摩擦車514と524、即ち、靴底前プレート12と靴底後プレート22は、互いに逆方向に回転するように連動する。支援装置400の機能は支援装置100の機能と同じである。
【実施例6】
【0029】
図10を参照して第6実施例の支援装置600を説明する。図10(A)は、スプリング18、28が圧縮された状態を示しており、図10(B)はスプリング18、28が伸びた状態を示している。支援装置600は、第5実施例の支援装置500と同様に、摩擦車614、624とベルト632を備えており、それらによって、靴底前プレート12と靴底後プレート22を連動させている。ただし、支援装置600では、靴底前プレート12を固定している摩擦車614の直径が靴底後プレート22を固定している摩擦車624の直径よりも大きい。具体的には、摩擦車614の直径は摩擦車624の直径の2倍である。この直径の差により、図10(B)に示すように、靴底前プレート12の回転角Afよりも靴底後プレート22の回転角Arが大きくなる。本実施例の場合、具体的には、「靴底前プレート12の回転角Af」×2=「靴底後プレート22の回転角Ar」の関係が成立する。
【0030】
以上の構成により、第6実施例の支援装置600は、第3実施例の支援装置300と同じ効果、即ち、踵接地の際にスプリング18と28を圧縮するのに要する床反力よりも、離地時の蹴り出しを補助する力(即ち、スプリング18と28の弾性力が靴底前プレート先端に及ぼす力)を大きくすることができる。なお、摩擦車の代わりに歯車を用いる場合、靴底後プレート側の歯車の歯数を靴底前プレート側の歯車の歯数よりも少なくすれば、支援装置600と同様の効果を得ることができる。例えば、靴底後プレート側の歯車の歯数を靴底前プレート側の歯車の歯数の半分にすれば、「靴底前プレートの回転角」×2=「靴底後プレート22の回転角」の関係を得ることができる。
【0031】
以上、本発明の好適な実施例について説明した。実施例で例示した支援装置についての留意点を述べる。実施例における靴底前プレートと靴底後プレートは、靴の側方向に幅を有する板であったがこれに限定されるものではない。靴底前プレートと靴底後プレートは、フォークのように複数のロッドが靴の前後方向に伸びている形状を有していてもよい。第1実施例から第3実施例までの支援装置、及び、第5実施例の支援装置は、靴底前プレートと靴底後プレートの双方にスプリングを備えていた。支援装置は、靴底前プレートと靴底後プレートのいずれか一方だけにスプリングを備える形態であってもよい。靴底前プレートと靴底後プレートは歯車又は摩擦車で連動しているので、いずれが一方のプレートにスプリングが備えられていれば、その付勢力は他方のプレートにも及ぶからである。
【0032】
また、第5実施例の支援装置500(図9参照)、第6実施例の支援装置600(図10参照)は、2つの摩擦車514、524(614、624)の間にベルト532(632)を巻き掛けて両者を連動させた。ベルトを介さず、摩擦車514と524(614と624)を直接に接触させて両者を連動させてもよい。さらに、靴底前プレートと靴底後プレートの連動は、歯車や摩擦車以外の方法、例えば、リンクで連結することによって達成してもよい。
【0033】
以上、本発明の具体例を詳細に説明したが、これらは例示に過ぎず、特許請求の範囲を限定するものではない。特許請求の範囲に記載の技術には、以上に例示した具体例を様々に変形、変更したものが含まれる。本明細書または図面に説明した技術要素は、単独であるいは各種の組合せによって技術的有用性を発揮するものであり、出願時請求項記載の組合せに限定されるものではない。また、本明細書または図面に例示した技術は複数目的を同時に達成し得るものであり、そのうちの一つの目的を達成すること自体で技術的有用性を持つものである。
【符号の説明】
【0034】
2:靴
3:靴底上プレート
4:ストッパ
6:サイドカバー
12:靴底前プレート
14、24:歯車
16、26:回転軸
18、28:スプリング
22:靴底後プレート
31:レバーアーム
31b、34a:ピボット
33:ラッチ爪
34:カムアーム
34b:突起
100、200、300、400、500、600:歩行支援装置
【特許請求の範囲】
【請求項1】
靴と、
つま先と踵の間の位置で側方に伸びる回転軸の周りに回転可能に靴に軸支されており、先端がつま先の下へ伸びている靴底前プレートと、
つま先と踵の間の位置で側方に伸びる回転軸の周りに回転可能に靴に軸支されており、先端が踵の下へ伸びている靴底後プレートと、
を備えており、
靴底前プレートと靴底後プレートは、連動して互いに反対方向に回転するように係合しており、
靴底前プレートと靴底後プレートの少なくも一方に、当該プレートを下方へ付勢する弾性部材が取り付けられていることを特徴とする歩行支援装置。
【請求項2】
靴底前プレートと靴底後プレートは、夫々のプレートに取り付けられているとともに互いに係合する歯車又は摩擦車によって連動することを特徴とする請求項1に記載の歩行支援装置。
【請求項3】
靴底前プレートの回転角に対する靴底後プレートの回転角が大きいことを特徴とする請求項1又は2に記載の歩行支援装置。
【請求項4】
靴底前プレートの前後方向の長さが靴底後プレートの前後方向の長さよりも短いことを特徴とする請求項1から3のいずれか1項に記載の歩行支援装置。
【請求項5】
靴底後プレートが踵に接近して弾性部材に弾性エネルギが蓄えられた状態で靴底後プレートの回転を禁止するラッチと、
靴底前プレートの先端部分が接地したときにラッチを解放するラッチ解放機構と、
を備えることを特徴とする請求項1から4のいずれか1項に記載の歩行支援装置。
【請求項1】
靴と、
つま先と踵の間の位置で側方に伸びる回転軸の周りに回転可能に靴に軸支されており、先端がつま先の下へ伸びている靴底前プレートと、
つま先と踵の間の位置で側方に伸びる回転軸の周りに回転可能に靴に軸支されており、先端が踵の下へ伸びている靴底後プレートと、
を備えており、
靴底前プレートと靴底後プレートは、連動して互いに反対方向に回転するように係合しており、
靴底前プレートと靴底後プレートの少なくも一方に、当該プレートを下方へ付勢する弾性部材が取り付けられていることを特徴とする歩行支援装置。
【請求項2】
靴底前プレートと靴底後プレートは、夫々のプレートに取り付けられているとともに互いに係合する歯車又は摩擦車によって連動することを特徴とする請求項1に記載の歩行支援装置。
【請求項3】
靴底前プレートの回転角に対する靴底後プレートの回転角が大きいことを特徴とする請求項1又は2に記載の歩行支援装置。
【請求項4】
靴底前プレートの前後方向の長さが靴底後プレートの前後方向の長さよりも短いことを特徴とする請求項1から3のいずれか1項に記載の歩行支援装置。
【請求項5】
靴底後プレートが踵に接近して弾性部材に弾性エネルギが蓄えられた状態で靴底後プレートの回転を禁止するラッチと、
靴底前プレートの先端部分が接地したときにラッチを解放するラッチ解放機構と、
を備えることを特徴とする請求項1から4のいずれか1項に記載の歩行支援装置。
【図1】


【図2】


【図3】


【図4】


【図5】


【図6】


【図7】


【図8】


【図9】


【図10】


【図11】


【図12】




【図2】


【図3】


【図4】


【図5】


【図6】


【図7】


【図8】


【図9】


【図10】


【図11】


【図12】


【公開番号】特開2012−143365(P2012−143365A)
【公開日】平成24年8月2日(2012.8.2)
【国際特許分類】
【出願番号】特願2011−3483(P2011−3483)
【出願日】平成23年1月11日(2011.1.11)
【出願人】(000003207)トヨタ自動車株式会社 (59,920)
【Fターム(参考)】
【公開日】平成24年8月2日(2012.8.2)
【国際特許分類】
【出願日】平成23年1月11日(2011.1.11)
【出願人】(000003207)トヨタ自動車株式会社 (59,920)
【Fターム(参考)】
[ Back to top ]