運動競技用シューズ
【課題】トラック競技に最適なできる限り軽い靴を提供する。
【解決手段】実質的に不撓性の材料から作製されるつま先部70、可撓性材料から作製されるボール部分80、および実質的に不撓性の材料から作製されるインステップ・かかと部分90を有する履き物10用のソール20に関する。実質的に不撓性の材料は熱可塑性エポキシ樹脂中の炭素繊維であり、可撓性材料は熱可塑性エポキシ樹脂中のアラミド繊維である。このソールを有する製造されたシューズおよびシューズの製造方法も開示する。
【解決手段】実質的に不撓性の材料から作製されるつま先部70、可撓性材料から作製されるボール部分80、および実質的に不撓性の材料から作製されるインステップ・かかと部分90を有する履き物10用のソール20に関する。実質的に不撓性の材料は熱可塑性エポキシ樹脂中の炭素繊維であり、可撓性材料は熱可塑性エポキシ樹脂中のアラミド繊維である。このソールを有する製造されたシューズおよびシューズの製造方法も開示する。
【発明の詳細な説明】
【技術分野】
【0001】
発明の分野
本発明は、履き物、より特定するとトラック競技のための運動競技用履き物に関する。
【背景技術】
【0002】
発明の背景
運動選手のための現在のスポーツシューズは、合成樹脂のソールおよび布地のアッパーを有する。このようなシューズは、特に短距離、例えば100mまたは200mにおいて、運動選手の動きを向上するためにできる限り軽くなるよう製造される。
【0003】
欧州特許出願第EP-A-0 799 583号(Technica S.p.A):特許文献1のスポーツシューズの一例が公知である。この特許で説明されているシューズは、補強挿入物を伴うゴムのような弾力のある材料から作製されるソールを有する。このシューズは、その重量から短距離トラック競技には適さない。
【0004】
様々な運動競技用シューズがいくつかの製造業者によって製造されている。Saucony中距離競走用シューズの布地は、シューズの総重量をできる限り低く維持するため非常に軽量である。Asicsスプリンティングスパイクシューズは、フットプレート(footplate)後方からシューズのソール上にゴムグリップを使用している。
【0005】
トレイルランニングおよびハイキングに使用できるサンダル靴も当技術分野で公知である。Teva company(フラッグスタッフ、アリゾナ州、米国)によって製造されたものなど、これらのサンダル靴は、サンダル靴を足に保持するためのストラップを伴う開放型の構造を有する。サンダル靴は、開放型のつま先、アーチおよびかかとの領域を伴う実質的に平らなソールを有する。Wraptor2モデルなど、このようなサンダル靴は、長距離トレイルランニングに適していると思われる一方、その重い重量によりトラック競技の運動選手による使用には適さない。
【0006】
できる限り軽量であるように、かつ自転車への運動選手の筋力の伝達をできるだけ大きくするようにも設計される自転車競技用シューズは、当技術分野で公知である。例えば、米国特許第US-A-5,836,094号(Figel):特許文献2は、繊維および樹脂から作製された合成物が従来のシューズのソールおよびアッパー部分にとって代わっている自転車競技用シューズを開示している。この特許では、シューズの全ソールが、合成物から作製される。合成物の製造は、炭素繊維シート層およびケブラー層を用いて構築される炭素繊維、ケブラー繊維、およびエポキシ樹脂によるものである。
【0007】
別の自転車競技用シューズは、米国特許第US-A-5,406,723号(Okajima、Shimano, Inc.(大阪、日本)に付与):特許文献3に説明されている。この特許は、ポリウレタンフォームから作製された、繊維層で囲まれている芯を伴うシューズのソールを説明している。ガラス布を芯の上部表面および下部表面に適用し、層を形成する。次に、フェノール樹脂に含浸させた炭素繊維シートをガラス布の上に置き、その上に含浸させたガラス布を置く。この過程は、堅いソールが製造されて初めて終了する。
【0008】
しかしながら、自転車競技用シューズは、実質的に不撓性で堅いソールを有するので、トラック競技の運動選手による使用に適さない。トラック競技の運動選手は、特にスタート台において、彼らの動きを最大にするために可撓性のあるシューズを必要とする。
【先行技術文献】
【特許文献】
【0009】
【特許文献1】欧州特許第0 799 583号明細書
【特許文献2】米国特許第5,836,094号明細書
【特許文献3】米国特許第5,406,723号明細書
【発明の概要】
【0010】
従って、特に短距離トラック競技における使用のために改良型シューズを製造する必要がある。
【0011】
さらに、シューズの重量を減らす必要がある。
【0012】
その上、特にスタート台において、トラック競技の運動選手の力をトラックへ最大限伝達するためのシューズを設計する必要がある。
【0013】
これらの、およびその他の目的は、つま先部分、ボール部分、およびインステップ・かかと部分を有する履き物用のソールを提供することによって達成される。ソールのつま先部分は、運動選手の足に実質的に接するソール領域である。ソールのボール部分は、運動選手の足指のつけ根のふくらみに実質的に接する履き物の領域である。ソールのインステップ・ボール部分は、ソール領域の残りの部分であり、かつ運動選手の足のアーチまたは足のインステップおよび足指のつけ根のふくらみ部分に及ぶ。本発明のソールにおいて、つま先部分およびソールのインステップ・かかと部分のどちらも、実質的に不撓性の材料から作製される。この材料は、運動選手が走っている間堅い状態のままである。一方、ソールのボール部分は、運動選手がスタート台にいる場合およびレース中は曲がることのできる可撓性材料から作製される。この可撓性材料は、運動選手が、足を曲げた自然な位置において(すなわち、足指のつけ根のふくらみにおいて)シューズを曲げることを可能にし、その結果、スタート時およびレース中、力を最大限に伝達することを実現する。
【0014】
実質的に不撓性の材料は、好ましくは熱可塑性樹脂中の炭素繊維の合成材料である。この材料は、非常に強固で、かつ軽量である。可撓性材料は、好ましくは熱可塑性樹脂中の炭素繊維の合成材料である。この材料も強固で、かつ軽量であり、さらに弾力がある。
【0015】
本発明に係るシューズは、従来の織物で製造されたシューズと比較すると強度対重量比が実質的により良好である。さらに、合成材料の伸長しないの性質のため、材料の伸縮、または、ずれが実質的に排除される。
【0016】
さらに、本発明の目的は、ソール、開放型のつま先部、2つのインステップサイドサポートを有するインステップ部、ソールのインステップ部分に連結し、かつ他の部分では開いているインステップサイドサポート、およびかかと部を含む履き物製品を提供することによって達成される。この構造は、運動選手の足の安定性を維持するために最低限の材料を用いる。
【0017】
または、本発明の目的は、さらに、ソール、開放型のつま先部、インステップ部、およびかかと部を含む履き物製品によっても達成される。かかと部は、2つのかかとサイドサイドサポートおよび末端かかとサポートを含み、かつ2つのかかとサイドサポートおよび末端かかとサポートが第一の末端においてソールのかかと部に連結し、かつ他方の末端において互いに連結している。
【0018】
履き物の安定性を向上させるために、履き物製品は、ソールのインステップ部分に連結し、かつ他の部分では開いている2つのインステップサイドサポートを有する。この文脈において「開いている」とは、インステップサイドサポートの上端が、従来の先行技術の履き物における場合のように共に連結してはいないことを意味する。
【0019】
履き物製品を運動選手の足に保持するために、履き物製品は、好ましくは調節可能な紐によってインステップサイドサポートに取り付けられたアッパーインステップ部をさらに含む。
【0020】
履き物製品はまた、開放型のつま先部の表面に取り付けられた1つまたはそれ以上のストラップを備えることもできる。これらのストラップは、つま先の位置を保つ。
【0021】
本発明はまた、以下の段階を有するシューズの製造方法も含む:
型のつま先部分およびインステップ・かかと部分に少なくとも1層の第一材料を置く、第一段階;
型のボール部分に少なくとも1層の第二材料を置き、第一材料と第二材料が縫い目において重なり合う、第二段階;
型のつま先部分およびインステップ・かかと部分に少なくとも1層の第三材料を置く、第三の段階;
第一材料および第二材料を硬化し、履き物を成形する、第四段階。
【0022】
第一と第二の材料は、材料間の強固な連結を確実にするために、縫い目において重ね合わされる。
【0023】
第一と第三の両段階において、シューズを強固にするために複数層の材料を使用することができる。
【図面の簡単な説明】
【0024】
【図1】運動選手用シューズの第一の態様の側面図を示す。
【図2】図1の運動選手用シューズのかかと末端からの図を示す。
【図3】図1の運動選手用シューズの底面からの図を示す。
【図4】運動選手用シューズの第二の態様の側面図を示す。
【図5】図4の運動選手用シューズの底面からの図を示す。
【図6】運動選手用シューズの第三の態様の側面図を示す。
【図7】図6の運動選手用シューズのかかと末端からの図を示す。
【発明を実施するための形態】
【0025】
発明の詳細な説明
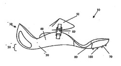
図1は、本発明に係る履き物製品10の第一の態様の側面図を示す。この態様においては履き物製品10は運動選手のシューズであるが、これは本発明を限定するものではない。シューズ10はソール20、かかと30、インステップサイドサポート40、およびアッパーインステップ50を有する。アッパーインステップ50は、紐60によってインステップサイドサポート40に取り付けられる。
【0026】
シューズ10のソール20は、つま先部分70、ボール部分80、およびインステップ・かかと部分90に分割される。つま先部分70は、運動選手の足のつま先に実質的に接し、かつボール部分80は運動選手の足指のつけ根のふくらみに実質的に接する。ソール20のインステップ・かかと部分90はソール20の残りを含む。
【0027】
つま先部分70が、運動選手の前方への運動量を維持し、かつエネルギー損失の原因となる地面への「たたきつけ(slapping)」効果を最小限にするために、湾曲していることがわかる。つま先部分70の形は、運動選手が足を「ローリングする(roll)」よう促す。英国サイズ7.5のシューズについて、曲率半径は、湾曲の出発点から湾曲の脱落点までの6.2cmであることがわかっている。
【0028】
スパイク100をソール20のつま先部分70の底面に取り付けることができる。
【0029】
アッパーインステップ50をインステップサイドサポート40に連結するストラップは、紐60によって調節可能である。図において、紐60はケーブル状の紐として示している。靴紐、ベルクロ止め(Velcro fitting)、バックル、およびストラップを含む他の種類の留め具が使用できる。
【0030】
かかと30は、シューズ10のかかと末端からの図である図2よりわかるように、3つの部分を含む。かかと30は、2つのかかとサイドサポート110aおよび110bならびに末端かかとサポート120を有する。末端かかとサポート120ならびに2つのかかとサイドサポート110aおよび110bを、かかと末端においてソール20のインステップ・かかと部分90に連結する。末端かかとサポート120ならびに2つのかかとサイドサポート110aおよび110bを、ともにそれらの共通の頂端部130において連結する。織地ループ140が、共通の頂端部において、運動選手がシューズを履くのを助けるために提供される。
【0031】
図3よりわかるように、ソール20のインステップ・かかと部分30は、完全に一面には広がっておらず、足のインステップにかけて材料が存在しない間隙95を含む。材料が存在しないので、この間隙95によりシューズの重量が低減する。
【0032】
つま先部分70およびインステップ・かかと部分90は、堅く、実質的に不撓性の材料から作製される。運動競技において経験する通常の力を受けてその形が実質的に変化しない材料というのが、堅く、実質的に不撓性の材料の意味である。この材料は、合成材料であり、かつ、一例において、炭素繊維シートを含む。炭素繊維シートは、熱可塑性エポキシ樹脂に埋め込まれた炭素繊維から作製される。本発明の好ましい態様において、つま先部分70およびインステップ・かかと部分90とも同じ材料から作製されるが、それらは異なる材料から作製されてもよい。
【0033】
用いられる炭素繊維シートは、Advanced Compositesによって製造され、かつ2×2の織布であり、かつ重量が200g/m2であった。炭素繊維は、T300繊維および炭素繊維シートである。
【0034】
かかと部分30およびインステップサイドサポート40はまた、好ましくは同じ材料で作製される。実際にそれらは通常、ソール20のインステップ・かかと部分90と一体になって形成される。
【0035】
ソール20のボール80は、可撓性材料で作製される。この材料は、運動選手の足指のつけ根のふくらみにおいて曲げやすい。使用中、材料は材料中の軸で曲がる。これは、運動選手がスタート台にいる場合に、特に顕著である。可撓性材料は、好ましくは、熱可塑性エポキシ樹脂に埋め込まれたKevlar(登録商標)のようなアラミド繊維を含む織られたアラミド繊維シートから作製される。
【0036】
用いられる可撓性材料は、Advanced Compositesによって製造されたKevlar繊維の2×2の織布であり、かつ重量が135g/m2であった。
【0037】
シューズ10の製造は、以下の方法で行われる。6個のスパイクを洗浄し、かつ型のつま先部分に配置する。炭素繊維シートの第一層を、型のつま先部分と型のインステップ・かかと部分の型に置いた。直径10mmの炭素繊維シートの第一の強化材を、スパイクの上に置いた。炭素繊維シートの第二層を、第一層の上に置き、かつ直径10mmの炭素繊維シートの第二の強化材を、スパイクの上に置いた。次に、可撓性材料の層を、型のボール部分に置いた。可撓性材料は、シューズのつま先部分とシューズのインステップ・かかと部分との両縫い目において、炭素繊維シートの第二層と10mmずつ重なり合っていた。次に、両縫い目において可撓性材料の層との10mmの重なりが達成されるように、第三層を型のつま先部分と型のインステップ・かかと部分に置いた。直径10mmの炭素繊維シートの第三の強化材を、スパイクに用いた。最終的に炭素繊維シートの第四層を、型のつま先部とインステップ・かかと部分において炭素繊維シートの第三層の上に敷いた。
【0038】
ソール20における間隙95、および、かかと30における穴は、ダイアモンドチップ工具で材料を切り取ることによって作製する。
【0039】
型を真空によって閉じ、かつ135℃、90psiで焼成し、シューズを硬化させた。135℃に到達するまでにかかった時間は約1時間であり、かつ完成したシューズを作成するための硬化を含めた総時間は3.5時間(切り取り含まず)である。
【0040】
4層の合成材料から作製されるシューズ10は、重量が40〜43gである。シューズ10のサイズに応じて、これらの重量はわずかに変動する。
【0041】
本発明の他の態様において、3層の合成材料が用いられる(すなわち、アラミド繊維シートの3層と炭素繊維シートの1層)。その際のシューズの重量は、約25〜27gである。
【0042】
履き物製品10の第二の態様は、図4と図5に示される。第二の態様は、図1〜3に図示される第一の態様と同様であり、図の同一部分については同一の参照番号が用いられている。しかしながら、第二の態様のシューズ10は、複数のセクション22および24に分割される。セクション22および24のそれぞれは、幅が約2〜3cmである。第一セクション22は、堅く、実質的に不撓性の材料から作製される。第二セクション24は可撓性材料から作製される。図5の態様において、5つの第一セクション22と5つの第二セクション24を示す。これは、単に例示であるのみで、本発明を限定するものではない。
【0043】
履き物製品10の第三の態様を、図6と図7に示す。本発明のこの態様において、アッパーインステップ50は、片側においてインステップサイドサポート40に連結される。他方の側では、一本の紐62がアッパーインステップ50をインステップサイドサポート40に連結する。この例において、アッパーインステップ50は、交互に並ぶセクション52および54から作製される。セクション52と54のうちの1つは、可撓性材料から作製され、かつセクション52と54のうちの1つは、堅い材料から作製される。
【技術分野】
【0001】
発明の分野
本発明は、履き物、より特定するとトラック競技のための運動競技用履き物に関する。
【背景技術】
【0002】
発明の背景
運動選手のための現在のスポーツシューズは、合成樹脂のソールおよび布地のアッパーを有する。このようなシューズは、特に短距離、例えば100mまたは200mにおいて、運動選手の動きを向上するためにできる限り軽くなるよう製造される。
【0003】
欧州特許出願第EP-A-0 799 583号(Technica S.p.A):特許文献1のスポーツシューズの一例が公知である。この特許で説明されているシューズは、補強挿入物を伴うゴムのような弾力のある材料から作製されるソールを有する。このシューズは、その重量から短距離トラック競技には適さない。
【0004】
様々な運動競技用シューズがいくつかの製造業者によって製造されている。Saucony中距離競走用シューズの布地は、シューズの総重量をできる限り低く維持するため非常に軽量である。Asicsスプリンティングスパイクシューズは、フットプレート(footplate)後方からシューズのソール上にゴムグリップを使用している。
【0005】
トレイルランニングおよびハイキングに使用できるサンダル靴も当技術分野で公知である。Teva company(フラッグスタッフ、アリゾナ州、米国)によって製造されたものなど、これらのサンダル靴は、サンダル靴を足に保持するためのストラップを伴う開放型の構造を有する。サンダル靴は、開放型のつま先、アーチおよびかかとの領域を伴う実質的に平らなソールを有する。Wraptor2モデルなど、このようなサンダル靴は、長距離トレイルランニングに適していると思われる一方、その重い重量によりトラック競技の運動選手による使用には適さない。
【0006】
できる限り軽量であるように、かつ自転車への運動選手の筋力の伝達をできるだけ大きくするようにも設計される自転車競技用シューズは、当技術分野で公知である。例えば、米国特許第US-A-5,836,094号(Figel):特許文献2は、繊維および樹脂から作製された合成物が従来のシューズのソールおよびアッパー部分にとって代わっている自転車競技用シューズを開示している。この特許では、シューズの全ソールが、合成物から作製される。合成物の製造は、炭素繊維シート層およびケブラー層を用いて構築される炭素繊維、ケブラー繊維、およびエポキシ樹脂によるものである。
【0007】
別の自転車競技用シューズは、米国特許第US-A-5,406,723号(Okajima、Shimano, Inc.(大阪、日本)に付与):特許文献3に説明されている。この特許は、ポリウレタンフォームから作製された、繊維層で囲まれている芯を伴うシューズのソールを説明している。ガラス布を芯の上部表面および下部表面に適用し、層を形成する。次に、フェノール樹脂に含浸させた炭素繊維シートをガラス布の上に置き、その上に含浸させたガラス布を置く。この過程は、堅いソールが製造されて初めて終了する。
【0008】
しかしながら、自転車競技用シューズは、実質的に不撓性で堅いソールを有するので、トラック競技の運動選手による使用に適さない。トラック競技の運動選手は、特にスタート台において、彼らの動きを最大にするために可撓性のあるシューズを必要とする。
【先行技術文献】
【特許文献】
【0009】
【特許文献1】欧州特許第0 799 583号明細書
【特許文献2】米国特許第5,836,094号明細書
【特許文献3】米国特許第5,406,723号明細書
【発明の概要】
【0010】
従って、特に短距離トラック競技における使用のために改良型シューズを製造する必要がある。
【0011】
さらに、シューズの重量を減らす必要がある。
【0012】
その上、特にスタート台において、トラック競技の運動選手の力をトラックへ最大限伝達するためのシューズを設計する必要がある。
【0013】
これらの、およびその他の目的は、つま先部分、ボール部分、およびインステップ・かかと部分を有する履き物用のソールを提供することによって達成される。ソールのつま先部分は、運動選手の足に実質的に接するソール領域である。ソールのボール部分は、運動選手の足指のつけ根のふくらみに実質的に接する履き物の領域である。ソールのインステップ・ボール部分は、ソール領域の残りの部分であり、かつ運動選手の足のアーチまたは足のインステップおよび足指のつけ根のふくらみ部分に及ぶ。本発明のソールにおいて、つま先部分およびソールのインステップ・かかと部分のどちらも、実質的に不撓性の材料から作製される。この材料は、運動選手が走っている間堅い状態のままである。一方、ソールのボール部分は、運動選手がスタート台にいる場合およびレース中は曲がることのできる可撓性材料から作製される。この可撓性材料は、運動選手が、足を曲げた自然な位置において(すなわち、足指のつけ根のふくらみにおいて)シューズを曲げることを可能にし、その結果、スタート時およびレース中、力を最大限に伝達することを実現する。
【0014】
実質的に不撓性の材料は、好ましくは熱可塑性樹脂中の炭素繊維の合成材料である。この材料は、非常に強固で、かつ軽量である。可撓性材料は、好ましくは熱可塑性樹脂中の炭素繊維の合成材料である。この材料も強固で、かつ軽量であり、さらに弾力がある。
【0015】
本発明に係るシューズは、従来の織物で製造されたシューズと比較すると強度対重量比が実質的により良好である。さらに、合成材料の伸長しないの性質のため、材料の伸縮、または、ずれが実質的に排除される。
【0016】
さらに、本発明の目的は、ソール、開放型のつま先部、2つのインステップサイドサポートを有するインステップ部、ソールのインステップ部分に連結し、かつ他の部分では開いているインステップサイドサポート、およびかかと部を含む履き物製品を提供することによって達成される。この構造は、運動選手の足の安定性を維持するために最低限の材料を用いる。
【0017】
または、本発明の目的は、さらに、ソール、開放型のつま先部、インステップ部、およびかかと部を含む履き物製品によっても達成される。かかと部は、2つのかかとサイドサイドサポートおよび末端かかとサポートを含み、かつ2つのかかとサイドサポートおよび末端かかとサポートが第一の末端においてソールのかかと部に連結し、かつ他方の末端において互いに連結している。
【0018】
履き物の安定性を向上させるために、履き物製品は、ソールのインステップ部分に連結し、かつ他の部分では開いている2つのインステップサイドサポートを有する。この文脈において「開いている」とは、インステップサイドサポートの上端が、従来の先行技術の履き物における場合のように共に連結してはいないことを意味する。
【0019】
履き物製品を運動選手の足に保持するために、履き物製品は、好ましくは調節可能な紐によってインステップサイドサポートに取り付けられたアッパーインステップ部をさらに含む。
【0020】
履き物製品はまた、開放型のつま先部の表面に取り付けられた1つまたはそれ以上のストラップを備えることもできる。これらのストラップは、つま先の位置を保つ。
【0021】
本発明はまた、以下の段階を有するシューズの製造方法も含む:
型のつま先部分およびインステップ・かかと部分に少なくとも1層の第一材料を置く、第一段階;
型のボール部分に少なくとも1層の第二材料を置き、第一材料と第二材料が縫い目において重なり合う、第二段階;
型のつま先部分およびインステップ・かかと部分に少なくとも1層の第三材料を置く、第三の段階;
第一材料および第二材料を硬化し、履き物を成形する、第四段階。
【0022】
第一と第二の材料は、材料間の強固な連結を確実にするために、縫い目において重ね合わされる。
【0023】
第一と第三の両段階において、シューズを強固にするために複数層の材料を使用することができる。
【図面の簡単な説明】
【0024】
【図1】運動選手用シューズの第一の態様の側面図を示す。
【図2】図1の運動選手用シューズのかかと末端からの図を示す。
【図3】図1の運動選手用シューズの底面からの図を示す。
【図4】運動選手用シューズの第二の態様の側面図を示す。
【図5】図4の運動選手用シューズの底面からの図を示す。
【図6】運動選手用シューズの第三の態様の側面図を示す。
【図7】図6の運動選手用シューズのかかと末端からの図を示す。
【発明を実施するための形態】
【0025】
発明の詳細な説明
図1は、本発明に係る履き物製品10の第一の態様の側面図を示す。この態様においては履き物製品10は運動選手のシューズであるが、これは本発明を限定するものではない。シューズ10はソール20、かかと30、インステップサイドサポート40、およびアッパーインステップ50を有する。アッパーインステップ50は、紐60によってインステップサイドサポート40に取り付けられる。
【0026】
シューズ10のソール20は、つま先部分70、ボール部分80、およびインステップ・かかと部分90に分割される。つま先部分70は、運動選手の足のつま先に実質的に接し、かつボール部分80は運動選手の足指のつけ根のふくらみに実質的に接する。ソール20のインステップ・かかと部分90はソール20の残りを含む。
【0027】
つま先部分70が、運動選手の前方への運動量を維持し、かつエネルギー損失の原因となる地面への「たたきつけ(slapping)」効果を最小限にするために、湾曲していることがわかる。つま先部分70の形は、運動選手が足を「ローリングする(roll)」よう促す。英国サイズ7.5のシューズについて、曲率半径は、湾曲の出発点から湾曲の脱落点までの6.2cmであることがわかっている。
【0028】
スパイク100をソール20のつま先部分70の底面に取り付けることができる。
【0029】
アッパーインステップ50をインステップサイドサポート40に連結するストラップは、紐60によって調節可能である。図において、紐60はケーブル状の紐として示している。靴紐、ベルクロ止め(Velcro fitting)、バックル、およびストラップを含む他の種類の留め具が使用できる。
【0030】
かかと30は、シューズ10のかかと末端からの図である図2よりわかるように、3つの部分を含む。かかと30は、2つのかかとサイドサポート110aおよび110bならびに末端かかとサポート120を有する。末端かかとサポート120ならびに2つのかかとサイドサポート110aおよび110bを、かかと末端においてソール20のインステップ・かかと部分90に連結する。末端かかとサポート120ならびに2つのかかとサイドサポート110aおよび110bを、ともにそれらの共通の頂端部130において連結する。織地ループ140が、共通の頂端部において、運動選手がシューズを履くのを助けるために提供される。
【0031】
図3よりわかるように、ソール20のインステップ・かかと部分30は、完全に一面には広がっておらず、足のインステップにかけて材料が存在しない間隙95を含む。材料が存在しないので、この間隙95によりシューズの重量が低減する。
【0032】
つま先部分70およびインステップ・かかと部分90は、堅く、実質的に不撓性の材料から作製される。運動競技において経験する通常の力を受けてその形が実質的に変化しない材料というのが、堅く、実質的に不撓性の材料の意味である。この材料は、合成材料であり、かつ、一例において、炭素繊維シートを含む。炭素繊維シートは、熱可塑性エポキシ樹脂に埋め込まれた炭素繊維から作製される。本発明の好ましい態様において、つま先部分70およびインステップ・かかと部分90とも同じ材料から作製されるが、それらは異なる材料から作製されてもよい。
【0033】
用いられる炭素繊維シートは、Advanced Compositesによって製造され、かつ2×2の織布であり、かつ重量が200g/m2であった。炭素繊維は、T300繊維および炭素繊維シートである。
【0034】
かかと部分30およびインステップサイドサポート40はまた、好ましくは同じ材料で作製される。実際にそれらは通常、ソール20のインステップ・かかと部分90と一体になって形成される。
【0035】
ソール20のボール80は、可撓性材料で作製される。この材料は、運動選手の足指のつけ根のふくらみにおいて曲げやすい。使用中、材料は材料中の軸で曲がる。これは、運動選手がスタート台にいる場合に、特に顕著である。可撓性材料は、好ましくは、熱可塑性エポキシ樹脂に埋め込まれたKevlar(登録商標)のようなアラミド繊維を含む織られたアラミド繊維シートから作製される。
【0036】
用いられる可撓性材料は、Advanced Compositesによって製造されたKevlar繊維の2×2の織布であり、かつ重量が135g/m2であった。
【0037】
シューズ10の製造は、以下の方法で行われる。6個のスパイクを洗浄し、かつ型のつま先部分に配置する。炭素繊維シートの第一層を、型のつま先部分と型のインステップ・かかと部分の型に置いた。直径10mmの炭素繊維シートの第一の強化材を、スパイクの上に置いた。炭素繊維シートの第二層を、第一層の上に置き、かつ直径10mmの炭素繊維シートの第二の強化材を、スパイクの上に置いた。次に、可撓性材料の層を、型のボール部分に置いた。可撓性材料は、シューズのつま先部分とシューズのインステップ・かかと部分との両縫い目において、炭素繊維シートの第二層と10mmずつ重なり合っていた。次に、両縫い目において可撓性材料の層との10mmの重なりが達成されるように、第三層を型のつま先部分と型のインステップ・かかと部分に置いた。直径10mmの炭素繊維シートの第三の強化材を、スパイクに用いた。最終的に炭素繊維シートの第四層を、型のつま先部とインステップ・かかと部分において炭素繊維シートの第三層の上に敷いた。
【0038】
ソール20における間隙95、および、かかと30における穴は、ダイアモンドチップ工具で材料を切り取ることによって作製する。
【0039】
型を真空によって閉じ、かつ135℃、90psiで焼成し、シューズを硬化させた。135℃に到達するまでにかかった時間は約1時間であり、かつ完成したシューズを作成するための硬化を含めた総時間は3.5時間(切り取り含まず)である。
【0040】
4層の合成材料から作製されるシューズ10は、重量が40〜43gである。シューズ10のサイズに応じて、これらの重量はわずかに変動する。
【0041】
本発明の他の態様において、3層の合成材料が用いられる(すなわち、アラミド繊維シートの3層と炭素繊維シートの1層)。その際のシューズの重量は、約25〜27gである。
【0042】
履き物製品10の第二の態様は、図4と図5に示される。第二の態様は、図1〜3に図示される第一の態様と同様であり、図の同一部分については同一の参照番号が用いられている。しかしながら、第二の態様のシューズ10は、複数のセクション22および24に分割される。セクション22および24のそれぞれは、幅が約2〜3cmである。第一セクション22は、堅く、実質的に不撓性の材料から作製される。第二セクション24は可撓性材料から作製される。図5の態様において、5つの第一セクション22と5つの第二セクション24を示す。これは、単に例示であるのみで、本発明を限定するものではない。
【0043】
履き物製品10の第三の態様を、図6と図7に示す。本発明のこの態様において、アッパーインステップ50は、片側においてインステップサイドサポート40に連結される。他方の側では、一本の紐62がアッパーインステップ50をインステップサイドサポート40に連結する。この例において、アッパーインステップ50は、交互に並ぶセクション52および54から作製される。セクション52と54のうちの1つは、可撓性材料から作製され、かつセクション52と54のうちの1つは、堅い材料から作製される。
【特許請求の範囲】
【請求項1】
以下を含む、履き物(10)用のソール(20):
実質的に不撓性の材料から作製されるつま先部分(70);
可撓性材料から作製されるボール部分(80);および
実質的に不撓性の材料から作製されるインステップ・かかと部分(90)。
【請求項2】
つま先部分(70)が熱可塑性樹脂中の炭素繊維の合成材料から作製される、請求項1記載のソール(20)。
【請求項3】
インステップ・かかと部分(90)が熱可塑性樹脂中の炭素繊維の合成材料から作製される、請求項1または2記載のソール(20)。
【請求項4】
ボール部分(80)が熱可塑性樹脂中のアラミド繊維の合成材料から作製される、請求項1〜3のいずれか一項記載のソール(20)。
【請求項5】
つま先部分に取り付けられた複数のスパイク(100)をさらに含む、請求項1〜4のいずれか一項記載のソール(20)。
【請求項6】
ソール(20)が交互に配置された複数の第一セクション(22)および第二セクション(24)から作製され、第一セクション(22)および第二セクション(24)が異なる材料から作製される、請求項1記載のソール(20)。
【請求項7】
第一のセクション(22)が実質的に不撓性の材料から作製され、かつ第二のセクション(24)が可撓性材料から作製される、請求項6記載のソール(20)。
【請求項8】
実質的に不撓性の材料が熱可塑性樹脂中の炭素繊維の合成材料である、請求項7記載のソール(20)。
【請求項9】
可撓性材料が熱可塑性樹脂中のアラミド繊維の合成材料である、請求項7記載のソール(20)。
【請求項10】
以下を含む、履き物製品(10):
つま先部分(70)、ボール部分(80)、インステップ部分(90)およびかかと部分(90)を有するソール(20);
開放型のつま先部;
ソール(20)のインステップ部分(90)に連結し、かつ他の部分では開いている2つのインステップサイドサポート(40)を有するインステップ部;および
かかと部(30)。
【請求項11】
かかと部(30)が2つのかかとサイドサポート(110a、110b)、および末端かかとサポート(30)を含み、2つのかかとサイドサポート(110a、110b)および末端かかとサポート(130)が第一の末端においてソール(20)のかかと部分(90)に連結し、かつ他方の末端において互いに連結している、請求項10記載の履き物製品(10)。
【請求項12】
以下を含む、履き物製品(10):
つま先部分(70)、ボール部分(80)、インステップ部分(90)およびかかと部分(90)を有するソール(20);
開放型のつま先部;
インステップ部;ならびに
2つのかかとサイドサポート(110a、110b)および末端かかとサポート(130)を含み、かつ2つのかかとサイドサポート(110a、110b)および末端かかとサポート(130)が第一の末端においてソール(20)のかかと部分(90)に連結し、かつ他方の末端において互いに連結しているかかと部(30)。
【請求項13】
インステップ部が、ソール(20)のインステップ部分(90)に連結し、かつ他の部分では開いている2つのインステップサイドサポート(40)を有する、請求項12記載の履き物製品(10)。
【請求項14】
アッパーインステップ部(50)をさらに含む、請求項10〜13のいずれか一項記載の履き物製品(10)。
【請求項15】
アッパーインステップ部(50)が調節可能な紐(60)によってインステップサイドサポート(40)に取り付けられる、請求項14記載の履き物製品(10)。
【請求項16】
ソール(20)のつま先部分(70)の底面にはり付けられた複数のスパイク(100)をさらに含む、請求項10〜15のいずれか一項記載の履き物製品(10)。
【請求項17】
つま先部分(70)の上面に取り付けられた、1つまたはそれ以上のストラップをさらに含む、請求項10〜16のいずれか一項記載の履き物製品(10)。
【請求項18】
運動競技用シューズである、請求項10〜17のいずれか一項記載の履き物製品(10)。
【請求項19】
以下を含む、履き物製品(10)の製造方法:
型のつま先部分およびインステップ・かかと部分に少なくとも一層の第一材料を置く、第一段階;
型のボール部分に少なくとも一層の第二材料を置き、第一材料と第二材料とが縫い目において重なり合う、第二段階;
型のつま先部分およびインステップ・かかと部分に少なくとも一層の第三材料を置く、第三段階;
第一材料および第二材料を硬化させて、履き物製品を成形する、第四段階。
【請求項20】
材料を硬化させる第四段階が、加圧下で履き物製品を焼成する段階を含む、請求項19記載の方法。
【請求項21】
第一段階が、型のつま先部分およびインステップ・かかと部分に少なくとも二層の第一材料を置く段階を含む、請求項19または20記載の方法。
【請求項22】
第三段階が、型のつま先部分およびインステップ・かかと部分に少なくとも二層の第二材料を置く段階を含む、請求項19〜21のいずれか一項記載の方法。
【請求項23】
第一段階の前に、型にスパイク(100)を置く段階をさらに含む、請求項19〜22のいずれか一項記載の方法。
【請求項24】
運動競技用の履き物における、請求項1〜9のいずれか一項記載のソール(20)の使用。
【請求項1】
以下を含む、履き物(10)用のソール(20):
実質的に不撓性の材料から作製されるつま先部分(70);
可撓性材料から作製されるボール部分(80);および
実質的に不撓性の材料から作製されるインステップ・かかと部分(90)。
【請求項2】
つま先部分(70)が熱可塑性樹脂中の炭素繊維の合成材料から作製される、請求項1記載のソール(20)。
【請求項3】
インステップ・かかと部分(90)が熱可塑性樹脂中の炭素繊維の合成材料から作製される、請求項1または2記載のソール(20)。
【請求項4】
ボール部分(80)が熱可塑性樹脂中のアラミド繊維の合成材料から作製される、請求項1〜3のいずれか一項記載のソール(20)。
【請求項5】
つま先部分に取り付けられた複数のスパイク(100)をさらに含む、請求項1〜4のいずれか一項記載のソール(20)。
【請求項6】
ソール(20)が交互に配置された複数の第一セクション(22)および第二セクション(24)から作製され、第一セクション(22)および第二セクション(24)が異なる材料から作製される、請求項1記載のソール(20)。
【請求項7】
第一のセクション(22)が実質的に不撓性の材料から作製され、かつ第二のセクション(24)が可撓性材料から作製される、請求項6記載のソール(20)。
【請求項8】
実質的に不撓性の材料が熱可塑性樹脂中の炭素繊維の合成材料である、請求項7記載のソール(20)。
【請求項9】
可撓性材料が熱可塑性樹脂中のアラミド繊維の合成材料である、請求項7記載のソール(20)。
【請求項10】
以下を含む、履き物製品(10):
つま先部分(70)、ボール部分(80)、インステップ部分(90)およびかかと部分(90)を有するソール(20);
開放型のつま先部;
ソール(20)のインステップ部分(90)に連結し、かつ他の部分では開いている2つのインステップサイドサポート(40)を有するインステップ部;および
かかと部(30)。
【請求項11】
かかと部(30)が2つのかかとサイドサポート(110a、110b)、および末端かかとサポート(30)を含み、2つのかかとサイドサポート(110a、110b)および末端かかとサポート(130)が第一の末端においてソール(20)のかかと部分(90)に連結し、かつ他方の末端において互いに連結している、請求項10記載の履き物製品(10)。
【請求項12】
以下を含む、履き物製品(10):
つま先部分(70)、ボール部分(80)、インステップ部分(90)およびかかと部分(90)を有するソール(20);
開放型のつま先部;
インステップ部;ならびに
2つのかかとサイドサポート(110a、110b)および末端かかとサポート(130)を含み、かつ2つのかかとサイドサポート(110a、110b)および末端かかとサポート(130)が第一の末端においてソール(20)のかかと部分(90)に連結し、かつ他方の末端において互いに連結しているかかと部(30)。
【請求項13】
インステップ部が、ソール(20)のインステップ部分(90)に連結し、かつ他の部分では開いている2つのインステップサイドサポート(40)を有する、請求項12記載の履き物製品(10)。
【請求項14】
アッパーインステップ部(50)をさらに含む、請求項10〜13のいずれか一項記載の履き物製品(10)。
【請求項15】
アッパーインステップ部(50)が調節可能な紐(60)によってインステップサイドサポート(40)に取り付けられる、請求項14記載の履き物製品(10)。
【請求項16】
ソール(20)のつま先部分(70)の底面にはり付けられた複数のスパイク(100)をさらに含む、請求項10〜15のいずれか一項記載の履き物製品(10)。
【請求項17】
つま先部分(70)の上面に取り付けられた、1つまたはそれ以上のストラップをさらに含む、請求項10〜16のいずれか一項記載の履き物製品(10)。
【請求項18】
運動競技用シューズである、請求項10〜17のいずれか一項記載の履き物製品(10)。
【請求項19】
以下を含む、履き物製品(10)の製造方法:
型のつま先部分およびインステップ・かかと部分に少なくとも一層の第一材料を置く、第一段階;
型のボール部分に少なくとも一層の第二材料を置き、第一材料と第二材料とが縫い目において重なり合う、第二段階;
型のつま先部分およびインステップ・かかと部分に少なくとも一層の第三材料を置く、第三段階;
第一材料および第二材料を硬化させて、履き物製品を成形する、第四段階。
【請求項20】
材料を硬化させる第四段階が、加圧下で履き物製品を焼成する段階を含む、請求項19記載の方法。
【請求項21】
第一段階が、型のつま先部分およびインステップ・かかと部分に少なくとも二層の第一材料を置く段階を含む、請求項19または20記載の方法。
【請求項22】
第三段階が、型のつま先部分およびインステップ・かかと部分に少なくとも二層の第二材料を置く段階を含む、請求項19〜21のいずれか一項記載の方法。
【請求項23】
第一段階の前に、型にスパイク(100)を置く段階をさらに含む、請求項19〜22のいずれか一項記載の方法。
【請求項24】
運動競技用の履き物における、請求項1〜9のいずれか一項記載のソール(20)の使用。
【図1】


【図2】


【図3】


【図4】


【図5】


【図6】


【図7】




【図2】


【図3】


【図4】


【図5】


【図6】


【図7】


【公開番号】特開2010−264265(P2010−264265A)
【公開日】平成22年11月25日(2010.11.25)
【国際特許分類】
【出願番号】特願2010−152650(P2010−152650)
【出願日】平成22年7月5日(2010.7.5)
【分割の表示】特願2006−518093(P2006−518093)の分割
【原出願日】平成16年6月30日(2004.6.30)
【出願人】(505087849)ナイキ インコーポレーティッド (123)
【Fターム(参考)】
【公開日】平成22年11月25日(2010.11.25)
【国際特許分類】
【出願日】平成22年7月5日(2010.7.5)
【分割の表示】特願2006−518093(P2006−518093)の分割
【原出願日】平成16年6月30日(2004.6.30)
【出願人】(505087849)ナイキ インコーポレーティッド (123)
【Fターム(参考)】
[ Back to top ]