国際特許分類[A43B5/00]の内容

生活必需品 (1,310,238) | 履物 (4,053) | 履物の特徴;履物の部分 (3,598) | スポーツ用の履物 (288)

国際特許分類[A43B5/00]の下位に属する分類

国際特許分類[A43B5/00]に分類される特許

81 - 90 / 152


【課題】ゴルファに対して芝に対する優れた柔軟性および牽引性ならびにバランスを実現する。
【解決手段】ゴルフシューズは、弧形支持土踏まず部とともにモールドされ結合される前方基部および後方基部を有するアウトソールを具備する。基部は、硬度が75から85ショアAの間である比較的薄い熱可塑性ポリウレタンから製造される。土踏まず部も最小ショアA硬度が95の硬質ポリウレタンから製造される。基部の各々は、複数の開口を具備し、対応する数の比較的硬いポッドがその内部にモールドされ、各ポッドのサイズおよび形状は対応する開口内にフィットするようになされ、基部の底面から少なくとも6.3mm伸びる。シューズは、中足骨領域の横切る方向、ならびに中足骨近辺で長さ方向に沿って屈曲可能であり、これにより、ゴルファに対して改良された芝に対する柔軟性および牽引性ならびにバランスを実現する。 (もっと読む)


【目的】靴本体とつま先カバーの隙間に泥や砂が入らないようにする。
【構成】 靴の甲被の少なくとも一部前方を覆う甲被部(16)と、靴の最前方に位置し、本体と底部からなる保護部(12)を有するスポーツシューズ用つま先カバー(10)である。少なくとも前記保護部(12)が軟化温度50〜100℃のエチレン−酢酸ビニル共重合体(EVA)で形成されている。製造の容易さの観点からは、甲被部(16)及び保護部(12)を前記素材で一体形成するのが好ましい。 (もっと読む)


【課題】スポーツシューズへの補助具を用いることなく、また、着用時における歩行時の違和感がないようなスポーツシューズであって、特にラケット、クラブ等のスイング時における左右の体重のかけ方を矯正することができるスポーツシューズを提供する。
【解決手段】靴底に硬質部と軟質部を有するスポーツシューズにおいて、スポーツシューズにおける靴底は、つま先部、土踏まず部及び踵部から構成されており、利き足側における靴底の外側部に軟質部を、前記靴底の内側部に硬質部を配置し、利き足と反対側における靴底のつま先部の中央部に軟質部を、当該両外側に硬質部を配置し、踵部の外側部に硬質部を、前記踵部の内側部に軟質部を配置したことを特徴とするスポーツシューズ。 (もっと読む)


【課題】ロープを登る際のバランスがとりやすく、足をロープに保持させることも容易で、ロープを速やかに登ることができる。
【解決手段】靴Sに装着される基体1と、基体1に対して基端41が回動可能に連結され、上下方向へ延びるロープRに側方から係止される係止凹所42を先端側面に形成した筒状の旋回体4と、旋回体4を上下方向に対し傾斜した姿勢に付勢保持するバネ部材8と、旋回体4の筒内に摺動可能に挿入された棒状の押圧部材と、一端が押圧部材の基端に回動可能に連結され、他端が基体1に回動可能に連結されて、旋回体4が傾斜姿勢から上下方向に沿った姿勢へ旋回するにつれて押圧部材の先端53を係止凹所42内に進出させてロープRに圧接させるリンク部材6とを備えている。 (もっと読む)


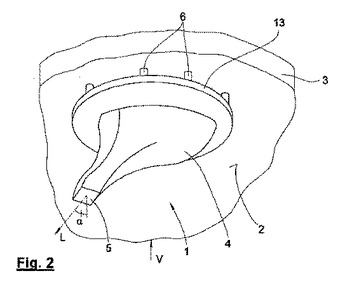
本発明は、靴、とりわけゴルフ用靴のソール(3)の底面(2)に取り付け可能な滑り留め具(1)に関する。特にゴルフをプレーする際に地面に対する靴の保持力を改善するために、本発明の滑り留め具は、滑り留め具(1)はソール(3)に連結できるクリート本体部(4)を有し、クリート本体部(4)には、地面に向かって延びる少なくとも1つの延長部(5)が設けられ、地面に面する延長部(5)の端部の垂直突起領域(A)が、少なくとも部分的に、好適には完全にクリート本体部(4)の垂直突起領域(A)の外側にあることを特徴とするものである。さらに本発明は、こうした滑り留め具を有する靴のソールおよび靴に関する。
(もっと読む)


【課題】 サイドステップ時に生じるアッパーの変形を効果的に規制する。
【解決手段】 着用者の足の第5指基節骨PP骨体側面に相当する位置のアッパー部位に固着された始端Aを有し、第4指中足骨MP骨頭上に相当する位置のアッパー部位上に配置された終端Cを有する第1のベルト部材10と、第5指中足骨MB骨体側面に相当する位置のアッパー部位に固着された始端Bを有し、第4指中足骨MP骨頭上に相当する位置のアッパー部位上に配置された終端Cを有しかつ当該終端Cが第1のベルト部材10の終端Cに一致している第2のベルト部材11と、各ベルト部材10,11の終端Cを始端として第1指中足骨MB骨体側面に相当する位置のアッパー部位まで延びる第3のベルト部材12とから足甲ベルト1を構成する。足甲ベルト1は、アッパー足甲部上に略Y字状に配設されている。 (もっと読む)


【課題】スポーツに適したインソール2の提供。
【解決手段】インソール2は、ベース4と立ち上がり部6とを備えている。ベース4は板状であり、概して平坦である。立ち上がり部6は、ベース4の周縁においてこのベース4と連続している。立ち上がり部6は、ベース4から上方に延在する。立ち上がり部6は、第一壁8、第二壁10、第三壁12、第四壁14、第五壁16及び第六壁18を備えている。第一壁8の平均高さHa1は、第二壁10の平均高さHa2よりも大きい。差(Ha1−Ha2)は、2mm以上15mm以下である。第三壁12の平均高さHa3は、第四壁14の平均高さHa4よりも大きい。差(Ha3−Ha4)は、1mm以上10mm以下である。 (もっと読む)


【課題】 靴本体側の底部にスパイクを挿通したフエルト底を接着剤で接着した靴はフエルト底の柔軟性が損なわれ、歩行時にフエルト底の歪みが繰り返されるうちにスパイクの保持が甘くなりガタが生じて歩行時に不快感を感じることである。
【解決手段】 靴底3は、スパイク4が挿通されたフエルト底3aとこの上面に溶着されたゴム弾性層3bが形成され、ゴム弾性層3bの上面にベース部3dが取り付けられている。
ゴム弾性層3bはフエルト底3aの上面側に含浸し、フエルト底3aの上面側の繊維の間に入り込む凹凸状の溶着部3cを形成し、スパイク4の係合部4bがゴム弾性層3bによって抜け止めされフエルト底3aの上面に保持される。 (もっと読む)


【課題】優れたグリップ力が得られるとともに、ゴルフスイングフォームの向上に寄与することができるゴルフシューズ用ソールおよびそれを用いたゴルフシューズを提供する。
【解決手段】ソール本体12の底面の前足・中足部14および後足部22の内側部分に断面略円弧状または断面略楕円弧状の前側凹部16および後側凹部24をそれぞれ形成する。また、前側凹部および後側凹部の周縁部にこの周縁部から連続した状態で前側凸部18および後側凸部26をそれぞれ連続的または間欠的に形成する。さらに、ソール本体の底面の前側凸部および後側凸部の内方に前側滑り止め突起20および後側滑り止め突起28をそれぞれ配置する。 (もっと読む)


【課題】グリップ性、耐久性及び耐摩耗性に優れた靴2の提供。
【解決手段】靴2は、アッパー4、インソール6、ミッドソール8及びアウトソール10を備えている。アウトソール10は、ゴム組成物が架橋されることで得られる。このゴム組成物の基材ゴムは、アクリロニトリル−ブタジエンゴムである。アウトソール10のゴム組成物は、4つの針状部を有する酸化亜鉛ウィスカを含んでいる。このウィスカの配合量は、基材ゴム100質量部に対して0.05質量部以上10質量部以下である。針状部の平均長さは、5μm以上50μm以下である。このゴム組成物は、30質量部以上80質量部以下のシリカを含んでいる。このゴム組成物はさらに、0.1質量部以上のポリエチレングリコールを含んでいる。 (もっと読む)


81 - 90 / 152