シューズのソール構造体
【課題】 クッション性を維持しつつ離地方向への反発力を向上させる。
【解決手段】 シューズのソール構造体1において、上方に配置された第1のプレート2と、第1のプレート2との間に間隔を隔てて下方に配置された第2のプレート3と、第1、第2のプレート2、3間において各々上下方向に配設されるとともに、第1のプレート2に連結された上端4aおよび第2のプレート3に連結された下端4bをそれぞれ有し、前後方向に間隔を隔てて配置された複数の柱状部材4とを設ける。柱状部材4の上端4aが下端4bよりも前方位置に配置されることで柱状部材4が前方に傾斜して配設されている。第2のプレート3が後方に向かうにしたがい斜め上方に傾斜する傾斜部3Aを有するとともに、柱状部材4の下端4bが傾斜部3Aに連結されており、柱状部材4の下端4bの連結部位において第2のプレート3の傾斜部3Aの下方に空隙C’が形成されている。
【解決手段】 シューズのソール構造体1において、上方に配置された第1のプレート2と、第1のプレート2との間に間隔を隔てて下方に配置された第2のプレート3と、第1、第2のプレート2、3間において各々上下方向に配設されるとともに、第1のプレート2に連結された上端4aおよび第2のプレート3に連結された下端4bをそれぞれ有し、前後方向に間隔を隔てて配置された複数の柱状部材4とを設ける。柱状部材4の上端4aが下端4bよりも前方位置に配置されることで柱状部材4が前方に傾斜して配設されている。第2のプレート3が後方に向かうにしたがい斜め上方に傾斜する傾斜部3Aを有するとともに、柱状部材4の下端4bが傾斜部3Aに連結されており、柱状部材4の下端4bの連結部位において第2のプレート3の傾斜部3Aの下方に空隙C’が形成されている。
【発明の詳細な説明】
【技術分野】
【0001】
本発明は、シューズ用ソール構造体に関し、詳細には、クッション性を維持しつつ、離地方向への反発力を向上できるソール構造体に関する。
【背景技術】
【0002】
ソール構造体として、たとえば特開2003−339405号公報に示すものが本願出願人により提案されている(同公報の図2参照)。このソール構造体は、上下方向に一定の空隙を介して対向配置された上部プレートおよび下部プレートと、これら上下部プレート間に配設されるとともに、その波形状部分の上側凸面が上部プレートに固着されかつ下側凸面が下部プレートに固着された波形プレートとから構成されている。
【0003】
また、国際公開第2006/129837号パンフレットには、同パンフレットの第1A図に示すように、上部プレートと、その下方に配設され、上部プレートとの間で空隙を形成する2つの膨出部を有する波状の下部プレートと、下部プレートの各膨出部間に形成された上凸部分を上部プレートに連結する弾性ブロックとを備えたソール構造体が記載されている。
【0004】
さらに、特開2009−240590号公報には、同公報の図1に示すように、上方に配置された上部シート部と、その下面にそれぞれ設けられるとともに、下方に凸状に湾曲する下凸状湾曲部を有しかつ上部シート部に対して前後方向に一部オーバラップしつつ並設された複数の湾曲シート部とを備えたソール構造体が記載されている。
【発明の概要】
【発明が解決しようとする課題】
【0005】
上述した特開2003−339405号公報に示すソール構造体においては、シューズの着地時には、波形プレートの波形状部分が扁平となるように圧縮変形することにより、上下部プレート間の空隙がクッションホールとして作用して、衝撃荷重が吸収される。
【0006】
しかしながら、この場合には、波形プレートの波形状部分の上側凸面が上部プレートに固着されかつ下側凸面が下部プレートに固着されているために、波形プレートの上側凸面および下側凸面が上下部プレートで拘束されており、その結果、波形プレートの波形状部分の圧縮変形が抑制されている。また、シューズの離地時に、圧縮変形していた波形プレートが解放する弾性反発力は、波形プレートの上側凸面を介して上部プレートに対し単に上方に向かって作用するにすぎない。
【0007】
上記国際公開第2006/129837号パンフレットに示すソール構造体においては、シューズの着地時には、下部プレートの各膨出部が扁平となるように圧縮変形することにより、上下部プレート間の空隙がクッションホールとして作用して、衝撃荷重が吸収される。
【0008】
この場合には、下部プレートの各膨出部間の上凸部分が弾性ブロックを介して上部プレートに連結されているので、各膨出部の圧縮変形が比較的容易であり、その結果、クッション性が向上している。
【0009】
しかしながら、このソール構造体は、着地時のクッション性の向上を主眼としているため、シューズの離地時に、圧縮変形していた膨出部および弾性ブロックが解放する弾性反発力は、上部プレートに対し単に上方に向かって作用するにすぎない。
【0010】
上記特開2009−240590号公報に示すソール構造体においては、シューズの着地時には、湾曲シート部の下凸状湾曲部が圧縮変形することにより、衝撃荷重が吸収される。
【0011】
この場合には、圧縮変形した下凸状湾曲部の後方側端部が、当該湾曲シート部の隣の湾曲シート部を押圧して圧縮変形させており、その結果、ソール構造体全体のクッション性がさらに向上している。また、この場合には、シューズの着地後、前方に向かって荷重が移動していくと、各湾曲シート部において下凸状湾曲部から前方側端部にかけての部分が前方側に向かって順に折り畳まれるようにして変形する。これにより、走行時の前方への荷重移動がスムーズに行われ、ライド感が向上している。
【0012】
しかしながら、このソール構造体は、着地時のクッション性および走行時のライド感の向上を主眼としているため、シューズの離地時に、折り畳まれるように変形していた各湾曲シート部が解放する弾性反発力は、上部シート部に対して上方または斜め後方に作用するにすぎない。
【0013】
本発明は、このような従来の実情に鑑みてなされたもので、本発明が解決しようとする課題は、クッション性を維持しつつ、離地方向への反発力を向上できるソール構造体を提供しようとしている。
【課題を解決するための手段】
【0014】
本発明に係るシューズ用ソール構造体は、上方に配置された第1のプレートと、第1のプレートとの間に間隔を隔てて下方に配置された第2のプレートと、これら第1、第2のプレート間において各々上下方向に配設されるとともに、第1のプレートに連結される上端、および第2のプレートに連結される下端をそれぞれ有し、前後方向に間隔を隔てて配置された複数の柱状部材とを備えている。柱状部材は、上端が下端よりも前方位置に配置されることで、前方に傾斜して配設されている。第2のプレートは、後方に向かうにしたがい斜め上方に傾斜する傾斜部を有しており、柱状部材の下端はこの傾斜部に連結されている。柱状部材の下端の連結部位において第2のプレートの傾斜部の下方には、空隙が形成されている(請求項1参照)。
【0015】
本発明によれば、シューズの着地時には、柱状部材が弾性変形するとともに、柱状部材の下端が連結された第2のプレートの傾斜部が、柱状部材の下端で圧縮されて空隙の側に向かって弾性変形することにより、クッション性を向上できる。
【0016】
しかも、この場合、シューズの離地時には、後方に向かうにしたがい斜め上方に傾斜した第2のプレートの傾斜部が弾性変形した後に元に戻る際に、柱状部材の上端に対して斜め前方に反発力を作用させる。これにより、シューズの離地方向への反発力を向上できる。
【0017】
さらに、この場合には、前後方向に間隔を隔てて配置された複数の柱状部材が、走行中の前方への荷重移動にともなって、第2のプレートの対応する傾斜部を順次圧縮変形させるとともに、離地方向に反発力を作用させるので、走行中に前方へのスムーズな体重移動を実現できると同時に、走行中のライド感を向上できる。
【0018】
本発明においては、シューズの着地時には、柱状部材が第2のプレートの傾斜部を下方に弾性変形させるとともに、シューズの離地時には、柱状部材が上端を介して第1のプレートに対し、斜め前方に弾性反発力を作用させている(請求項2参照)。
【0019】
本発明においては、第1、第2のプレートおよび柱状部材が、いずれも硬質樹脂製であって、一体成形されている(請求項3参照)。この場合には、ソール構造体全体が単一のユニットから構成されるので、シューズの組立作業が容易になる。
【0020】
本発明においては、第2のプレートが、複数の波形状部を有する波形プレートである。この場合には、柱状部材の下端が連結される波形プレートの傾斜部は、波形プレートの波形状部において後方に向かうにしたがい上方に傾斜する部分である(請求項4参照)。
【0021】
本発明においては、柱状部材の下端が連結される第2のプレートの傾斜部の下方の空隙が、各柱状部材に対応して複数個設けられている(請求項5参照)。この場合には、着地時に柱状部材により弾性変形させられる第2のプレートの傾斜部が、当該傾斜部の隣の傾斜部の弾性変形の影響を受けにくくなっており、これにより、走行中に荷重が前方に移動していく際に、各傾斜部がそれぞれ独立して弾性変形することができ、その結果、着地時のクッション性、離地時の反発性および走行中のライド感の制御が容易になる。
【0022】
本発明においては、第2のプレートの下方には、当該第2のプレートとの間に間隔を隔てて配置された第3のプレートが設けられており、前記空隙がこれら第2、第3のプレートにより形成されている(請求項6参照)。
【0023】
本発明においては、第2、第3のプレートが、各々複数の波形状部を有する波形プレートである(請求項7参照)。
【0024】
本発明において、第2のプレートの上方への膨出部および第3のプレートの下方への膨出部が上下に対向配置されている(請求項8参照)。この場合には、柱状部材の下端が連結される第2のプレートの傾斜部の下方に大きな空隙を確保できることにより、第2のプレートの傾斜部に対して大きな弾性変形量を許容でき、これにより、着地時のクッション性および離地時の反発性をさらに向上できる。
【0025】
本発明において、第2のプレートの下方への膨出部および第3のプレートの上方への膨出部が連結されている(請求項9参照)。
【0026】
本発明によるソール構造体は、シューズの踵部に設けられている(請求項10参照)。
【発明の効果】
【0027】
以上のように、本発明に係るソール構造体によれば、上下に間隔を隔てて第1、第2のプレートを配置し、これら第1、第2のプレート間に複数の柱状部材を前後方向に間隔を隔てて配置するとともに、柱状部材の上端を下端よりも前方位置に配置することで柱状部材を前方に傾斜して配設し、後方に向かうにしたがい斜め上方に傾斜する傾斜部を第2のプレートに設け、柱状部材の下端を当該傾斜部に連結するとともに、柱状部材の下端の連結部位において第2のプレートの傾斜部の下方に空隙を形成するようにしたので、シューズの着地時には、柱状部材が弾性変形するとともに、柱状部材の下端が連結された第2のプレートの傾斜部が、柱状部材の下端で圧縮されて空隙の側に向かって弾性変形することにより、クッション性を向上できる。
【0028】
しかも、この場合、シューズの離地時には、第2のプレートの傾斜部が弾性変形した後に元に戻る際に、柱状部材の上端に対して斜め前方に反発力を作用させることにより、シューズの離地方向への反発力を向上できる。
【0029】
さらに、この場合には、前後方向に間隔を隔てて配置された複数の柱状部材が、走行中の前方への荷重移動にともなって、第2のプレートの対応する傾斜部を順次圧縮変形させるとともに、離地方向に反発力を作用させるので、走行中に前方へのスムーズな体重移動を実現できると同時に、走行中のライド感を向上できる。
【図面の簡単な説明】
【0030】
【図1】本発明の一実施例によるシューズ用ソール構造体の外甲側側面図である。
【図2】図1のソール構造体の内甲側側面図である。
【図3】図1のソール構造体の底面図である。
【図4】図3のIV-IV線断面図である。
【図5】図1の拡大部分図である。
【図6】図1のVI-VI線断面図である。
【図7】図1のVII-VII線断面図である。
【図8】図1の拡大部分図であって、第2のプレートの傾斜角について説明するための図である。
【図9】(a)は、被験者に実際に走行してもらったときの蹴り出し時の力のベクトルが鉛直面に対してなす角度の時間的変化を示すグラフであり、(b)は、蹴り出し時に後ろに蹴る力の時間的変化を示すグラフである。
【図9A】被験者が走行している状態を示す図である。
【図10】図1のソール構造体の一部を取り出して示す模式図である。
【図11】図10のソール構造体の着地時の作動を説明するための図である。
【図12】図10のソール構造体の離地時の作動を説明するための図である。
【図13】本発明の他の実施例によるシューズ用ソール構造体の外甲側側面の拡大部分図である。
【発明を実施するための形態】
【0031】
以下、本発明の実施例を添付図面に基づいて説明する。
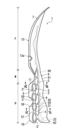
図1ないし図12は、本発明の一実施例によるシューズ用ソール構造体を示している。なお、以下の説明中、上方、下方、前方および後方とは、それぞれシューズの上方、下方、前方および後方を意味しており、すなわち、図1を例にとった場合、同図の右方、左方、上方および下方をそれぞれ指している。また、図1中、Hはソール構造体の踵部を、Mは中足部を、Fは前足部をそれぞれ示している。
【0032】
図1および図2に示すように、このソール構造体1は、上方に配置されるとともに、踵部Hから中足部Mまで略平坦状に配設されかつ中足部Mを越えて前足部Fの踏付部分まで波状に延設された硬質樹脂製の第1のプレート2と、第1のプレート2との間に間隔を隔てて下方に配置されるとともに、踵部Hから中足部Mの前端を越えた辺りまで波状に配設された硬質樹脂製の第2のプレート3と、第1、第2のプレート2、3間において各々実質的に上下方向に配設され、第1、第2のプレート2、3に連結されるとともに、前後方向に間隔を隔てて配置された硬質樹脂製の複数の柱状部材4とを備えている。
【0033】
第1のプレート2は、図3ないし図7に示すように、ソール構造体1の幅方向全体に延在しており、幅方向中央部分に配置され、幅方向に平坦状に形成された中央部20と、その左右両側部に配置され、上方に向かって巻き上げられた左右一対の巻上げ部21とを有している。また、第1のプレート2は、踵後端において上方に巻き上げられた巻上げ部22を有している。
【0034】
第2のプレート3は、図1、図2および図5に示すように、幅方向の稜線を有しかつ前後方向に進む複数の波形状部から構成された波形プレートであって、上方への膨出部30および下方への膨出部31を有している。また、第2のプレート3は、図3、図4、図6および図7に示すように、踵部Hの内甲側部分および外甲側部分に沿って配設されており、踵部Hの中央部分には設けられていない。
【0035】
各柱状部材4は、図5に示すように、第1のプレート2に連結された上端4a、および第2のプレート3の上方への膨出部30に連結された下端4bをそれぞれ有している。柱状部材4についても、第2のプレート3と同様に、踵部Hの内甲側部分および外甲側部分に沿って配設されており、踵部Hの中央部分には設けられていない。
【0036】
各柱状部材4において、上端4aは下端4bよりも前方位置に配置されており、各柱状部材4は、前方に傾斜して配設されている。なお、各柱状部材4の配設方向として、実質的に上下方向としたのは、水平方向と鉛直方向との間の斜め上方を含む趣旨である。また、第1、第2のプレート2、3間の間隙が各柱状部材4で仕切られることにより、第1、第2のプレート2、3間には、複数の空隙Cが形成されている。
【0037】
第2のプレート3において各柱状部材4の下端4bが連結される膨出部30の傾斜部(図5斜線部分)は、後方に向かうにしたがい斜め上方に傾斜して配設されている。
【0038】
第2のプレート3の下方には、図1、図2および図5に示すように、第2のプレート3との間に間隔を隔てて踵部Hから中足部Mの前端を越えた辺りまで波状に配設された硬質樹脂製の第3のプレート5が配設されている。第3のプレート5は、中足部Mにおいては第2のプレート3と一体化されている。
【0039】
第3のプレート5は、幅方向の稜線を有しかつ前後方向に進む複数の波形状部から構成された波形プレートであって、下方への膨出部50および上方への膨出部51を有している。また、第3のプレート5についても、第2のプレート3と同様に、踵部Hの内甲側部分および外甲側部分に沿って配設されており、踵部Hの中央部分には設けられていない(図3参照)。
【0040】
第3のプレート5の下方への膨出部50は、第2のプレート3の上方への膨出部30と上下に対向配置されており、第3のプレート5の上方への膨出部51は、第2のプレート3の下方への膨出部31と上下に対向配置されるとともに相互に連結されている。これにより、第2のプレート3および第3のプレート5間には、複数の空隙C’が形成されている。空隙C’は、柱状部材4の下端4bが連結される第2のプレート3の膨出部30の傾斜部3A(図5斜線部分)の下方に設けられており、各空隙C’は、各柱状部材4に対応する位置に設けられている。
【0041】
第1、第2のプレート2、3および柱状部材4ならびに第3のプレート5を構成する各硬質樹脂は、例えば、熱可塑性ポリウレタン(TPU)やポリアミドエラストマー(PAE)等の熱可塑性材料や、エポキシ樹脂や不飽和ポリエステル樹脂等の熱硬化性材料、から構成されている。この例では、第1、第2、第3のプレート2、3、5および柱状部材4は、例えば射出成形法によって一体成形されている。あるいは、第1、第2、第3のプレート2、3、5および柱状部材4は、硬質ラバーから構成されていてもよい。
【0042】
また、第1のプレート2の上には、図1、図2、図4ないし図7に示すように、踵部Hから中足部Mをへて前足部Fの踏付部分まで延設された上部ミッドソール6が設けられている。上部ミッドソール6は、ソール構造体1の幅方向全体に延在しており、幅方向中央部分に配置された中央部60と、その左右両側部に配置され、上方に向かって巻き上げられた左右一対の巻上げ部61とを有している。また、上部ミッドソール6は、踵後端において上方に巻き上げられた巻上げ部62を有している。
【0043】
上部ミッドソール6は、軟質弾性部材製であって、例えば、エチレン−酢酸ビニル共重合体(EVA)等の熱可塑性合成樹脂やその発泡体、ポリウレタン(PU)等の熱硬化性樹脂やその発泡体、またはブタジエンラバーやクロロプレンラバー等のラバー素材やその発泡体から構成されている。
【0044】
前足部Fにおいて上部ミッドソール6の前方および下方には、図1、図2および図4に示すように、下部ミッドソール7が配設されている。下部ミッドソール7も、上部ミッドソール6と同様の軟質弾性部材から構成されている。
【0045】
第3のプレート5の下面には、図1ないし図3、および図5ないし図7に示すように、路面と接地するアウトソールプレート10、11、12が固着されている。アウトソールプレート10、11は、踵部Hの外甲側に配設されるとともに、前後方向に間隔を隔てて配置されている。アウトソールプレート12は、踵部Hの内甲側に配設されている。アウトソール10、11およびアウトソール12間には、前後方向に延びる開孔部Haが形成されている。また、下部ミッドソール7の下面には、アウトソール13が固着されている。アウトソール13には、幅方向に延びる溝13aが形成されている。
【0046】
次に、図8において、柱状部材4の下端4bが連結される第2のプレート3の傾斜部3Aは、上述したように、後方(同図右方)に向かうにしたがい斜め上方に傾斜して配設されており、当該傾斜部3Aが水平方向の後方側に対してなす角度(つまり水平面に対して反時計回りに測った角度)αは、
0<α≦40 ° …(1)
に設定されており、好ましくは、
α=15° …(2)
に設定されている。
その理由は、以下のとおりである。
【0047】
被験者に実際にランニングをしてもらい(図9A参照)、走行中において蹴り出し時に後ろに蹴る力のベクトルが鉛直面に対してなす角度の時間的変化を求め、これをグラフ化したものが図9(a)であり、また、蹴り出し時に後ろに蹴る力の時間的変化を求め、これをグラフ化したものが同図(b)である。なお、図9(a)中、角度が負の値になっている区間、および同図(b)中、力が負の値になっている区間は、着地してから蹴り出し動作に移行するまでの間の区間に対応しており、接地面に作用する下向きの力が斜め前方に作用していることを示している。したがって、蹴り出し動作に移行した後は、接地面を後ろに蹴る力のベクトルは、鉛直面から反時計回りに測定された正の値になっている。
【0048】
図9(a)より、蹴り出し動作に移行した後は、接地面を後ろに蹴る力のベクトルが鉛直面に対して反時計回りになす角度は、0〜40[°]になっている。本実施例においては、接地面を後ろに蹴る力は、柱状部材4を介して第2のプレート3により支承されるので、第2のプレート3の傾斜部3Aの配設方向としては、水平方向から反時計回りに測定したときに、0〜40[°]をなしているのが好ましい。そこで、第2のプレート3の傾斜部3Aが水平面に対して反時計回りになす角度αとして、上記(1)式のように設定したのである。
【0049】
また、図9(b)より、後ろに蹴る力Fyの最大値は、236[ms]のときに生じており、このとき、後ろに蹴る力Fyのベクトルが鉛直面に対してなす反時計回りの角度は、同図(a)より、15[°]になっている。そこで、第2のプレート3の傾斜部3Aが水平面に対して反時計回りになす角度αの好ましい値として、上記(2)式のように設定したのである。
【0050】
次に、上述のように構成されたソール構造体1の作動について、図10ないし図12の模式図を用いて説明する。
図10は、ソール構造体1における柱状部材4およびその上下端4a、4bが連結される第1のプレート2および第2のプレート3を取り出して示した模式図である。図11および図12は、図10をさらに模式化して線のみで表したものであって、図11はシューズの着地時の状態を、図12は離地時の状態をそれぞれ示している。
【0051】
シューズの着地時には、図11に示すように、第1のプレート2の中央部20に対して、シューズ着用者の足から斜め前方に向かう下向きの衝撃荷重Pが作用する。衝撃荷重Pの載荷により、柱状部材4が弾性変形(せん断変形、圧縮変形および曲げ変形)するとともに、柱状部材4の下端4bが連結された第2のプレート3の傾斜部3Aが、柱状部材4の下端4bから作用する押付荷重Wにより圧縮されて空隙C’の側に向かって弾性変形する。これにより、着地時の衝撃荷重Pを吸収でき、クッション性を向上できる。
【0052】
次に、シューズの離地時において、衝撃荷重Pが除荷されると、図12に示すように、弾性変形していた第2のプレート3の傾斜部3Aが元に戻ろうとし、柱状部材4の上端4aに対して斜め前方(したがって離地方向)に反発力Qを作用させる。これにより、シューズの離地方向への反発力を向上できる。
【0053】
ここで、上述した特許文献1に記載のソール構造体においては、シューズの着地時には、上下部プレートが着用者の足および接地面の間で挟持されるため、波形プレートを介して下部プレートに押付荷重が作用しても下部プレートは下方に変形することができず、その結果、波形プレートの圧縮変形が抑制されることになる。また、波形プレートが圧縮変形する際には、波形プレートの波形状部分の上側凸面が下方に沈み込むように変形するので、シューズの離地時に、圧縮変形していた波形プレートが解放する弾性反発力は、波形プレートの上側凸面を介して上部プレートに対し単に上方に向かって作用するにすぎない。
【0054】
一方、特許文献2に記載のソール構造体においては、下部プレートの各膨出部間の上凸部分が上部プレートに対して弾性ブロックを介して連結されているので、シューズの着地時には、弾性ブロックの圧縮変形によって下部プレートの各膨出部の圧縮変形が比較的容易であるが、弾性ブロックが上下方向に配設されるとともに弾性ブロックの下端が下部プレートの上凸部分に連結されているので、弾性ブロックが圧縮変形する際には、その中心線に沿って上下方向に変形する。このため、シューズの離地時に、圧縮変形していた弾性ブロックが解放する弾性反発力は、上部プレートに対し単に上方に向かって作用するにすぎない。
【0055】
また、特許文献3に記載のソール構造体においては、シューズの着地時には、湾曲シート部の下凸状湾曲部が圧縮変形するとともに、圧縮変形した下凸状湾曲部の後方側端部が、当該湾曲シート部の隣の湾曲シート部を押圧して圧縮変形させており、走行中の前方への荷重移動にともなって、各湾曲シート部が前方側に向かって順に折り畳まれるようにして変形する。このため、シューズの離地時に、折り畳まれるように変形していた各湾曲シート部が解放する弾性反発力は、上部シート部に対して上方または斜め後方に作用するにすぎない。
【0056】
さらに、本実施例によれば、走行時には、前後方向に間隔を隔てて配置された複数の柱状部材4が、前方への荷重移動にともなって、順次、第2のプレート3の各傾斜部3Aを圧縮変形させるとともに、第1のプレート2の中央部20に対して離地方向に反発力を作用させるので、走行中の前方へのスムーズな体重移動を実現できると同時に、走行中のライド感を向上できる。
【0057】
また、第1、第2、第3のプレート2、3、5および柱状部材4が樹脂により一体成形されるので、ソール構造体全体を単一のユニットから構成でき、これにより、シューズの組立作業が容易になる。
【0058】
しかも、柱状部材4の下端4bが連結される第2のプレート3の傾斜部3Aの下方の空隙C’が、各柱状部材4に対応して複数個設けられているので、着地時に柱状部材4により弾性変形させられる第2のプレート3の傾斜部3Aが、当該傾斜部3Aの隣の傾斜部3Aの弾性変形の影響を受けにくくなっており、これにより、走行中に荷重が前方に移動していく際に、各傾斜部3Aがそれぞれ独立して弾性変形することができ、その結果、着地時のクッション性、離地時の反発性および走行中のライド感の制御が容易になる。
【0059】
また、第2のプレート3の上方への膨出部30および第3のプレート4の下方への膨出部40が上下に対向配置されているので、柱状部材4の下端4bが連結される第2のプレート3の傾斜部3Aの下方に大きな空隙を確保でき、これにより、第2のプレート3の傾斜部3Aに対して大きな弾性変形量を許容でき、その結果、着地時のクッション性および離地時の反発性をさらに向上できる。
【0060】
なお、前記実施例では、柱状部材4の下端4bが、第2のプレート3の傾斜部3Aの傾斜途中の部分(中間部分)に連結された例を示したが、本発明の適用はこれに限定されない。
【0061】
図13は、本発明の他の実施例によるシューズ用ソール構造体の外甲側側面の拡大部分図であって、前記実施例の図5に相当する図である。図13において、前記実施例と同一符号は同一または相当部分を示している。
【0062】
図13に示すように、柱状部材4の下端4bは、第2のプレート3の傾斜部3Aの後方側の終端部分、すなわち、第2のプレート3の上方への膨出部30の頂点の位置に連結されている。
【0063】
この場合においても、前記実施例と同様に、シューズの着地時に、シューズ着用者の足から斜め前方に向かう下向きの衝撃荷重が作用すると、柱状部材4が弾性変形(せん断変形、圧縮変形および曲げ変形)するとともに、柱状部材4の下端4bが連結された第2のプレート3の傾斜部3A(の終端部分)が、柱状部材4の下端4bから作用する押付荷重により圧縮されて空隙C’の側に向かって弾性変形するので、着地時の衝撃荷重を吸収でき、クッション性を向上できる。また、シューズの離地時には、衝撃荷重の除荷にともなって、弾性変形していた第2のプレート3の傾斜部3Aが元に戻ろうとし、柱状部材4の上端4aに対して斜め前方(したがって離地方向)に反発力を作用させるので、シューズの離地方向への反発力を向上できる。
【0064】
なお、本発明においては、前記実施例および前記他の実施例の双方を組み合わせた構造を採用するようにしてもよい。すなわち、柱状部材4の下端4bが第2のプレート3の傾斜部3Aの傾斜途中の部分(中間部分)に連結された前記実施例に示すような構造をソール構造体の一部に採用するとともに、柱状部材4の下端4bが第2のプレート3の傾斜部3Aの後方側の終端部分(つまり第2のプレート3の上方への膨出部30の頂点の位置)に連結された前記他の実施例に示すような構造を同じソール構造体の残りの部分に採用するようにしてもよい。
【0065】
この場合においても、前記実施例および前記他の実施例と同様に、シューズの着地時には、着地時の衝撃荷重を吸収でき、クッション性を向上できるとともに、シューズの離地時には、シューズの離地方向への反発力を向上できる。
【0066】
前記実施例では、第2のプレート3の上方への膨出部30と第3のプレート5の下方への膨出部50とが上下に対向配置された例を示したが、本発明においては、各膨出部30、50は、必ずしも上下に対向配置されていなくてもよい。
【0067】
また、前記実施例では、第2のプレート3が波形プレートである場合を例にとって説明したが、本発明の適用はこれに限定されない。本発明による第2のプレートについては、少なくとも、複数の柱状部材4の各下端に連結される各傾斜部3Aが後方に向かうにしたがい斜め上方に傾斜して配設されていればよい。同様に、第3のプレート5に関しても波形プレートに限定されるものではなく、少なくとも、第2のプレート3との間に空隙を形成し得るものであればよい。
【0068】
前記実施例では、複数の柱状部材4に各々対応する複数の空隙C’が設けられた例を示したが、本発明の適用はこれに限定されない。各柱状部材4の下方に形成される空隙は、共通のつまり単一の空隙であってもよい。
【0069】
前記実施例では、空隙C、C’がいずれも空洞である場合を例にとって示したが、これらの空隙C、C’の双方またはいずれか一方の内部に、第2、第3のプレート3、5の弾性に影響を及ぼさない程度の軟らかい充填物(例えば軟質のスポンジ材等)を充填するようにしてもよい。
【0070】
前記実施例では、当該ソール構造体がシューズの踵部に設けられた例を示したが、本発明によるソール構造体は、シューズの前足部に設けるようにしてもよい。
【産業上の利用可能性】
【0071】
以上のように、本発明は、シューズ用ソール構造体に有用であり、とくに着地時のクッション性および離地方向への反発性の向上を要求されるものに適している。
【符号の説明】
【0072】
1: ソール構造体
2: 第1のプレート
3: 第2のプレート
3A: 傾斜部
30: 上方への膨出部
31: 下方への膨出部
4: 柱状部材
4a: 上端
4b: 下端
5: 第3のプレート
50: 下方への膨出部
51: 上方への膨出部
C’: 空隙
【先行技術文献】
【特許文献】
【0073】
【特許文献1】特開2003−339405号公報(図2参照)
【特許文献2】国際公開第2006/129837号パンフレット(第1A図参照)
【特許文献3】特開2009−240590号公報(図1参照)。
【技術分野】
【0001】
本発明は、シューズ用ソール構造体に関し、詳細には、クッション性を維持しつつ、離地方向への反発力を向上できるソール構造体に関する。
【背景技術】
【0002】
ソール構造体として、たとえば特開2003−339405号公報に示すものが本願出願人により提案されている(同公報の図2参照)。このソール構造体は、上下方向に一定の空隙を介して対向配置された上部プレートおよび下部プレートと、これら上下部プレート間に配設されるとともに、その波形状部分の上側凸面が上部プレートに固着されかつ下側凸面が下部プレートに固着された波形プレートとから構成されている。
【0003】
また、国際公開第2006/129837号パンフレットには、同パンフレットの第1A図に示すように、上部プレートと、その下方に配設され、上部プレートとの間で空隙を形成する2つの膨出部を有する波状の下部プレートと、下部プレートの各膨出部間に形成された上凸部分を上部プレートに連結する弾性ブロックとを備えたソール構造体が記載されている。
【0004】
さらに、特開2009−240590号公報には、同公報の図1に示すように、上方に配置された上部シート部と、その下面にそれぞれ設けられるとともに、下方に凸状に湾曲する下凸状湾曲部を有しかつ上部シート部に対して前後方向に一部オーバラップしつつ並設された複数の湾曲シート部とを備えたソール構造体が記載されている。
【発明の概要】
【発明が解決しようとする課題】
【0005】
上述した特開2003−339405号公報に示すソール構造体においては、シューズの着地時には、波形プレートの波形状部分が扁平となるように圧縮変形することにより、上下部プレート間の空隙がクッションホールとして作用して、衝撃荷重が吸収される。
【0006】
しかしながら、この場合には、波形プレートの波形状部分の上側凸面が上部プレートに固着されかつ下側凸面が下部プレートに固着されているために、波形プレートの上側凸面および下側凸面が上下部プレートで拘束されており、その結果、波形プレートの波形状部分の圧縮変形が抑制されている。また、シューズの離地時に、圧縮変形していた波形プレートが解放する弾性反発力は、波形プレートの上側凸面を介して上部プレートに対し単に上方に向かって作用するにすぎない。
【0007】
上記国際公開第2006/129837号パンフレットに示すソール構造体においては、シューズの着地時には、下部プレートの各膨出部が扁平となるように圧縮変形することにより、上下部プレート間の空隙がクッションホールとして作用して、衝撃荷重が吸収される。
【0008】
この場合には、下部プレートの各膨出部間の上凸部分が弾性ブロックを介して上部プレートに連結されているので、各膨出部の圧縮変形が比較的容易であり、その結果、クッション性が向上している。
【0009】
しかしながら、このソール構造体は、着地時のクッション性の向上を主眼としているため、シューズの離地時に、圧縮変形していた膨出部および弾性ブロックが解放する弾性反発力は、上部プレートに対し単に上方に向かって作用するにすぎない。
【0010】
上記特開2009−240590号公報に示すソール構造体においては、シューズの着地時には、湾曲シート部の下凸状湾曲部が圧縮変形することにより、衝撃荷重が吸収される。
【0011】
この場合には、圧縮変形した下凸状湾曲部の後方側端部が、当該湾曲シート部の隣の湾曲シート部を押圧して圧縮変形させており、その結果、ソール構造体全体のクッション性がさらに向上している。また、この場合には、シューズの着地後、前方に向かって荷重が移動していくと、各湾曲シート部において下凸状湾曲部から前方側端部にかけての部分が前方側に向かって順に折り畳まれるようにして変形する。これにより、走行時の前方への荷重移動がスムーズに行われ、ライド感が向上している。
【0012】
しかしながら、このソール構造体は、着地時のクッション性および走行時のライド感の向上を主眼としているため、シューズの離地時に、折り畳まれるように変形していた各湾曲シート部が解放する弾性反発力は、上部シート部に対して上方または斜め後方に作用するにすぎない。
【0013】
本発明は、このような従来の実情に鑑みてなされたもので、本発明が解決しようとする課題は、クッション性を維持しつつ、離地方向への反発力を向上できるソール構造体を提供しようとしている。
【課題を解決するための手段】
【0014】
本発明に係るシューズ用ソール構造体は、上方に配置された第1のプレートと、第1のプレートとの間に間隔を隔てて下方に配置された第2のプレートと、これら第1、第2のプレート間において各々上下方向に配設されるとともに、第1のプレートに連結される上端、および第2のプレートに連結される下端をそれぞれ有し、前後方向に間隔を隔てて配置された複数の柱状部材とを備えている。柱状部材は、上端が下端よりも前方位置に配置されることで、前方に傾斜して配設されている。第2のプレートは、後方に向かうにしたがい斜め上方に傾斜する傾斜部を有しており、柱状部材の下端はこの傾斜部に連結されている。柱状部材の下端の連結部位において第2のプレートの傾斜部の下方には、空隙が形成されている(請求項1参照)。
【0015】
本発明によれば、シューズの着地時には、柱状部材が弾性変形するとともに、柱状部材の下端が連結された第2のプレートの傾斜部が、柱状部材の下端で圧縮されて空隙の側に向かって弾性変形することにより、クッション性を向上できる。
【0016】
しかも、この場合、シューズの離地時には、後方に向かうにしたがい斜め上方に傾斜した第2のプレートの傾斜部が弾性変形した後に元に戻る際に、柱状部材の上端に対して斜め前方に反発力を作用させる。これにより、シューズの離地方向への反発力を向上できる。
【0017】
さらに、この場合には、前後方向に間隔を隔てて配置された複数の柱状部材が、走行中の前方への荷重移動にともなって、第2のプレートの対応する傾斜部を順次圧縮変形させるとともに、離地方向に反発力を作用させるので、走行中に前方へのスムーズな体重移動を実現できると同時に、走行中のライド感を向上できる。
【0018】
本発明においては、シューズの着地時には、柱状部材が第2のプレートの傾斜部を下方に弾性変形させるとともに、シューズの離地時には、柱状部材が上端を介して第1のプレートに対し、斜め前方に弾性反発力を作用させている(請求項2参照)。
【0019】
本発明においては、第1、第2のプレートおよび柱状部材が、いずれも硬質樹脂製であって、一体成形されている(請求項3参照)。この場合には、ソール構造体全体が単一のユニットから構成されるので、シューズの組立作業が容易になる。
【0020】
本発明においては、第2のプレートが、複数の波形状部を有する波形プレートである。この場合には、柱状部材の下端が連結される波形プレートの傾斜部は、波形プレートの波形状部において後方に向かうにしたがい上方に傾斜する部分である(請求項4参照)。
【0021】
本発明においては、柱状部材の下端が連結される第2のプレートの傾斜部の下方の空隙が、各柱状部材に対応して複数個設けられている(請求項5参照)。この場合には、着地時に柱状部材により弾性変形させられる第2のプレートの傾斜部が、当該傾斜部の隣の傾斜部の弾性変形の影響を受けにくくなっており、これにより、走行中に荷重が前方に移動していく際に、各傾斜部がそれぞれ独立して弾性変形することができ、その結果、着地時のクッション性、離地時の反発性および走行中のライド感の制御が容易になる。
【0022】
本発明においては、第2のプレートの下方には、当該第2のプレートとの間に間隔を隔てて配置された第3のプレートが設けられており、前記空隙がこれら第2、第3のプレートにより形成されている(請求項6参照)。
【0023】
本発明においては、第2、第3のプレートが、各々複数の波形状部を有する波形プレートである(請求項7参照)。
【0024】
本発明において、第2のプレートの上方への膨出部および第3のプレートの下方への膨出部が上下に対向配置されている(請求項8参照)。この場合には、柱状部材の下端が連結される第2のプレートの傾斜部の下方に大きな空隙を確保できることにより、第2のプレートの傾斜部に対して大きな弾性変形量を許容でき、これにより、着地時のクッション性および離地時の反発性をさらに向上できる。
【0025】
本発明において、第2のプレートの下方への膨出部および第3のプレートの上方への膨出部が連結されている(請求項9参照)。
【0026】
本発明によるソール構造体は、シューズの踵部に設けられている(請求項10参照)。
【発明の効果】
【0027】
以上のように、本発明に係るソール構造体によれば、上下に間隔を隔てて第1、第2のプレートを配置し、これら第1、第2のプレート間に複数の柱状部材を前後方向に間隔を隔てて配置するとともに、柱状部材の上端を下端よりも前方位置に配置することで柱状部材を前方に傾斜して配設し、後方に向かうにしたがい斜め上方に傾斜する傾斜部を第2のプレートに設け、柱状部材の下端を当該傾斜部に連結するとともに、柱状部材の下端の連結部位において第2のプレートの傾斜部の下方に空隙を形成するようにしたので、シューズの着地時には、柱状部材が弾性変形するとともに、柱状部材の下端が連結された第2のプレートの傾斜部が、柱状部材の下端で圧縮されて空隙の側に向かって弾性変形することにより、クッション性を向上できる。
【0028】
しかも、この場合、シューズの離地時には、第2のプレートの傾斜部が弾性変形した後に元に戻る際に、柱状部材の上端に対して斜め前方に反発力を作用させることにより、シューズの離地方向への反発力を向上できる。
【0029】
さらに、この場合には、前後方向に間隔を隔てて配置された複数の柱状部材が、走行中の前方への荷重移動にともなって、第2のプレートの対応する傾斜部を順次圧縮変形させるとともに、離地方向に反発力を作用させるので、走行中に前方へのスムーズな体重移動を実現できると同時に、走行中のライド感を向上できる。
【図面の簡単な説明】
【0030】
【図1】本発明の一実施例によるシューズ用ソール構造体の外甲側側面図である。
【図2】図1のソール構造体の内甲側側面図である。
【図3】図1のソール構造体の底面図である。
【図4】図3のIV-IV線断面図である。
【図5】図1の拡大部分図である。
【図6】図1のVI-VI線断面図である。
【図7】図1のVII-VII線断面図である。
【図8】図1の拡大部分図であって、第2のプレートの傾斜角について説明するための図である。
【図9】(a)は、被験者に実際に走行してもらったときの蹴り出し時の力のベクトルが鉛直面に対してなす角度の時間的変化を示すグラフであり、(b)は、蹴り出し時に後ろに蹴る力の時間的変化を示すグラフである。
【図9A】被験者が走行している状態を示す図である。
【図10】図1のソール構造体の一部を取り出して示す模式図である。
【図11】図10のソール構造体の着地時の作動を説明するための図である。
【図12】図10のソール構造体の離地時の作動を説明するための図である。
【図13】本発明の他の実施例によるシューズ用ソール構造体の外甲側側面の拡大部分図である。
【発明を実施するための形態】
【0031】
以下、本発明の実施例を添付図面に基づいて説明する。
図1ないし図12は、本発明の一実施例によるシューズ用ソール構造体を示している。なお、以下の説明中、上方、下方、前方および後方とは、それぞれシューズの上方、下方、前方および後方を意味しており、すなわち、図1を例にとった場合、同図の右方、左方、上方および下方をそれぞれ指している。また、図1中、Hはソール構造体の踵部を、Mは中足部を、Fは前足部をそれぞれ示している。
【0032】
図1および図2に示すように、このソール構造体1は、上方に配置されるとともに、踵部Hから中足部Mまで略平坦状に配設されかつ中足部Mを越えて前足部Fの踏付部分まで波状に延設された硬質樹脂製の第1のプレート2と、第1のプレート2との間に間隔を隔てて下方に配置されるとともに、踵部Hから中足部Mの前端を越えた辺りまで波状に配設された硬質樹脂製の第2のプレート3と、第1、第2のプレート2、3間において各々実質的に上下方向に配設され、第1、第2のプレート2、3に連結されるとともに、前後方向に間隔を隔てて配置された硬質樹脂製の複数の柱状部材4とを備えている。
【0033】
第1のプレート2は、図3ないし図7に示すように、ソール構造体1の幅方向全体に延在しており、幅方向中央部分に配置され、幅方向に平坦状に形成された中央部20と、その左右両側部に配置され、上方に向かって巻き上げられた左右一対の巻上げ部21とを有している。また、第1のプレート2は、踵後端において上方に巻き上げられた巻上げ部22を有している。
【0034】
第2のプレート3は、図1、図2および図5に示すように、幅方向の稜線を有しかつ前後方向に進む複数の波形状部から構成された波形プレートであって、上方への膨出部30および下方への膨出部31を有している。また、第2のプレート3は、図3、図4、図6および図7に示すように、踵部Hの内甲側部分および外甲側部分に沿って配設されており、踵部Hの中央部分には設けられていない。
【0035】
各柱状部材4は、図5に示すように、第1のプレート2に連結された上端4a、および第2のプレート3の上方への膨出部30に連結された下端4bをそれぞれ有している。柱状部材4についても、第2のプレート3と同様に、踵部Hの内甲側部分および外甲側部分に沿って配設されており、踵部Hの中央部分には設けられていない。
【0036】
各柱状部材4において、上端4aは下端4bよりも前方位置に配置されており、各柱状部材4は、前方に傾斜して配設されている。なお、各柱状部材4の配設方向として、実質的に上下方向としたのは、水平方向と鉛直方向との間の斜め上方を含む趣旨である。また、第1、第2のプレート2、3間の間隙が各柱状部材4で仕切られることにより、第1、第2のプレート2、3間には、複数の空隙Cが形成されている。
【0037】
第2のプレート3において各柱状部材4の下端4bが連結される膨出部30の傾斜部(図5斜線部分)は、後方に向かうにしたがい斜め上方に傾斜して配設されている。
【0038】
第2のプレート3の下方には、図1、図2および図5に示すように、第2のプレート3との間に間隔を隔てて踵部Hから中足部Mの前端を越えた辺りまで波状に配設された硬質樹脂製の第3のプレート5が配設されている。第3のプレート5は、中足部Mにおいては第2のプレート3と一体化されている。
【0039】
第3のプレート5は、幅方向の稜線を有しかつ前後方向に進む複数の波形状部から構成された波形プレートであって、下方への膨出部50および上方への膨出部51を有している。また、第3のプレート5についても、第2のプレート3と同様に、踵部Hの内甲側部分および外甲側部分に沿って配設されており、踵部Hの中央部分には設けられていない(図3参照)。
【0040】
第3のプレート5の下方への膨出部50は、第2のプレート3の上方への膨出部30と上下に対向配置されており、第3のプレート5の上方への膨出部51は、第2のプレート3の下方への膨出部31と上下に対向配置されるとともに相互に連結されている。これにより、第2のプレート3および第3のプレート5間には、複数の空隙C’が形成されている。空隙C’は、柱状部材4の下端4bが連結される第2のプレート3の膨出部30の傾斜部3A(図5斜線部分)の下方に設けられており、各空隙C’は、各柱状部材4に対応する位置に設けられている。
【0041】
第1、第2のプレート2、3および柱状部材4ならびに第3のプレート5を構成する各硬質樹脂は、例えば、熱可塑性ポリウレタン(TPU)やポリアミドエラストマー(PAE)等の熱可塑性材料や、エポキシ樹脂や不飽和ポリエステル樹脂等の熱硬化性材料、から構成されている。この例では、第1、第2、第3のプレート2、3、5および柱状部材4は、例えば射出成形法によって一体成形されている。あるいは、第1、第2、第3のプレート2、3、5および柱状部材4は、硬質ラバーから構成されていてもよい。
【0042】
また、第1のプレート2の上には、図1、図2、図4ないし図7に示すように、踵部Hから中足部Mをへて前足部Fの踏付部分まで延設された上部ミッドソール6が設けられている。上部ミッドソール6は、ソール構造体1の幅方向全体に延在しており、幅方向中央部分に配置された中央部60と、その左右両側部に配置され、上方に向かって巻き上げられた左右一対の巻上げ部61とを有している。また、上部ミッドソール6は、踵後端において上方に巻き上げられた巻上げ部62を有している。
【0043】
上部ミッドソール6は、軟質弾性部材製であって、例えば、エチレン−酢酸ビニル共重合体(EVA)等の熱可塑性合成樹脂やその発泡体、ポリウレタン(PU)等の熱硬化性樹脂やその発泡体、またはブタジエンラバーやクロロプレンラバー等のラバー素材やその発泡体から構成されている。
【0044】
前足部Fにおいて上部ミッドソール6の前方および下方には、図1、図2および図4に示すように、下部ミッドソール7が配設されている。下部ミッドソール7も、上部ミッドソール6と同様の軟質弾性部材から構成されている。
【0045】
第3のプレート5の下面には、図1ないし図3、および図5ないし図7に示すように、路面と接地するアウトソールプレート10、11、12が固着されている。アウトソールプレート10、11は、踵部Hの外甲側に配設されるとともに、前後方向に間隔を隔てて配置されている。アウトソールプレート12は、踵部Hの内甲側に配設されている。アウトソール10、11およびアウトソール12間には、前後方向に延びる開孔部Haが形成されている。また、下部ミッドソール7の下面には、アウトソール13が固着されている。アウトソール13には、幅方向に延びる溝13aが形成されている。
【0046】
次に、図8において、柱状部材4の下端4bが連結される第2のプレート3の傾斜部3Aは、上述したように、後方(同図右方)に向かうにしたがい斜め上方に傾斜して配設されており、当該傾斜部3Aが水平方向の後方側に対してなす角度(つまり水平面に対して反時計回りに測った角度)αは、
0<α≦40 ° …(1)
に設定されており、好ましくは、
α=15° …(2)
に設定されている。
その理由は、以下のとおりである。
【0047】
被験者に実際にランニングをしてもらい(図9A参照)、走行中において蹴り出し時に後ろに蹴る力のベクトルが鉛直面に対してなす角度の時間的変化を求め、これをグラフ化したものが図9(a)であり、また、蹴り出し時に後ろに蹴る力の時間的変化を求め、これをグラフ化したものが同図(b)である。なお、図9(a)中、角度が負の値になっている区間、および同図(b)中、力が負の値になっている区間は、着地してから蹴り出し動作に移行するまでの間の区間に対応しており、接地面に作用する下向きの力が斜め前方に作用していることを示している。したがって、蹴り出し動作に移行した後は、接地面を後ろに蹴る力のベクトルは、鉛直面から反時計回りに測定された正の値になっている。
【0048】
図9(a)より、蹴り出し動作に移行した後は、接地面を後ろに蹴る力のベクトルが鉛直面に対して反時計回りになす角度は、0〜40[°]になっている。本実施例においては、接地面を後ろに蹴る力は、柱状部材4を介して第2のプレート3により支承されるので、第2のプレート3の傾斜部3Aの配設方向としては、水平方向から反時計回りに測定したときに、0〜40[°]をなしているのが好ましい。そこで、第2のプレート3の傾斜部3Aが水平面に対して反時計回りになす角度αとして、上記(1)式のように設定したのである。
【0049】
また、図9(b)より、後ろに蹴る力Fyの最大値は、236[ms]のときに生じており、このとき、後ろに蹴る力Fyのベクトルが鉛直面に対してなす反時計回りの角度は、同図(a)より、15[°]になっている。そこで、第2のプレート3の傾斜部3Aが水平面に対して反時計回りになす角度αの好ましい値として、上記(2)式のように設定したのである。
【0050】
次に、上述のように構成されたソール構造体1の作動について、図10ないし図12の模式図を用いて説明する。
図10は、ソール構造体1における柱状部材4およびその上下端4a、4bが連結される第1のプレート2および第2のプレート3を取り出して示した模式図である。図11および図12は、図10をさらに模式化して線のみで表したものであって、図11はシューズの着地時の状態を、図12は離地時の状態をそれぞれ示している。
【0051】
シューズの着地時には、図11に示すように、第1のプレート2の中央部20に対して、シューズ着用者の足から斜め前方に向かう下向きの衝撃荷重Pが作用する。衝撃荷重Pの載荷により、柱状部材4が弾性変形(せん断変形、圧縮変形および曲げ変形)するとともに、柱状部材4の下端4bが連結された第2のプレート3の傾斜部3Aが、柱状部材4の下端4bから作用する押付荷重Wにより圧縮されて空隙C’の側に向かって弾性変形する。これにより、着地時の衝撃荷重Pを吸収でき、クッション性を向上できる。
【0052】
次に、シューズの離地時において、衝撃荷重Pが除荷されると、図12に示すように、弾性変形していた第2のプレート3の傾斜部3Aが元に戻ろうとし、柱状部材4の上端4aに対して斜め前方(したがって離地方向)に反発力Qを作用させる。これにより、シューズの離地方向への反発力を向上できる。
【0053】
ここで、上述した特許文献1に記載のソール構造体においては、シューズの着地時には、上下部プレートが着用者の足および接地面の間で挟持されるため、波形プレートを介して下部プレートに押付荷重が作用しても下部プレートは下方に変形することができず、その結果、波形プレートの圧縮変形が抑制されることになる。また、波形プレートが圧縮変形する際には、波形プレートの波形状部分の上側凸面が下方に沈み込むように変形するので、シューズの離地時に、圧縮変形していた波形プレートが解放する弾性反発力は、波形プレートの上側凸面を介して上部プレートに対し単に上方に向かって作用するにすぎない。
【0054】
一方、特許文献2に記載のソール構造体においては、下部プレートの各膨出部間の上凸部分が上部プレートに対して弾性ブロックを介して連結されているので、シューズの着地時には、弾性ブロックの圧縮変形によって下部プレートの各膨出部の圧縮変形が比較的容易であるが、弾性ブロックが上下方向に配設されるとともに弾性ブロックの下端が下部プレートの上凸部分に連結されているので、弾性ブロックが圧縮変形する際には、その中心線に沿って上下方向に変形する。このため、シューズの離地時に、圧縮変形していた弾性ブロックが解放する弾性反発力は、上部プレートに対し単に上方に向かって作用するにすぎない。
【0055】
また、特許文献3に記載のソール構造体においては、シューズの着地時には、湾曲シート部の下凸状湾曲部が圧縮変形するとともに、圧縮変形した下凸状湾曲部の後方側端部が、当該湾曲シート部の隣の湾曲シート部を押圧して圧縮変形させており、走行中の前方への荷重移動にともなって、各湾曲シート部が前方側に向かって順に折り畳まれるようにして変形する。このため、シューズの離地時に、折り畳まれるように変形していた各湾曲シート部が解放する弾性反発力は、上部シート部に対して上方または斜め後方に作用するにすぎない。
【0056】
さらに、本実施例によれば、走行時には、前後方向に間隔を隔てて配置された複数の柱状部材4が、前方への荷重移動にともなって、順次、第2のプレート3の各傾斜部3Aを圧縮変形させるとともに、第1のプレート2の中央部20に対して離地方向に反発力を作用させるので、走行中の前方へのスムーズな体重移動を実現できると同時に、走行中のライド感を向上できる。
【0057】
また、第1、第2、第3のプレート2、3、5および柱状部材4が樹脂により一体成形されるので、ソール構造体全体を単一のユニットから構成でき、これにより、シューズの組立作業が容易になる。
【0058】
しかも、柱状部材4の下端4bが連結される第2のプレート3の傾斜部3Aの下方の空隙C’が、各柱状部材4に対応して複数個設けられているので、着地時に柱状部材4により弾性変形させられる第2のプレート3の傾斜部3Aが、当該傾斜部3Aの隣の傾斜部3Aの弾性変形の影響を受けにくくなっており、これにより、走行中に荷重が前方に移動していく際に、各傾斜部3Aがそれぞれ独立して弾性変形することができ、その結果、着地時のクッション性、離地時の反発性および走行中のライド感の制御が容易になる。
【0059】
また、第2のプレート3の上方への膨出部30および第3のプレート4の下方への膨出部40が上下に対向配置されているので、柱状部材4の下端4bが連結される第2のプレート3の傾斜部3Aの下方に大きな空隙を確保でき、これにより、第2のプレート3の傾斜部3Aに対して大きな弾性変形量を許容でき、その結果、着地時のクッション性および離地時の反発性をさらに向上できる。
【0060】
なお、前記実施例では、柱状部材4の下端4bが、第2のプレート3の傾斜部3Aの傾斜途中の部分(中間部分)に連結された例を示したが、本発明の適用はこれに限定されない。
【0061】
図13は、本発明の他の実施例によるシューズ用ソール構造体の外甲側側面の拡大部分図であって、前記実施例の図5に相当する図である。図13において、前記実施例と同一符号は同一または相当部分を示している。
【0062】
図13に示すように、柱状部材4の下端4bは、第2のプレート3の傾斜部3Aの後方側の終端部分、すなわち、第2のプレート3の上方への膨出部30の頂点の位置に連結されている。
【0063】
この場合においても、前記実施例と同様に、シューズの着地時に、シューズ着用者の足から斜め前方に向かう下向きの衝撃荷重が作用すると、柱状部材4が弾性変形(せん断変形、圧縮変形および曲げ変形)するとともに、柱状部材4の下端4bが連結された第2のプレート3の傾斜部3A(の終端部分)が、柱状部材4の下端4bから作用する押付荷重により圧縮されて空隙C’の側に向かって弾性変形するので、着地時の衝撃荷重を吸収でき、クッション性を向上できる。また、シューズの離地時には、衝撃荷重の除荷にともなって、弾性変形していた第2のプレート3の傾斜部3Aが元に戻ろうとし、柱状部材4の上端4aに対して斜め前方(したがって離地方向)に反発力を作用させるので、シューズの離地方向への反発力を向上できる。
【0064】
なお、本発明においては、前記実施例および前記他の実施例の双方を組み合わせた構造を採用するようにしてもよい。すなわち、柱状部材4の下端4bが第2のプレート3の傾斜部3Aの傾斜途中の部分(中間部分)に連結された前記実施例に示すような構造をソール構造体の一部に採用するとともに、柱状部材4の下端4bが第2のプレート3の傾斜部3Aの後方側の終端部分(つまり第2のプレート3の上方への膨出部30の頂点の位置)に連結された前記他の実施例に示すような構造を同じソール構造体の残りの部分に採用するようにしてもよい。
【0065】
この場合においても、前記実施例および前記他の実施例と同様に、シューズの着地時には、着地時の衝撃荷重を吸収でき、クッション性を向上できるとともに、シューズの離地時には、シューズの離地方向への反発力を向上できる。
【0066】
前記実施例では、第2のプレート3の上方への膨出部30と第3のプレート5の下方への膨出部50とが上下に対向配置された例を示したが、本発明においては、各膨出部30、50は、必ずしも上下に対向配置されていなくてもよい。
【0067】
また、前記実施例では、第2のプレート3が波形プレートである場合を例にとって説明したが、本発明の適用はこれに限定されない。本発明による第2のプレートについては、少なくとも、複数の柱状部材4の各下端に連結される各傾斜部3Aが後方に向かうにしたがい斜め上方に傾斜して配設されていればよい。同様に、第3のプレート5に関しても波形プレートに限定されるものではなく、少なくとも、第2のプレート3との間に空隙を形成し得るものであればよい。
【0068】
前記実施例では、複数の柱状部材4に各々対応する複数の空隙C’が設けられた例を示したが、本発明の適用はこれに限定されない。各柱状部材4の下方に形成される空隙は、共通のつまり単一の空隙であってもよい。
【0069】
前記実施例では、空隙C、C’がいずれも空洞である場合を例にとって示したが、これらの空隙C、C’の双方またはいずれか一方の内部に、第2、第3のプレート3、5の弾性に影響を及ぼさない程度の軟らかい充填物(例えば軟質のスポンジ材等)を充填するようにしてもよい。
【0070】
前記実施例では、当該ソール構造体がシューズの踵部に設けられた例を示したが、本発明によるソール構造体は、シューズの前足部に設けるようにしてもよい。
【産業上の利用可能性】
【0071】
以上のように、本発明は、シューズ用ソール構造体に有用であり、とくに着地時のクッション性および離地方向への反発性の向上を要求されるものに適している。
【符号の説明】
【0072】
1: ソール構造体
2: 第1のプレート
3: 第2のプレート
3A: 傾斜部
30: 上方への膨出部
31: 下方への膨出部
4: 柱状部材
4a: 上端
4b: 下端
5: 第3のプレート
50: 下方への膨出部
51: 上方への膨出部
C’: 空隙
【先行技術文献】
【特許文献】
【0073】
【特許文献1】特開2003−339405号公報(図2参照)
【特許文献2】国際公開第2006/129837号パンフレット(第1A図参照)
【特許文献3】特開2009−240590号公報(図1参照)。
【特許請求の範囲】
【請求項1】
シューズのソール構造体において、
上方に配置された第1のプレートと、
前記第1のプレートとの間に間隔を隔てて下方に配置された第2のプレートと、
前記第1、第2のプレート間において各々上下方向に配設されるとともに、前記第1のプレートに連結された上端、および前記第2のプレートに連結された下端をそれぞれ有し、前後方向に間隔を隔てて配置された複数の柱状部材とを備え、
前記柱状部材の前記上端が前記下端よりも前方位置に配置されることで前記柱状部材が前方に傾斜して配設されており、前記第2のプレートが後方に向かうにしたがい斜め上方に傾斜する傾斜部を有するとともに、前記柱状部材の前記下端が前記傾斜部に連結されており、前記柱状部材の前記下端の連結部位において前記第2のプレートの前記傾斜部の下方に空隙が形成されている、
ことを特徴とするシューズのソール構造体。
【請求項2】
請求項1において、
シューズの着地時には、前記柱状部材が前記第2のプレートの前記傾斜部を下方に弾性変形させるとともに、シューズの離地時には、前記柱状部材が前記上端を介して前記第1のプレートに対し、斜め前方に弾性反発力を作用させている、
ことを特徴とするシューズのソール構造体。
【請求項3】
請求項1において、
前記第1、第2のプレートおよび前記柱状部材が、いずれも硬質樹脂製であって、一体成形されている、
ことを特徴とするシューズのソール構造体。
【請求項4】
請求項1において、
前記第2のプレートが、複数の波形状部を有する波形プレートである、
ことを特徴とするシューズのソール構造体。
【請求項5】
請求項1において、
前記空隙が、前記各柱状部材に対応して複数個設けられている、
ことを特徴とするシューズのソール構造体。
【請求項6】
請求項1において、
前記第2のプレートの下方には、当該第2のプレートとの間に間隔を隔てて配置された第3のプレートが設けられており、前記空隙が、これら第2、第3のプレートにより形成されている、
ことを特徴とするシューズのソール構造体。
【請求項7】
請求項6において、
前記第2、第3のプレートが、各々複数の波形状部を有する波形プレートである、
ことを特徴とするシューズのソール構造体。
【請求項8】
請求項7において、
前記第2のプレートの上方への膨出部および前記第3のプレートの下方への膨出部が上下に対向配置されている、
ことを特徴とするシューズのソール構造体。
【請求項9】
請求項8において、
前記第2のプレートの下方への膨出部および前記第3のプレートの上方への膨出部が連結されている、
ことを特徴とするシューズのソール構造体。
【請求項10】
請求項1において、
当該ソール構造体がシューズの踵部に設けられている、
ことを特徴とするシューズのソール構造体。
【請求項1】
シューズのソール構造体において、
上方に配置された第1のプレートと、
前記第1のプレートとの間に間隔を隔てて下方に配置された第2のプレートと、
前記第1、第2のプレート間において各々上下方向に配設されるとともに、前記第1のプレートに連結された上端、および前記第2のプレートに連結された下端をそれぞれ有し、前後方向に間隔を隔てて配置された複数の柱状部材とを備え、
前記柱状部材の前記上端が前記下端よりも前方位置に配置されることで前記柱状部材が前方に傾斜して配設されており、前記第2のプレートが後方に向かうにしたがい斜め上方に傾斜する傾斜部を有するとともに、前記柱状部材の前記下端が前記傾斜部に連結されており、前記柱状部材の前記下端の連結部位において前記第2のプレートの前記傾斜部の下方に空隙が形成されている、
ことを特徴とするシューズのソール構造体。
【請求項2】
請求項1において、
シューズの着地時には、前記柱状部材が前記第2のプレートの前記傾斜部を下方に弾性変形させるとともに、シューズの離地時には、前記柱状部材が前記上端を介して前記第1のプレートに対し、斜め前方に弾性反発力を作用させている、
ことを特徴とするシューズのソール構造体。
【請求項3】
請求項1において、
前記第1、第2のプレートおよび前記柱状部材が、いずれも硬質樹脂製であって、一体成形されている、
ことを特徴とするシューズのソール構造体。
【請求項4】
請求項1において、
前記第2のプレートが、複数の波形状部を有する波形プレートである、
ことを特徴とするシューズのソール構造体。
【請求項5】
請求項1において、
前記空隙が、前記各柱状部材に対応して複数個設けられている、
ことを特徴とするシューズのソール構造体。
【請求項6】
請求項1において、
前記第2のプレートの下方には、当該第2のプレートとの間に間隔を隔てて配置された第3のプレートが設けられており、前記空隙が、これら第2、第3のプレートにより形成されている、
ことを特徴とするシューズのソール構造体。
【請求項7】
請求項6において、
前記第2、第3のプレートが、各々複数の波形状部を有する波形プレートである、
ことを特徴とするシューズのソール構造体。
【請求項8】
請求項7において、
前記第2のプレートの上方への膨出部および前記第3のプレートの下方への膨出部が上下に対向配置されている、
ことを特徴とするシューズのソール構造体。
【請求項9】
請求項8において、
前記第2のプレートの下方への膨出部および前記第3のプレートの上方への膨出部が連結されている、
ことを特徴とするシューズのソール構造体。
【請求項10】
請求項1において、
当該ソール構造体がシューズの踵部に設けられている、
ことを特徴とするシューズのソール構造体。
【図1】


【図2】


【図3】


【図4】


【図5】


【図6】


【図7】


【図8】


【図9】


【図9A】


【図10】


【図11】


【図12】


【図13】




【図2】


【図3】


【図4】


【図5】


【図6】


【図7】


【図8】


【図9】


【図9A】


【図10】


【図11】


【図12】


【図13】


【公開番号】特開2013−17604(P2013−17604A)
【公開日】平成25年1月31日(2013.1.31)
【国際特許分類】
【出願番号】特願2011−152389(P2011−152389)
【出願日】平成23年7月9日(2011.7.9)
【出願人】(000005935)美津濃株式会社 (239)
【Fターム(参考)】
【公開日】平成25年1月31日(2013.1.31)
【国際特許分類】
【出願日】平成23年7月9日(2011.7.9)
【出願人】(000005935)美津濃株式会社 (239)
【Fターム(参考)】
[ Back to top ]