推進力増強靴
【課題】 装着時の不安定感や左右方向のブレを無くし、しかも歩行や走行時における推進力を確実に増幅することができるようにする。
【解決手段】 推進力増強靴1は、靴本体2と靴底3とを有する通常の靴と同様の基本構造を有するものであって、靴底の踵部には衝撃吸収手段として衝撃吸収ユニット4が組み込まれ、その前方には力方向変換伝達制御手段5が組み込まれ、更にその前方には、足の中足骨下部に位置する推進力増幅手段としての推進力増幅ユニット6が組み込まれている。
【解決手段】 推進力増強靴1は、靴本体2と靴底3とを有する通常の靴と同様の基本構造を有するものであって、靴底の踵部には衝撃吸収手段として衝撃吸収ユニット4が組み込まれ、その前方には力方向変換伝達制御手段5が組み込まれ、更にその前方には、足の中足骨下部に位置する推進力増幅手段としての推進力増幅ユニット6が組み込まれている。
【発明の詳細な説明】
【技術分野】
【0001】
本発明は、人が歩いたり、走ったりする際に、その前進する力を増強するように設計された推進力増強靴に関する。
【背景技術】
【0002】
従来、歩行や走行を補助する機能を備えた靴としては以下のようなものが知られている。
【0003】
靴本体の下部に凸弧状部と凹弧状部とそれらの中間に位置する直線状部とを有するバネ機構部を設け、当該靴を履いて歩くと前記バネ機構部によって、上方へ付勢されるようにした靴が知られている。
【0004】
しかしながら、該靴は靴本体が地面から高い位置にあり、また前記バネ機構部が歩行時には大きく上下動するため、非常に不安定な状態となった。
【0005】
また、靴底に形成された凹部に、異なる弾性を有する種々の衝撃吸収部材を着脱自在に嵌め込んで、クッション性を調整するようにした靴や踵部と中足骨下部に二重構造の弾性体が押し込まれたトレーニングシューズも知られている。しかしながら、前記靴には歩行や走行の際の推進力を増す機能は全くなかった。
【0006】
この他、靴本体の踵部の後縁部をヒールカットして、疾走エネルギー損失を低減するようにした靴も知られているが、前記踵部の後縁部の衝撃エネルギーを推進力に変換するような機能はなかった。
【0007】
更に、靴本体の踵部及び中足骨下部において、歩行や走行時の振動吸収や緩衝機能を有する凹型溝が形成されたマットを埋め込んだソール付の靴や靴本体の踵下部に交換可能なバネを組み込んだ靴も開発されている。
【先行技術文献】
【特許文献】
【0008】
【特許文献1】特公平7−79724号公報
【特許文献2】特表2001−511376号公報
【特許文献3】特開平10−66604号公報
【特許文献4】特開平8−280404号公報
【特許文献5】登録実用新案第3095615号公報
【特許文献6】特開平10−262706号公報
【特許文献7】特表2008−501482号公報
【特許文献8】実開平7−20809号公報
【特許文献9】特開2004−181182号公報
【発明の概要】
【発明が解決しようとする課題】
【0009】
前述した靴の場合、歩行や走行時に衝撃を吸収する機構は有するが、その衝撃力を推進力に変換したり、或いは推進力を増幅して加速したり、靴の左右のブレを減少させたり、方向転換を容易にするといった機能はなかった。
【0010】
本発明の目的は、簡単な構造で、歩行や走行等の際に、衝撃力を推進力に変換・増幅して加速することができ、しかも左右方向のブレを無くして安定性を維持することができる靴を提供することにある。
【課題を解決するための手段】
【0011】
本発明の発明者は、人が靴を履いて歩行や走行を行う際の靴に加わる力を解析して、人の脚力を有効に利用することができるメカニズムを見出し、後述する靴を完成させたものである。そして、先ず、本発明に係る靴に組み込まれた構成要素を以下に総括的に説明する。
【0012】
本発明に係る靴は、歩行や走行の際、足の屈折運動に追随するものであって、靴が受けた衝撃力を足の運動に連動して効率的に力を方向転換すると共に、これを推進力の増幅に寄与せしめて、加速力を増すようにしたものである。具体的には、衝撃吸収要素、力方向転換伝達制御要素、推進力増幅要素等を有するものである。
【0013】
衝撃吸収要素は、靴の踵下部に一つ又はそれ以上独立して有り、その各々の下部に、上下方向に作用する複数の弾性体が介在され、それらの弾性体が直接靴底足底部と靴底接地部を支持し、可変弾性率である各弾性体に対して各々一つ又はそれ以上独立して作用する。具体的には、同心円状又は筒状の上下方向可動機構は靴底足底部の略板状衝撃吸収要素に固定された上側半部と靴底接地部内側に固定された下側半部とを有しており、上側半部内には下側が開口した大径有底筒状部材が設けられ、下側半部内には上側が開口した小径有底筒状部材が設けられ、小径有底筒状部材は大径有底筒状部材内に進入自在となされており、これら筒状部材内には上下方向に伸びるコイルスプリング又は上部から見て、円柱形、ドーナツ状又はU字型の空気弾性体が嵌め込まれている。
【0014】
略板状衝撃吸収要素の下部にはやや前方向に下向きに且つ斜めに内心と外皮で覆われている押しワイヤー(内心が外皮の中を抵抗が少なく動く)が連結されており、これがコイルスプリング又はドーナツ状の空気弾性体の中空部を通って力方向変換伝達制御要素の衝撃吸収側と左右が同一側に連結し、それらは再び左右が同一側の推進力増幅要素へと連結している。
【0015】
また、衝撃吸収要素としては、全体が球形、楕円形もしくは、ドーナツ型であって、内部に空気又は不活性ガスが封入されたもの(以下、これらを総称して空気タンクという)があり、また独立した空気タンクから各々空気チューブが方向転換伝達制御要素の衝撃吸収側と左右が同一の側に連結しており、又それらは左右が同一側の推進力増幅要素へ連結している。
【0016】
本発明では、推進力強化要素として、靴の屈折部例えば、拇指下部、拇指側部、拇指上部、中足骨下部(拇指球)、中足骨側部、足首部、足首と甲被部の間に戻りスプリングが嵌めこまれている。
【0017】
前記戻りスプリングが靴底に取り付けられている場合は該スプリングの両端は、平板状となっており、前記戻りスプリングが靴側面に取り付けられている場合には、その両端は球状に整形されており、そして、該戻りスプリングが靴から突出しないように靴本体に一体に形成された袋状部に収められる。
【0018】
推進力強化要素は、靴本体を構成する、例えばゴム、布、革或いは合成皮革の中に埋め込まれている。
【0019】
本発明では、力方向変換伝達制御要素は、独立した一つ以上の衝撃吸収板下部から押しワイヤー、空気チューブの圧力、シーソーアームの押し圧、又はトグル機構から伝達される力をベクトル変換する機能を有する。
【0020】
本発明に係る靴におけるシーソー装置は、一つ以上あり独立した踵側に位置するシーソーアームの一つの端が踵部下部の撃吸収板下部に連結しており、その上下運動が衝撃吸収弾性体の上下運動に妨害されない形態で空間が保たれている。シーソーアームの全体形状は、略円弧形状をしており、戻りスプリングが装着された支点を中心としてその左右が衝撃吸収要素と推進部に連結されている。
【0021】
本発明に係る靴におけるトグル装置は、その作用点が踵下部にあり、該部に加わった押圧力を爪先側へ伝えて推進力を生む機能を有する。
【0022】
推進力強化手段は、例えば、拇指下部、拇指上部、中足骨上・下部(拇指球)、甲被上・側部に配置され、強化プラスチック、軽金属等で出来た戻りスプリングの力を利用して推進力を増強する機能を有するものである。すなわち、靴を水平状態を保持するように止めが付いているが、屈折する時は、その方向に曲がり力を溜め、蹴る際は、戻りスプリングに蓄積した力を短い時間で放出する事により、加速して地面を蹴る機能を有する。
【0023】
請求項1記載の本発明は、踵部に設けられ、歩行や走行等の際における踵部の着地時における衝撃を吸収する衝撃吸収手段と、衝撃吸収手段で吸収した衝撃力を爪先方向の力に変換して伝達する力方向変換伝達制御手段と、爪先部(具体的には中足骨下部と拇指下部等)に設けられ、力方向変換伝達制御手段からの力を利用して推進時に爪先側部を押し上げる推進力増幅手段とを有しており、力方向変換伝達制御手段は、衝撃吸収手段から推進力増幅手段への力の伝達速度に対して、その反動としての推進力増幅手段から衝撃吸収手段への力の伝達速度を抑制する機能を有している推進力増強靴である。
【0024】
請求項2記載の本発明は、前記請求項1記載の推進力増強靴について、力伝達媒体が空気であって、衝撃吸収手段が内部にバネを有する空気タンクであり、推進力増幅手段が空気タンクであり、力方向変換伝達制御手段が衝撃吸収手段と推進力増幅手段間で空気の流れを制御する流路を備えた略中空状部であることを特徴とするものである。
【0025】
請求項3記載の本発明は、前記請求項1記載の推進力増強靴について、力伝達媒体がワイヤーであり、衝撃吸収手段がコイルバネであり、推進力増幅手段が空気タンクであり、力方向変換伝達制御手段が衝撃吸収手段と推進力増幅手段間でワイヤーを挿通したプーリーおよび挿通パイプ並びに緩衝部材であることを特徴とするものである。
【0026】
請求項4記載の本発明は、前記請求項1記載の推進力増強靴について、力伝達媒体が中央に戻りスプリングを有するヒンジを介して前後方向に連結された第一アームと第二アームを有するシーソー装置であって、衝撃吸収手段が踵部に位置するスプリング付の第一アームであり、推進力増幅手段が空気タンクであり、力方向変換伝達制御手段が前記ヒンジから爪先部へ伸びる第二アームと第二アームが挿通された挿通パイプであり、力伝達制御手段が推進力増幅手段から衝撃吸収手段への第二アームの移動を抑制する抑制機構を備えたことを特徴とするものである。
【0027】
請求項5記載の本発明は、前記請求項1記載の推進力増強靴について、力伝達媒体が中央に戻りスプリングを有するヒンジを介して前後方向に連結された第一アームと第二アームを有するトグル装置であって、衝撃吸収手段が踵部に位置する第一アームであり、推進力増幅手段が空気タンクであり、力方向変換伝達制御手段が前記ヒンジから爪先部へ伸びる第二アームと第二アームが挿通された挿通パイプであり、力伝達制御手段が推進力増幅手段から衝撃吸収手段への第二アームの移動を抑制する抑制機構を備えたことを特徴とするものである。
【0028】
請求項6記載の本発明は、前記請求項1〜請求項5のうちのいずれか一項の推進力増強靴について、各手段が左右一対で互いに独立して設けられたことを特徴とするものである。
【0029】
請求項7記載の本発明は、請求項1〜請求項6のうちのいずれか一項記載の推進力増強靴について、靴本体に一又は複数の推進力強化手段が付加されたことを特徴とするものである。
【0030】
請求項8記載の本発明は、前記請求項1〜請求項7のうちのいずれか一項記載の推進力増強靴について、靴本体の甲被部にボールを逆回転させるボールコントロール用空気タンクが設けられたことを特徴とするものである。また更に、請求項9として、靴踵部内壁に足首・踵後部と密着する足・靴踵部密着支援手段を有する。
【発明の効果】
【0031】
本発明に係る靴によれば、これを履いて歩行や走行を行った場合、踵部における衝撃吸収手段で着地時の衝撃が吸収されると共に、力方向転換伝達制御手段によって、前記衝撃力が爪先側への力のベクトル変換となって伝達され、そして、爪先側では、前記伝達された力を推進力増幅手段によって、押し上げ力として作用させ、その結果、靴の使用者が地面を蹴る際の蹴り力(推進力)が増幅されるという格別の効果を有する。また、このような推進力増強において、力方向変換伝達制御手段が前記踵部側から爪先側への力伝達を迅速に行う一方、その反作用としての逆方向への力伝達を抑制する結果、前記推進力増強が所定の時間、タイミングで確実に維持される。
【0032】
更に、推進力強化手段を更に有する本発明によれば、歩行や走行時におけり靴本体の屈折の際に、靴底のゴムの反発力に加えて、同期的に推進力が加勢されて更なる推進力増強が図られる。
【0033】
また、各手段が左右独立して設けられた本発明によれば、歩行や走行の際に靴底に加わる衝撃力が左右で異なる場合でも、これに対応して各手段が左右独立に機能するため、前述した種々の効果が確実に得られる。
【0034】
また、甲被部にボールコントロール用空気タンクを備えた本発明の靴によれば、前述した推進力増強に加えて、サッカー等におけるボールの逆回転が容易に行えるため、多彩なプレーが簡単に実現されるという利点を有する。
【図面の簡単な説明】
【0035】
【図1】実施形態に係る靴の側面図であって、着地当初の状態を示す。
【図2】同実施形態に係る靴の側面図であって、完全に着地した状態を示す。
【図3】同実施形態に係る靴の側面図であって、地面を蹴り出す状態を示す。
【図4】同実施形態に係る靴の底面図である。
【図5】同実施形態に係る靴の側面図であって、ボールを蹴る状態を示す。
【図6】実施形態1に係る靴底部の側面断面図である。
【図7】実施形態2に係る靴底部の側面断面図である。
【図8】実施形態3に係る靴底部の側面断面図である。
【図9】同実施形態における中空状部材内の拡大図であって、踵部に加重が加わっていない状態を示す。
【図10】同実施形態における中空状部材内の拡大図であって、踵部に加重が加わっている状態を示す。
【図11】実施形態4に係る靴底部の側面断面図である。
【図12】同実施形態における挿通パイプ内の拡大図であって、踵部に加重が加わっていない状態を示す。
【図13】同実施形態における挿通パイプ内の拡大図であって、踵部に加重が加わっている状態を示す。
【図14】実施形態5に係る靴底部の側面断面図である。
【図15】実施形態6に係る靴底部の側面断面図である。
【図16】実施形態7に係る靴の側面図であって、完全に着地した状態を示す。
【図17】同実施形態に係る靴の側面図であって、地面を蹴り出す状態を示す。
【図18】実施形態8に係る靴の側面図であって、完全に着地した状態を示す。
【図19】同実施形態に係る靴の側面図であって、地面を蹴り出す状態を示す。
【図20】同実施形態に係る靴の底面図である。
【図21】実施形態9に係る靴の底面図である。
【図22】実施形態10に係る靴踵部の断面図である。
【図23】実施形態11に係る力伝達制御の一例を示す図である。
【発明を実施するための形態】
【0036】
次に、本発明の実施形態を図面にしたがって説明するが、本発明は係る実施形態に限定されるものではない。
【0037】
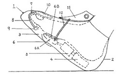
先ず、以下に説明する各実施形態の靴の基本概念について説明すると、図1〜図4に示すように、推進力増強靴1は、靴本体2と靴底3とを有する通常の靴と同様の基本構造を有するものであって、靴底3の踵部には衝撃吸収手段として後述する衝撃吸収ユニット4が組み込まれ、その前方には力方向変換伝達制御手段5が組み込まれ、更にその前方には、足の中足骨下部に位置する推進力増幅手段としての推進力増幅ユニット6が組み込まれている。
【0038】
また、靴1の爪先部には、推進力補助装置7が組み込まれ、推進力補助装置7はチューブ8と、その甲被部側端に連成された甲被部タンク10と、チューブ8の拇指部側端に連成された拇指部タンク9とを有している。
【0039】
更に、靴本体2の甲被部上側には空気パット11が取り付けられ、該空気パット11と推進力増幅ユニット6の空気タンク6Aはチューブ12によって、連通されている。
【0040】
推進力補助装置7は、その甲被部タンク10に封入された空気が図3の状態において、チューブ8を介して拇指部タンク9に空気が流入することで、靴1の推進力を更に増幅させる。なお、空気チューブ8および12は、いずれも内周に甲被部タンク10への空気の流通を抑制するための襞が長さ方向に多数形成されている。
【0041】
また、空気パット11は、図3の状態において、チューブ12を介して推進力増幅ユニット6の空気タンク6Aに空気を流入させることで、靴1の推進力を更に増幅させる。更にまた、空気パット11は側面からに見て略三角形であり、且つ両側縁から幅中央部分に向かって高くなった形状であり、これによって、図5に示すように、蹴ったボールBを逆回転させる機能を有し、13はその空気調整弁を示す。
【0042】
なお、推進力増幅ユニット6は、空気タンク6Aとその上方に位置する推進板6Bを備えている。
【0043】
また、図4に示すように、前述した衝撃吸収ユニット4、力方向変換伝達制御手段5および推進力増幅ユニット6は、左右に独立した一対のものとして設けられており、これにより左右方向の加重の偏りに対応して作用するようになされている。
【0044】
(実施形態1)
【0045】
図6に示すように、靴21は、衝撃吸収ユニット24と、略中空状部22と、推進力増幅ユニット26とを備えている。
【0046】
衝撃吸収ユニット24は、内部に弾性体である空気タンクが設けられた、横断面凹形の本体24aと横断面逆凹形の蓋体24bとからなる所謂弁当箱状であって、内部にはカバーチューブ23に挿通されたワイヤー27の一端が固定され、ガイドローラ−28を介して略中空状部22側へ方向変換されるものである。略中空状部22の基部には挿通パイプ30が固定され、更にこれに隣接して小コイルバネを有する緩衝部材29が設けられ、これら部材に通されたワイヤー27の先端にコイルバネ31が連結され、コイルバネ31の先端側に連結されたワイヤー32の爪先側にはヒンジ33を介して推進板6Bが固定され、その上方に推進用の空気タンク6Aが配置されている。
【0047】
また、本実施形態では、前記コイルバネ31も衝撃吸収手段として作用する。力方向転換伝達手段としては、ワイヤー27・32、ガイドローラ−28、挿通パイプ30、緩衝部材29および略中空状部22が挙げられる。
【0048】
本実施形態の靴21では、踵部の衝撃吸収ユニット24が歩行や走行の際に、加重されることにより、ワイヤー27が爪先側へ移動すると共に、コイルバネ31が縮小することで衝撃を吸収し、更に、ワイヤー32を介して推進板6Bが上昇し、これに伴って、推進用空気タンク6Aが押し上げられる結果、歩行や走行時における靴21の蹴りの際に、前記空気タンク6Aによって、より強い蹴り力が得られる。
【0049】
また、略中空状部22内では、衝撃吸収ユニット24に加重された場合には、その衝撃力がワイヤー27・32を介して推進力増幅ユニット26側へ即座に伝えられるのに対して、その反動としての逆方向への力は緩衝部材29によって抑制される。
【0050】
(実施形態2)
【0051】
図7に示すように、靴41は、衝撃吸収ユニット44と、略中空状部43と、推進力増幅ユニット46とを備えている。
【0052】
衝撃吸収ユニット44は、所謂弁当箱状であって、内部にはコイルバネが収容された空気タンク47が有り、チューブ45を介して略中空状部43と連通している。また、略中空状部43内には推進力増幅ユニット46側への空気の流れをスムーズに行う一方、衝撃吸収ユニット44側への空気の流れを抑制するように設計された流路43aが形成されている。
【0053】
本実施形態では、チューブ45と略中空状部43とが力方向変換伝達制御手段として機能している。
【0054】
本実施形態の靴41によれば、歩行や走行時の踵部への加重を衝撃吸収ユニット44が受け、その圧縮の際に、空気がチューブ45を介して略中空状部43へ流入し、更に推進力増幅ユニット46における空気タンク46Aに流入して該タンク46Aが上方に膨張する結果、推進板46Bを介して推進力が増幅される。
【0055】
(実施形態3)
【0056】
図8に示すように、靴51は、衝撃吸収ユニット54と、略中空状部53と、推進力増幅ユニット56とを備えている。
【0057】
衝撃吸収ユニット54は、所謂弁当箱状であって、内部にはコイルバネ57が収容され、チューブ55を介して略中空状部53と連通している。また、略中空状部53内には推進力増幅ユニット56側への空気の流れをスムーズに行う一方、衝撃吸収ユニット54側への空気の流れを抑制する機構53aが設けられている。すなわち、図9および図10に示すように、抑制機構53aは、チューブ55の先端部に形成されたラッパ状部58と、ラッパ状部58の開口を閉止し得る球体52と、該球体52をラッパ状部58側へ付勢するコイルバネ59と、コイルバネ59が嵌め込まれた筒状部50Aが一体に形成されたベース部材50Bとを有している。前記球体52は中空状であって、表面全面に多数の通気孔52aが形成されている。そして、空気の移動がない通常の場合には、図9に示すように、コイルバネ59に押圧された球体52がラッパ状部58の開口を閉止しており、チューブ55を介して衝撃吸収ユニット54側から推進力増幅ユニット56側へ空気が移動する場合には、図10に示すように、コイルバネ59の弾発力に抗して球体52が推進力増幅ユニット56側へ移動してラッパ状部58の開口が開けられる結果、衝撃吸収ユニット54側から推進力増幅ユニット56側へ空気の移動が迅速に行われる。一方、推進力増幅ユニット56側から衝撃吸収ユニット54側への空気の移動は、図9の状態において、球体52の通気孔52aを介して行われるため、該空気の移動が抑制されることとなる。
【0058】
本実施形態によれば、歩行や走行時の踵部への加重を衝撃吸収ユニット54が受け、その圧縮の際に、空気がチューブ55を介して略中空状部53へ流入し、更に推進力増幅ユニット56における空気タンク56Aに流入して該タンク56Aが上方に膨張する結果、推進板56Bを介して推進力が増幅される。
【0059】
また、本実施形態では、衝撃吸収ユニット54側から推進力増幅ユニット56側への空気の流れは、コイルバネ59に抗して球体52がラッパ状部58から離れるため、スムーズに行われる一方、逆方向の空気の流れは、球体52がラッパ状部58に当接して開口を閉止するため、抑制されることとなる。
【0060】
(実施形態4)
【0061】
図11に示すように、本実施形態の靴61は、全体がシーソー構造のものである。すなわち、靴61の力伝達媒体が中央に戻りスプリング62を有するヒンジ63を介して前後方向に連結された第一アーム64と第二アーム60を有するシーソー装置であって、衝撃吸収手段が踵部の衝撃吸収ユニット68内に位置するスプリング69付の第一アーム64であり、推進力増幅手段が空気タンク65Aおよび推進板65Bからなる推進力増幅ユニット65であり、力方向変換伝達制御手段が前記ヒンジ63から爪先側部へ伸びる第二アーム60と第二アーム60が挿通された挿通パイプ66と挿通パイプ66内に収容された緩衝部材としてのコイルバネ67を有する。
【0062】
本実施形態の靴61によれば、歩行や走行の際、弁当箱状の衝撃吸収ユニット68が加重されると、これに伴って第一アーム64が押し下げられる一方、第二アーム60側が上昇して空気タンク65Aにより推進力が増幅される。
【0063】
また、力の伝達について説明すると、図12および図13に示すように、衝撃吸収ユニット68が歩行や走行に伴って、下方へ押圧された場合には、これに伴って第一アームが押し下げられ、第二アーム60が上昇するが、この際、コイルバネ67内にある第二アーム60は図13に示すように、コイルバネ67内で上方へスムーズに移動する。一方、第二アーム60が下がる場合には、図12に示すように、第二アーム60がコイルバネ67の弾発力に抗することとなるため、その移動が抑制される。なお、コイルバネ67にはシャフト67aが挿通されている。
【0064】
なお、図中65Cは小ヒンジを示す。
【0065】
(実施形態5)
【0066】
図14に示すように、本実施形態の靴71は、全体がトグル構造のものである。すなわち、靴71の力伝達媒体が中央に戻りスプリング72を有するヒンジ73を介して前後方向に連結された第一アーム74と第二アーム75を有するトグル装置であって、衝撃吸収手段が踵部の衝撃吸収ユニット76内に位置する第一アーム74であり、推進力増幅手段が空気タンク77Aおよび推進板77Bからなる推進力増幅ユニット77であり、力方向変換伝達制御手段が前記ヒンジ73から爪先側部へ伸びる第二アーム75と第二アーム75が挿通された挿通パイプ78と小コイルバネを有する緩衝部材79である。なお、図中70はスライド部材を示す。
【0067】
本実施形態の靴71によれば、歩行や走行の際、弁当箱状の衝撃吸収ユニット76が加重されると、これに伴ってヒンジ73が押し下げられ、その反動として推進力増幅ユニット77の空気タンク77Aが上昇して推進力が増幅される。
【0068】
また、力の伝達については、緩衝部材79および挿通パイプ78によって、推進力増幅ユニット77側から衝撃吸収ユニット76側への伝達が抑制される。
【0069】
なお、図中77Cは小ヒンジを示す。
【0070】
(実施形態6)
【0071】
図15に示すように、本実施形態は、各実施形態に係る靴81の底部における保護カバーの装着構造であって、靴底部の保護カバー82が長ビス83によって装着されたものである。
【0072】
そして、保護カバー82の内側には前述した各実施形態の推進力増強装置が内蔵される。
【0073】
(実施形態7)
【0074】
図16および図17に示すように、本実施形態は、前述した各実施形態における靴の推進力増強を更に増すためのものである。
【0075】
すなわち、本実施形態の推進力強化手段は、靴本体84における甲被部や拇指下部および中足骨下部等に袋状部85を形成し、該袋状部85内に戻りスプリング86を靴側面に装着したものである。
【0076】
本実施形態によれば、図17に示すように、歩行または走行時に靴本体84が屈折する際に、力が蓄積され、これが蹴りの際に前記各戻りスプリング86のバネ力によって付勢されるため、推進力が強化される。
【0077】
また、靴本体84の内壁後部には、足・靴踵部密着支援手段としての面ファスナー80を介して使用者の靴下と靴本体84の内壁後部が常に密着されるようになされており、これによって、踵部での力のロスが防止される。
【0078】
なお、前記面ファスナー80に代えて、ホックやジッパー等の他の連結手段を用いても良い。
【0079】
(実施形態8)
【0080】
図18〜図20に示すように、本実施形態も前記実施形態7と同様、戻りスプリング88による推進力強化手段であり、本実施形態では、戻りスプリング88の両端に平板状部88aが形成されて、推進力強化が更に向上するようになされている。
【0081】
(実施形態9)
【0082】
図21に示すように、本実施形態も前記実施形態8と同様、戻りスプリング91と該スプリング91に一体に組み合わされたヒンジ部材92によって推進力強化を行うものである。
【0083】
(実施形態10)
【0084】
図22に示すように、本実施形態は、靴101における衝撃吸収ユニット102の一例を示すものであり、この構造は前記各実施形態の靴に適用される。
【0085】
すなわち、靴本体103の底部は中空状とされ、保護カバー104によって閉止され、該カバー104は長ビス105で底部に固定されている。そして、踵部には衝撃吸収ユニット102が配置され、左右に独立した弁当箱状部材107とその内部に収容されたコイルバネ108と、弁当箱状部材107に載置されたゴム製等の衝撃吸収板109とが組み込まれている。
【0086】
なお、図中100は、左右方向へのブレ防止用ダムを示す。
【0087】
(実施形態11)
【0088】
図23に示すように、本実施形態は、前記各実施形態の靴における力方向変換伝達制御手段における力伝達制御のための装置を一例である。
【0089】
すなわち、踵部側のワイヤー110Aの先端にコイルバネ112が一体に連結され、更にその先端側には略三角形部材113が設けられ、更に、その先端側のワイヤー110Bにはスライダー114が装着されており、略三角形部材113の両側面には、進退自在なローラー115が当接するようになされている。
【0090】
本装置によれば、図面右側の踵部側から図面左側の爪先側への力伝達はそのまま行われる一方、逆方向への力伝達は、略三角形部材113に対するローラー115の当接によって、抑制されるようになされている。
【産業上の利用可能性】
【0091】
本発明に係る靴は、単に歩行や走行時の衝撃を吸収する機能だけでなく、推進力を増強する機能をも具備するため、幅広い利用が期待できる。
【符号の説明】
【0092】
1 靴
2 靴本体
3 靴底
4 衝撃吸収ユニット
5 力方向変換伝達手段
6 推進力増幅ユニット
7 推進力補助装置
8 チューブ
9 拇指部タンク
10 甲被部タンク
11 空気パット
12 空気チューブ
13 空気調整弁
【技術分野】
【0001】
本発明は、人が歩いたり、走ったりする際に、その前進する力を増強するように設計された推進力増強靴に関する。
【背景技術】
【0002】
従来、歩行や走行を補助する機能を備えた靴としては以下のようなものが知られている。
【0003】
靴本体の下部に凸弧状部と凹弧状部とそれらの中間に位置する直線状部とを有するバネ機構部を設け、当該靴を履いて歩くと前記バネ機構部によって、上方へ付勢されるようにした靴が知られている。
【0004】
しかしながら、該靴は靴本体が地面から高い位置にあり、また前記バネ機構部が歩行時には大きく上下動するため、非常に不安定な状態となった。
【0005】
また、靴底に形成された凹部に、異なる弾性を有する種々の衝撃吸収部材を着脱自在に嵌め込んで、クッション性を調整するようにした靴や踵部と中足骨下部に二重構造の弾性体が押し込まれたトレーニングシューズも知られている。しかしながら、前記靴には歩行や走行の際の推進力を増す機能は全くなかった。
【0006】
この他、靴本体の踵部の後縁部をヒールカットして、疾走エネルギー損失を低減するようにした靴も知られているが、前記踵部の後縁部の衝撃エネルギーを推進力に変換するような機能はなかった。
【0007】
更に、靴本体の踵部及び中足骨下部において、歩行や走行時の振動吸収や緩衝機能を有する凹型溝が形成されたマットを埋め込んだソール付の靴や靴本体の踵下部に交換可能なバネを組み込んだ靴も開発されている。
【先行技術文献】
【特許文献】
【0008】
【特許文献1】特公平7−79724号公報
【特許文献2】特表2001−511376号公報
【特許文献3】特開平10−66604号公報
【特許文献4】特開平8−280404号公報
【特許文献5】登録実用新案第3095615号公報
【特許文献6】特開平10−262706号公報
【特許文献7】特表2008−501482号公報
【特許文献8】実開平7−20809号公報
【特許文献9】特開2004−181182号公報
【発明の概要】
【発明が解決しようとする課題】
【0009】
前述した靴の場合、歩行や走行時に衝撃を吸収する機構は有するが、その衝撃力を推進力に変換したり、或いは推進力を増幅して加速したり、靴の左右のブレを減少させたり、方向転換を容易にするといった機能はなかった。
【0010】
本発明の目的は、簡単な構造で、歩行や走行等の際に、衝撃力を推進力に変換・増幅して加速することができ、しかも左右方向のブレを無くして安定性を維持することができる靴を提供することにある。
【課題を解決するための手段】
【0011】
本発明の発明者は、人が靴を履いて歩行や走行を行う際の靴に加わる力を解析して、人の脚力を有効に利用することができるメカニズムを見出し、後述する靴を完成させたものである。そして、先ず、本発明に係る靴に組み込まれた構成要素を以下に総括的に説明する。
【0012】
本発明に係る靴は、歩行や走行の際、足の屈折運動に追随するものであって、靴が受けた衝撃力を足の運動に連動して効率的に力を方向転換すると共に、これを推進力の増幅に寄与せしめて、加速力を増すようにしたものである。具体的には、衝撃吸収要素、力方向転換伝達制御要素、推進力増幅要素等を有するものである。
【0013】
衝撃吸収要素は、靴の踵下部に一つ又はそれ以上独立して有り、その各々の下部に、上下方向に作用する複数の弾性体が介在され、それらの弾性体が直接靴底足底部と靴底接地部を支持し、可変弾性率である各弾性体に対して各々一つ又はそれ以上独立して作用する。具体的には、同心円状又は筒状の上下方向可動機構は靴底足底部の略板状衝撃吸収要素に固定された上側半部と靴底接地部内側に固定された下側半部とを有しており、上側半部内には下側が開口した大径有底筒状部材が設けられ、下側半部内には上側が開口した小径有底筒状部材が設けられ、小径有底筒状部材は大径有底筒状部材内に進入自在となされており、これら筒状部材内には上下方向に伸びるコイルスプリング又は上部から見て、円柱形、ドーナツ状又はU字型の空気弾性体が嵌め込まれている。
【0014】
略板状衝撃吸収要素の下部にはやや前方向に下向きに且つ斜めに内心と外皮で覆われている押しワイヤー(内心が外皮の中を抵抗が少なく動く)が連結されており、これがコイルスプリング又はドーナツ状の空気弾性体の中空部を通って力方向変換伝達制御要素の衝撃吸収側と左右が同一側に連結し、それらは再び左右が同一側の推進力増幅要素へと連結している。
【0015】
また、衝撃吸収要素としては、全体が球形、楕円形もしくは、ドーナツ型であって、内部に空気又は不活性ガスが封入されたもの(以下、これらを総称して空気タンクという)があり、また独立した空気タンクから各々空気チューブが方向転換伝達制御要素の衝撃吸収側と左右が同一の側に連結しており、又それらは左右が同一側の推進力増幅要素へ連結している。
【0016】
本発明では、推進力強化要素として、靴の屈折部例えば、拇指下部、拇指側部、拇指上部、中足骨下部(拇指球)、中足骨側部、足首部、足首と甲被部の間に戻りスプリングが嵌めこまれている。
【0017】
前記戻りスプリングが靴底に取り付けられている場合は該スプリングの両端は、平板状となっており、前記戻りスプリングが靴側面に取り付けられている場合には、その両端は球状に整形されており、そして、該戻りスプリングが靴から突出しないように靴本体に一体に形成された袋状部に収められる。
【0018】
推進力強化要素は、靴本体を構成する、例えばゴム、布、革或いは合成皮革の中に埋め込まれている。
【0019】
本発明では、力方向変換伝達制御要素は、独立した一つ以上の衝撃吸収板下部から押しワイヤー、空気チューブの圧力、シーソーアームの押し圧、又はトグル機構から伝達される力をベクトル変換する機能を有する。
【0020】
本発明に係る靴におけるシーソー装置は、一つ以上あり独立した踵側に位置するシーソーアームの一つの端が踵部下部の撃吸収板下部に連結しており、その上下運動が衝撃吸収弾性体の上下運動に妨害されない形態で空間が保たれている。シーソーアームの全体形状は、略円弧形状をしており、戻りスプリングが装着された支点を中心としてその左右が衝撃吸収要素と推進部に連結されている。
【0021】
本発明に係る靴におけるトグル装置は、その作用点が踵下部にあり、該部に加わった押圧力を爪先側へ伝えて推進力を生む機能を有する。
【0022】
推進力強化手段は、例えば、拇指下部、拇指上部、中足骨上・下部(拇指球)、甲被上・側部に配置され、強化プラスチック、軽金属等で出来た戻りスプリングの力を利用して推進力を増強する機能を有するものである。すなわち、靴を水平状態を保持するように止めが付いているが、屈折する時は、その方向に曲がり力を溜め、蹴る際は、戻りスプリングに蓄積した力を短い時間で放出する事により、加速して地面を蹴る機能を有する。
【0023】
請求項1記載の本発明は、踵部に設けられ、歩行や走行等の際における踵部の着地時における衝撃を吸収する衝撃吸収手段と、衝撃吸収手段で吸収した衝撃力を爪先方向の力に変換して伝達する力方向変換伝達制御手段と、爪先部(具体的には中足骨下部と拇指下部等)に設けられ、力方向変換伝達制御手段からの力を利用して推進時に爪先側部を押し上げる推進力増幅手段とを有しており、力方向変換伝達制御手段は、衝撃吸収手段から推進力増幅手段への力の伝達速度に対して、その反動としての推進力増幅手段から衝撃吸収手段への力の伝達速度を抑制する機能を有している推進力増強靴である。
【0024】
請求項2記載の本発明は、前記請求項1記載の推進力増強靴について、力伝達媒体が空気であって、衝撃吸収手段が内部にバネを有する空気タンクであり、推進力増幅手段が空気タンクであり、力方向変換伝達制御手段が衝撃吸収手段と推進力増幅手段間で空気の流れを制御する流路を備えた略中空状部であることを特徴とするものである。
【0025】
請求項3記載の本発明は、前記請求項1記載の推進力増強靴について、力伝達媒体がワイヤーであり、衝撃吸収手段がコイルバネであり、推進力増幅手段が空気タンクであり、力方向変換伝達制御手段が衝撃吸収手段と推進力増幅手段間でワイヤーを挿通したプーリーおよび挿通パイプ並びに緩衝部材であることを特徴とするものである。
【0026】
請求項4記載の本発明は、前記請求項1記載の推進力増強靴について、力伝達媒体が中央に戻りスプリングを有するヒンジを介して前後方向に連結された第一アームと第二アームを有するシーソー装置であって、衝撃吸収手段が踵部に位置するスプリング付の第一アームであり、推進力増幅手段が空気タンクであり、力方向変換伝達制御手段が前記ヒンジから爪先部へ伸びる第二アームと第二アームが挿通された挿通パイプであり、力伝達制御手段が推進力増幅手段から衝撃吸収手段への第二アームの移動を抑制する抑制機構を備えたことを特徴とするものである。
【0027】
請求項5記載の本発明は、前記請求項1記載の推進力増強靴について、力伝達媒体が中央に戻りスプリングを有するヒンジを介して前後方向に連結された第一アームと第二アームを有するトグル装置であって、衝撃吸収手段が踵部に位置する第一アームであり、推進力増幅手段が空気タンクであり、力方向変換伝達制御手段が前記ヒンジから爪先部へ伸びる第二アームと第二アームが挿通された挿通パイプであり、力伝達制御手段が推進力増幅手段から衝撃吸収手段への第二アームの移動を抑制する抑制機構を備えたことを特徴とするものである。
【0028】
請求項6記載の本発明は、前記請求項1〜請求項5のうちのいずれか一項の推進力増強靴について、各手段が左右一対で互いに独立して設けられたことを特徴とするものである。
【0029】
請求項7記載の本発明は、請求項1〜請求項6のうちのいずれか一項記載の推進力増強靴について、靴本体に一又は複数の推進力強化手段が付加されたことを特徴とするものである。
【0030】
請求項8記載の本発明は、前記請求項1〜請求項7のうちのいずれか一項記載の推進力増強靴について、靴本体の甲被部にボールを逆回転させるボールコントロール用空気タンクが設けられたことを特徴とするものである。また更に、請求項9として、靴踵部内壁に足首・踵後部と密着する足・靴踵部密着支援手段を有する。
【発明の効果】
【0031】
本発明に係る靴によれば、これを履いて歩行や走行を行った場合、踵部における衝撃吸収手段で着地時の衝撃が吸収されると共に、力方向転換伝達制御手段によって、前記衝撃力が爪先側への力のベクトル変換となって伝達され、そして、爪先側では、前記伝達された力を推進力増幅手段によって、押し上げ力として作用させ、その結果、靴の使用者が地面を蹴る際の蹴り力(推進力)が増幅されるという格別の効果を有する。また、このような推進力増強において、力方向変換伝達制御手段が前記踵部側から爪先側への力伝達を迅速に行う一方、その反作用としての逆方向への力伝達を抑制する結果、前記推進力増強が所定の時間、タイミングで確実に維持される。
【0032】
更に、推進力強化手段を更に有する本発明によれば、歩行や走行時におけり靴本体の屈折の際に、靴底のゴムの反発力に加えて、同期的に推進力が加勢されて更なる推進力増強が図られる。
【0033】
また、各手段が左右独立して設けられた本発明によれば、歩行や走行の際に靴底に加わる衝撃力が左右で異なる場合でも、これに対応して各手段が左右独立に機能するため、前述した種々の効果が確実に得られる。
【0034】
また、甲被部にボールコントロール用空気タンクを備えた本発明の靴によれば、前述した推進力増強に加えて、サッカー等におけるボールの逆回転が容易に行えるため、多彩なプレーが簡単に実現されるという利点を有する。
【図面の簡単な説明】
【0035】
【図1】実施形態に係る靴の側面図であって、着地当初の状態を示す。
【図2】同実施形態に係る靴の側面図であって、完全に着地した状態を示す。
【図3】同実施形態に係る靴の側面図であって、地面を蹴り出す状態を示す。
【図4】同実施形態に係る靴の底面図である。
【図5】同実施形態に係る靴の側面図であって、ボールを蹴る状態を示す。
【図6】実施形態1に係る靴底部の側面断面図である。
【図7】実施形態2に係る靴底部の側面断面図である。
【図8】実施形態3に係る靴底部の側面断面図である。
【図9】同実施形態における中空状部材内の拡大図であって、踵部に加重が加わっていない状態を示す。
【図10】同実施形態における中空状部材内の拡大図であって、踵部に加重が加わっている状態を示す。
【図11】実施形態4に係る靴底部の側面断面図である。
【図12】同実施形態における挿通パイプ内の拡大図であって、踵部に加重が加わっていない状態を示す。
【図13】同実施形態における挿通パイプ内の拡大図であって、踵部に加重が加わっている状態を示す。
【図14】実施形態5に係る靴底部の側面断面図である。
【図15】実施形態6に係る靴底部の側面断面図である。
【図16】実施形態7に係る靴の側面図であって、完全に着地した状態を示す。
【図17】同実施形態に係る靴の側面図であって、地面を蹴り出す状態を示す。
【図18】実施形態8に係る靴の側面図であって、完全に着地した状態を示す。
【図19】同実施形態に係る靴の側面図であって、地面を蹴り出す状態を示す。
【図20】同実施形態に係る靴の底面図である。
【図21】実施形態9に係る靴の底面図である。
【図22】実施形態10に係る靴踵部の断面図である。
【図23】実施形態11に係る力伝達制御の一例を示す図である。
【発明を実施するための形態】
【0036】
次に、本発明の実施形態を図面にしたがって説明するが、本発明は係る実施形態に限定されるものではない。
【0037】
先ず、以下に説明する各実施形態の靴の基本概念について説明すると、図1〜図4に示すように、推進力増強靴1は、靴本体2と靴底3とを有する通常の靴と同様の基本構造を有するものであって、靴底3の踵部には衝撃吸収手段として後述する衝撃吸収ユニット4が組み込まれ、その前方には力方向変換伝達制御手段5が組み込まれ、更にその前方には、足の中足骨下部に位置する推進力増幅手段としての推進力増幅ユニット6が組み込まれている。
【0038】
また、靴1の爪先部には、推進力補助装置7が組み込まれ、推進力補助装置7はチューブ8と、その甲被部側端に連成された甲被部タンク10と、チューブ8の拇指部側端に連成された拇指部タンク9とを有している。
【0039】
更に、靴本体2の甲被部上側には空気パット11が取り付けられ、該空気パット11と推進力増幅ユニット6の空気タンク6Aはチューブ12によって、連通されている。
【0040】
推進力補助装置7は、その甲被部タンク10に封入された空気が図3の状態において、チューブ8を介して拇指部タンク9に空気が流入することで、靴1の推進力を更に増幅させる。なお、空気チューブ8および12は、いずれも内周に甲被部タンク10への空気の流通を抑制するための襞が長さ方向に多数形成されている。
【0041】
また、空気パット11は、図3の状態において、チューブ12を介して推進力増幅ユニット6の空気タンク6Aに空気を流入させることで、靴1の推進力を更に増幅させる。更にまた、空気パット11は側面からに見て略三角形であり、且つ両側縁から幅中央部分に向かって高くなった形状であり、これによって、図5に示すように、蹴ったボールBを逆回転させる機能を有し、13はその空気調整弁を示す。
【0042】
なお、推進力増幅ユニット6は、空気タンク6Aとその上方に位置する推進板6Bを備えている。
【0043】
また、図4に示すように、前述した衝撃吸収ユニット4、力方向変換伝達制御手段5および推進力増幅ユニット6は、左右に独立した一対のものとして設けられており、これにより左右方向の加重の偏りに対応して作用するようになされている。
【0044】
(実施形態1)
【0045】
図6に示すように、靴21は、衝撃吸収ユニット24と、略中空状部22と、推進力増幅ユニット26とを備えている。
【0046】
衝撃吸収ユニット24は、内部に弾性体である空気タンクが設けられた、横断面凹形の本体24aと横断面逆凹形の蓋体24bとからなる所謂弁当箱状であって、内部にはカバーチューブ23に挿通されたワイヤー27の一端が固定され、ガイドローラ−28を介して略中空状部22側へ方向変換されるものである。略中空状部22の基部には挿通パイプ30が固定され、更にこれに隣接して小コイルバネを有する緩衝部材29が設けられ、これら部材に通されたワイヤー27の先端にコイルバネ31が連結され、コイルバネ31の先端側に連結されたワイヤー32の爪先側にはヒンジ33を介して推進板6Bが固定され、その上方に推進用の空気タンク6Aが配置されている。
【0047】
また、本実施形態では、前記コイルバネ31も衝撃吸収手段として作用する。力方向転換伝達手段としては、ワイヤー27・32、ガイドローラ−28、挿通パイプ30、緩衝部材29および略中空状部22が挙げられる。
【0048】
本実施形態の靴21では、踵部の衝撃吸収ユニット24が歩行や走行の際に、加重されることにより、ワイヤー27が爪先側へ移動すると共に、コイルバネ31が縮小することで衝撃を吸収し、更に、ワイヤー32を介して推進板6Bが上昇し、これに伴って、推進用空気タンク6Aが押し上げられる結果、歩行や走行時における靴21の蹴りの際に、前記空気タンク6Aによって、より強い蹴り力が得られる。
【0049】
また、略中空状部22内では、衝撃吸収ユニット24に加重された場合には、その衝撃力がワイヤー27・32を介して推進力増幅ユニット26側へ即座に伝えられるのに対して、その反動としての逆方向への力は緩衝部材29によって抑制される。
【0050】
(実施形態2)
【0051】
図7に示すように、靴41は、衝撃吸収ユニット44と、略中空状部43と、推進力増幅ユニット46とを備えている。
【0052】
衝撃吸収ユニット44は、所謂弁当箱状であって、内部にはコイルバネが収容された空気タンク47が有り、チューブ45を介して略中空状部43と連通している。また、略中空状部43内には推進力増幅ユニット46側への空気の流れをスムーズに行う一方、衝撃吸収ユニット44側への空気の流れを抑制するように設計された流路43aが形成されている。
【0053】
本実施形態では、チューブ45と略中空状部43とが力方向変換伝達制御手段として機能している。
【0054】
本実施形態の靴41によれば、歩行や走行時の踵部への加重を衝撃吸収ユニット44が受け、その圧縮の際に、空気がチューブ45を介して略中空状部43へ流入し、更に推進力増幅ユニット46における空気タンク46Aに流入して該タンク46Aが上方に膨張する結果、推進板46Bを介して推進力が増幅される。
【0055】
(実施形態3)
【0056】
図8に示すように、靴51は、衝撃吸収ユニット54と、略中空状部53と、推進力増幅ユニット56とを備えている。
【0057】
衝撃吸収ユニット54は、所謂弁当箱状であって、内部にはコイルバネ57が収容され、チューブ55を介して略中空状部53と連通している。また、略中空状部53内には推進力増幅ユニット56側への空気の流れをスムーズに行う一方、衝撃吸収ユニット54側への空気の流れを抑制する機構53aが設けられている。すなわち、図9および図10に示すように、抑制機構53aは、チューブ55の先端部に形成されたラッパ状部58と、ラッパ状部58の開口を閉止し得る球体52と、該球体52をラッパ状部58側へ付勢するコイルバネ59と、コイルバネ59が嵌め込まれた筒状部50Aが一体に形成されたベース部材50Bとを有している。前記球体52は中空状であって、表面全面に多数の通気孔52aが形成されている。そして、空気の移動がない通常の場合には、図9に示すように、コイルバネ59に押圧された球体52がラッパ状部58の開口を閉止しており、チューブ55を介して衝撃吸収ユニット54側から推進力増幅ユニット56側へ空気が移動する場合には、図10に示すように、コイルバネ59の弾発力に抗して球体52が推進力増幅ユニット56側へ移動してラッパ状部58の開口が開けられる結果、衝撃吸収ユニット54側から推進力増幅ユニット56側へ空気の移動が迅速に行われる。一方、推進力増幅ユニット56側から衝撃吸収ユニット54側への空気の移動は、図9の状態において、球体52の通気孔52aを介して行われるため、該空気の移動が抑制されることとなる。
【0058】
本実施形態によれば、歩行や走行時の踵部への加重を衝撃吸収ユニット54が受け、その圧縮の際に、空気がチューブ55を介して略中空状部53へ流入し、更に推進力増幅ユニット56における空気タンク56Aに流入して該タンク56Aが上方に膨張する結果、推進板56Bを介して推進力が増幅される。
【0059】
また、本実施形態では、衝撃吸収ユニット54側から推進力増幅ユニット56側への空気の流れは、コイルバネ59に抗して球体52がラッパ状部58から離れるため、スムーズに行われる一方、逆方向の空気の流れは、球体52がラッパ状部58に当接して開口を閉止するため、抑制されることとなる。
【0060】
(実施形態4)
【0061】
図11に示すように、本実施形態の靴61は、全体がシーソー構造のものである。すなわち、靴61の力伝達媒体が中央に戻りスプリング62を有するヒンジ63を介して前後方向に連結された第一アーム64と第二アーム60を有するシーソー装置であって、衝撃吸収手段が踵部の衝撃吸収ユニット68内に位置するスプリング69付の第一アーム64であり、推進力増幅手段が空気タンク65Aおよび推進板65Bからなる推進力増幅ユニット65であり、力方向変換伝達制御手段が前記ヒンジ63から爪先側部へ伸びる第二アーム60と第二アーム60が挿通された挿通パイプ66と挿通パイプ66内に収容された緩衝部材としてのコイルバネ67を有する。
【0062】
本実施形態の靴61によれば、歩行や走行の際、弁当箱状の衝撃吸収ユニット68が加重されると、これに伴って第一アーム64が押し下げられる一方、第二アーム60側が上昇して空気タンク65Aにより推進力が増幅される。
【0063】
また、力の伝達について説明すると、図12および図13に示すように、衝撃吸収ユニット68が歩行や走行に伴って、下方へ押圧された場合には、これに伴って第一アームが押し下げられ、第二アーム60が上昇するが、この際、コイルバネ67内にある第二アーム60は図13に示すように、コイルバネ67内で上方へスムーズに移動する。一方、第二アーム60が下がる場合には、図12に示すように、第二アーム60がコイルバネ67の弾発力に抗することとなるため、その移動が抑制される。なお、コイルバネ67にはシャフト67aが挿通されている。
【0064】
なお、図中65Cは小ヒンジを示す。
【0065】
(実施形態5)
【0066】
図14に示すように、本実施形態の靴71は、全体がトグル構造のものである。すなわち、靴71の力伝達媒体が中央に戻りスプリング72を有するヒンジ73を介して前後方向に連結された第一アーム74と第二アーム75を有するトグル装置であって、衝撃吸収手段が踵部の衝撃吸収ユニット76内に位置する第一アーム74であり、推進力増幅手段が空気タンク77Aおよび推進板77Bからなる推進力増幅ユニット77であり、力方向変換伝達制御手段が前記ヒンジ73から爪先側部へ伸びる第二アーム75と第二アーム75が挿通された挿通パイプ78と小コイルバネを有する緩衝部材79である。なお、図中70はスライド部材を示す。
【0067】
本実施形態の靴71によれば、歩行や走行の際、弁当箱状の衝撃吸収ユニット76が加重されると、これに伴ってヒンジ73が押し下げられ、その反動として推進力増幅ユニット77の空気タンク77Aが上昇して推進力が増幅される。
【0068】
また、力の伝達については、緩衝部材79および挿通パイプ78によって、推進力増幅ユニット77側から衝撃吸収ユニット76側への伝達が抑制される。
【0069】
なお、図中77Cは小ヒンジを示す。
【0070】
(実施形態6)
【0071】
図15に示すように、本実施形態は、各実施形態に係る靴81の底部における保護カバーの装着構造であって、靴底部の保護カバー82が長ビス83によって装着されたものである。
【0072】
そして、保護カバー82の内側には前述した各実施形態の推進力増強装置が内蔵される。
【0073】
(実施形態7)
【0074】
図16および図17に示すように、本実施形態は、前述した各実施形態における靴の推進力増強を更に増すためのものである。
【0075】
すなわち、本実施形態の推進力強化手段は、靴本体84における甲被部や拇指下部および中足骨下部等に袋状部85を形成し、該袋状部85内に戻りスプリング86を靴側面に装着したものである。
【0076】
本実施形態によれば、図17に示すように、歩行または走行時に靴本体84が屈折する際に、力が蓄積され、これが蹴りの際に前記各戻りスプリング86のバネ力によって付勢されるため、推進力が強化される。
【0077】
また、靴本体84の内壁後部には、足・靴踵部密着支援手段としての面ファスナー80を介して使用者の靴下と靴本体84の内壁後部が常に密着されるようになされており、これによって、踵部での力のロスが防止される。
【0078】
なお、前記面ファスナー80に代えて、ホックやジッパー等の他の連結手段を用いても良い。
【0079】
(実施形態8)
【0080】
図18〜図20に示すように、本実施形態も前記実施形態7と同様、戻りスプリング88による推進力強化手段であり、本実施形態では、戻りスプリング88の両端に平板状部88aが形成されて、推進力強化が更に向上するようになされている。
【0081】
(実施形態9)
【0082】
図21に示すように、本実施形態も前記実施形態8と同様、戻りスプリング91と該スプリング91に一体に組み合わされたヒンジ部材92によって推進力強化を行うものである。
【0083】
(実施形態10)
【0084】
図22に示すように、本実施形態は、靴101における衝撃吸収ユニット102の一例を示すものであり、この構造は前記各実施形態の靴に適用される。
【0085】
すなわち、靴本体103の底部は中空状とされ、保護カバー104によって閉止され、該カバー104は長ビス105で底部に固定されている。そして、踵部には衝撃吸収ユニット102が配置され、左右に独立した弁当箱状部材107とその内部に収容されたコイルバネ108と、弁当箱状部材107に載置されたゴム製等の衝撃吸収板109とが組み込まれている。
【0086】
なお、図中100は、左右方向へのブレ防止用ダムを示す。
【0087】
(実施形態11)
【0088】
図23に示すように、本実施形態は、前記各実施形態の靴における力方向変換伝達制御手段における力伝達制御のための装置を一例である。
【0089】
すなわち、踵部側のワイヤー110Aの先端にコイルバネ112が一体に連結され、更にその先端側には略三角形部材113が設けられ、更に、その先端側のワイヤー110Bにはスライダー114が装着されており、略三角形部材113の両側面には、進退自在なローラー115が当接するようになされている。
【0090】
本装置によれば、図面右側の踵部側から図面左側の爪先側への力伝達はそのまま行われる一方、逆方向への力伝達は、略三角形部材113に対するローラー115の当接によって、抑制されるようになされている。
【産業上の利用可能性】
【0091】
本発明に係る靴は、単に歩行や走行時の衝撃を吸収する機能だけでなく、推進力を増強する機能をも具備するため、幅広い利用が期待できる。
【符号の説明】
【0092】
1 靴
2 靴本体
3 靴底
4 衝撃吸収ユニット
5 力方向変換伝達手段
6 推進力増幅ユニット
7 推進力補助装置
8 チューブ
9 拇指部タンク
10 甲被部タンク
11 空気パット
12 空気チューブ
13 空気調整弁
【特許請求の範囲】
【請求項1】
踵部に設けられ、歩行や走行等の際における踵部の着地時における衝撃を吸収する衝撃吸収手段と、衝撃吸収手段で吸収した衝撃力を爪先方向の力に変換して伝達する力方向変換伝達制御手段と、爪先部に設けられ、力方向変換伝達制御手段からの力を利用して推進時に足の爪先側部を押し上げる推進力増幅手段とを有しており、力方向変換伝達制御手段は、衝撃吸収手段から推進力増幅手段への力の伝達速度に対して、その反動としての推進力増幅手段から衝撃吸収手段への力の伝達速度を抑制する機能を有している、推進力増強靴。
【請求項2】
力伝達媒体が空気であって、衝撃吸収手段が内部にバネを有する空気タンクであり、推進力増幅手段が空気タンクであり、力方向変換伝達制御手段が衝撃吸収手段と推進力増幅手段間で空気の流れを制御する流路を備えた略中空部材である、請求項1記載の推進力増強靴。
【請求項3】
力伝達媒体がワイヤーであり、衝撃吸収手段がコイルバネであり、推進力増幅手段が空気タンクであり、力方向変換伝達制御手段が衝撃吸収手段と推進力増幅手段間でワイヤーを挿通したプーリーおよび挿通パイプ並びに緩衝部材である、請求項1記載の推進力増強靴。
【請求項4】
力伝達媒体が中央に戻りスプリングを有するヒンジを介して前後方向に連結された第一アームと第二アームを有するシーソー装置であって、衝撃吸収手段が踵部に位置するスプリング付の第一アームであり、推進力増幅手段が空気タンクであり、力方向変換伝達制御手段が前記ヒンジから爪先部へ伸びる第二アームと第二アームが挿通された挿通パイプであり、力方向変換伝達制御手段が推進力増幅手段から衝撃吸収手段への第二アームの移動を抑制する抑制機構を備えた、請求項1記載の推進力増強靴。
【請求項5】
力伝達媒体が中央に戻りスプリングを有するヒンジを介して前後方向に連結された第一アームと第二アームを有するトグル装置であって、衝撃吸収手段が踵部に位置する第一アームであり、推進力増幅手段が空気タンクであり、力方向変換伝達制御手段が前記ヒンジから爪先部へ伸びる第二アームと第二アームが挿通された挿通パイプであり、力伝達制御手段が推進力増幅手段から衝撃吸収手段への第二アームの移動を抑制する抑制機構を備えた、請求項1記載の推進力増強靴。
【請求項6】
各手段が左右一対で互いに独立して設けられた、請求項1〜請求項5のうちのいずれか一項の推進力増強靴。
【請求項7】
靴本体に一又は複数の推進力強化手段が付加された、請求項1〜請求項6のうちのいずれか一項記載の推進力増強靴。
【請求項8】
靴本体の甲被部にボールを逆回転させるボールコントロール用空気タンクが設けられた、請求項1〜請求項7のうちのいずれか一項記載の推進力増強靴。
【請求項9】
靴踵部内壁に足首・踵後部と密着する足・靴踵部密着支援手段を更に有する請求項1〜請求項8のうちのいずれか一項記載の推進力増強靴。
【請求項1】
踵部に設けられ、歩行や走行等の際における踵部の着地時における衝撃を吸収する衝撃吸収手段と、衝撃吸収手段で吸収した衝撃力を爪先方向の力に変換して伝達する力方向変換伝達制御手段と、爪先部に設けられ、力方向変換伝達制御手段からの力を利用して推進時に足の爪先側部を押し上げる推進力増幅手段とを有しており、力方向変換伝達制御手段は、衝撃吸収手段から推進力増幅手段への力の伝達速度に対して、その反動としての推進力増幅手段から衝撃吸収手段への力の伝達速度を抑制する機能を有している、推進力増強靴。
【請求項2】
力伝達媒体が空気であって、衝撃吸収手段が内部にバネを有する空気タンクであり、推進力増幅手段が空気タンクであり、力方向変換伝達制御手段が衝撃吸収手段と推進力増幅手段間で空気の流れを制御する流路を備えた略中空部材である、請求項1記載の推進力増強靴。
【請求項3】
力伝達媒体がワイヤーであり、衝撃吸収手段がコイルバネであり、推進力増幅手段が空気タンクであり、力方向変換伝達制御手段が衝撃吸収手段と推進力増幅手段間でワイヤーを挿通したプーリーおよび挿通パイプ並びに緩衝部材である、請求項1記載の推進力増強靴。
【請求項4】
力伝達媒体が中央に戻りスプリングを有するヒンジを介して前後方向に連結された第一アームと第二アームを有するシーソー装置であって、衝撃吸収手段が踵部に位置するスプリング付の第一アームであり、推進力増幅手段が空気タンクであり、力方向変換伝達制御手段が前記ヒンジから爪先部へ伸びる第二アームと第二アームが挿通された挿通パイプであり、力方向変換伝達制御手段が推進力増幅手段から衝撃吸収手段への第二アームの移動を抑制する抑制機構を備えた、請求項1記載の推進力増強靴。
【請求項5】
力伝達媒体が中央に戻りスプリングを有するヒンジを介して前後方向に連結された第一アームと第二アームを有するトグル装置であって、衝撃吸収手段が踵部に位置する第一アームであり、推進力増幅手段が空気タンクであり、力方向変換伝達制御手段が前記ヒンジから爪先部へ伸びる第二アームと第二アームが挿通された挿通パイプであり、力伝達制御手段が推進力増幅手段から衝撃吸収手段への第二アームの移動を抑制する抑制機構を備えた、請求項1記載の推進力増強靴。
【請求項6】
各手段が左右一対で互いに独立して設けられた、請求項1〜請求項5のうちのいずれか一項の推進力増強靴。
【請求項7】
靴本体に一又は複数の推進力強化手段が付加された、請求項1〜請求項6のうちのいずれか一項記載の推進力増強靴。
【請求項8】
靴本体の甲被部にボールを逆回転させるボールコントロール用空気タンクが設けられた、請求項1〜請求項7のうちのいずれか一項記載の推進力増強靴。
【請求項9】
靴踵部内壁に足首・踵後部と密着する足・靴踵部密着支援手段を更に有する請求項1〜請求項8のうちのいずれか一項記載の推進力増強靴。
【図1】


【図2】


【図3】


【図4】


【図5】


【図6】


【図7】


【図8】


【図9】


【図10】


【図11】


【図12】


【図13】


【図14】


【図15】


【図16】


【図17】


【図18】


【図19】


【図20】


【図21】


【図22】


【図23】




【図2】


【図3】


【図4】


【図5】


【図6】


【図7】


【図8】


【図9】


【図10】


【図11】


【図12】


【図13】


【図14】


【図15】


【図16】


【図17】


【図18】


【図19】


【図20】


【図21】


【図22】


【図23】


【公開番号】特開2011−104230(P2011−104230A)
【公開日】平成23年6月2日(2011.6.2)
【国際特許分類】
【出願番号】特願2009−264588(P2009−264588)
【出願日】平成21年11月20日(2009.11.20)
【出願人】(307041872)
【Fターム(参考)】
【公開日】平成23年6月2日(2011.6.2)
【国際特許分類】
【出願日】平成21年11月20日(2009.11.20)
【出願人】(307041872)

【Fターム(参考)】
[ Back to top ]