作業靴
【課題】 足首部の屈曲動作を阻害しないように短靴形状に形成した作業靴であって、傾斜した歩行面であっても踵部周囲をしっかりとホールドすることができ、かつ歩行面の凹凸や滑りやすさなどを足裏の感覚として把握しやすく、しゃがんだ姿勢での長時間作業も行いやすい高所作業者用の作業靴を提供すること。
【解決手段】作業靴であって、下端に内側に向かって突出した折り曲げ片を有しない外周壁および当該外周壁とともに足先全体を覆う一個の収容空間を形成する上部壁を有した先芯と、先端に先芯を収容したアッパー体を有し、先端から足の拇指球付近までを除いた前記アッパー体の底面に、弾力性のある素材によって形成したミッドソールを設けるとともに、前記アッパー体およびミッドソールの底面に、柔軟性の素材によって形成した靴底を設けたことを特徴とする。
【解決手段】作業靴であって、下端に内側に向かって突出した折り曲げ片を有しない外周壁および当該外周壁とともに足先全体を覆う一個の収容空間を形成する上部壁を有した先芯と、先端に先芯を収容したアッパー体を有し、先端から足の拇指球付近までを除いた前記アッパー体の底面に、弾力性のある素材によって形成したミッドソールを設けるとともに、前記アッパー体およびミッドソールの底面に、柔軟性の素材によって形成した靴底を設けたことを特徴とする。
【発明の詳細な説明】
【技術分野】
【0001】
本発明は、屋根上等の高所で作業を行う際に使用する高所作業者用靴に関するものである。
【背景技術】
【0002】
住宅やビル等の建設作業では、不安定な足場で作業しなければならない場合が多く、このような不安定な足場で作業を行う機会の多い作業者は、地下足袋を好んで着用している。このような作業者が地下足袋を好むのは、靴底が薄く歩行面の状況を足裏の感覚として把握しやすいことと、柔軟かつ軽量であることが挙げられる。
一方において、建設現場では重量物を運んだり、つま先の接地を伴う姿勢で鉄筋結束作業を行ったり、傾斜した屋根の上で作業を行う等、作業者が履く靴には様々な方向から力が働くことになる。また、地下足袋は軽量に形成されているので靴自体の剛性は低く、足にしっかりと装着するために、長靴のように足首部が長めに形成されている。
【先行技術文献】
【特許文献】
【0003】
【特許文献1】特許第2814218号公報
【発明の概要】
【発明が解決しようとする課題】
【0004】
上記のように足に対して様々な方向から力が働くような状況では、足首から踵に亘る部分が靴によってしっかりと保持されていることが望ましい。しかし、地下足袋のように足首部分が長いと、履き脱ぎに時間がかかってしまう。また、しゃがんだ時のように足首を屈曲させた姿勢が長く続くと、足首部がアッパー体によって締め付けられるため、屈曲姿勢の維持がつらくなってしまう。
また、屋根などの高所で作業する靴としては、つまずきや引っかかりを起こしやすいような一般的な紳士靴タイプの靴のように、踵部分が突出した靴は適さない。しかし、一方において梯子や鉄筋を使った上り下りでは、靴底面に当該梯子や鉄筋と係合して滑り止めのような機能を発揮する形状部分があると便利である。
【0005】
本発明は上記問題に鑑み発明されたものであって、足首部の屈曲動作を阻害しないように短靴形状に形成した作業靴であって、傾斜した歩行面であっても踵部周囲をしっかりとホールドすることができ、かつ歩行面の凹凸や滑りやすさなどを足裏の感覚として把握しやすく、しゃがんだ姿勢での長時間作業も行いやすい高所作業者用の作業靴を提供することを課題とする。
また、歩行時のつまづきを発生させることなく、梯子等の登り降り時には当該梯子等と係合する部位を有した作業靴の提供することを課題とする。
【課題を解決するための手段】
【0006】
上記課題を解決するために本発明は以下の構成を有する。すなわち、
下端に内側に向かって突出した折り曲げ片を有しない外周壁および当該外周壁とともに足先全体を覆う一個の収容空間を形成する上部壁を有した先芯と、先端に先芯を収容したアッパー体を有し、
先端から足の拇指球付近までを除いた前記アッパー体の底面に、弾力性のある素材によって形成したミッドソールを設けるとともに、
前記アッパー体およびミッドソールの底面に、柔軟性の素材によって形成した靴底を設けたことを特徴とする作業靴。
【0007】
また、本発明は以下の構成を有する。すなわち、上記作業靴において
前記アッパー体の底面に設けた靴底を、靴先の前面部分まで延長して設けたことを特徴とする。
【0008】
また、本発明は以下の構成を有する。すなわち、上記作業靴において
前記ミッドソールの略土踏まずに相当する領域の底面に凹所を形成することにより、当該ミッドソールに接着した靴底の接地面にも凹所を形成したことを特徴とする。
【発明の効果】
【0009】
本発明に係る作業靴は、第1に先芯を有する靴でありながら、その先芯は足と靴底との間を遮蔽するスカート(折り曲げ片)を有していない。したがって、靴底から得られる歩行面の情報(状態)を着用者に伝えやすいという効果を有している。第2に、拇指球付近ではミッドソールを介すことなくアッパー体の底面に靴底を設けている。これにより、上記効果に加えて、靴底から伝わる歩行面の情報をミッドソールによって減衰させることなく着用者に伝えることができるという効果を有している。
また、本発明は靴先の前面部分まで靴底面を延長した構造となっている。これにより、つま先を接地させなければならない作業姿勢が続く場合であっても接地部分が滑らず、かつ爪先部が損傷して先芯が露出することもなく円滑な作業が行えるようになっている。
また、本発明は、土踏まず付近の靴底面になだらかな湾曲面となるように形成された凹部を設けているので、急激な引っかかりによってつまずきを生じさせることなく、梯子や鉄筋との係合作用を発揮させることができるという効果を有している。
【図面の簡単な説明】
【0010】
【図1】本発明に係る作業靴の側面図である。
【図2】本発明に係る作業靴の側部断面図である。
【図3】本発明に係る作業靴の平面図である。
【図4】先芯の斜視図である。
【図5】先芯の他の例に関する説明図である。
【発明を実施するための形態】
【0011】
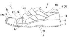
以下、発明を実施するための形態について説明する。図1は、本発明に係る作業靴1の側面図を表している。作業靴1は、主な構成要素として足入れ部を構成するアッパー体2、歩行面と接する靴底3、アッパー体2と靴底3の間に設けたミッドソール4、爪先部に内蔵した先芯5を有している。また、図2は同作業靴1の側部断面図を表し、図3はつま先部の平面図を表している。
【0012】
アッパー体2は、中底6と当該中底6の周囲に縫付された袋状の上物体7によって形成されている。上物体7は、軽量かつ柔軟な通気性の高い複合繊維素材8の表面に、合成皮革によって形成した所定形状の補強シート9(9a、9b、9c、9d)を縫い付けたものとなっている。本実施の形態に係る複合繊維素材8には、網目状の繊維シートに弾力性のある薄い発泡層を重ね合わせた多層構造の素材を用いている。当該複合繊維素材8は、耐引き裂き性、通気性、クッション性に優れた柔軟な素材である。
補強シートは、複合繊維素材8の補強および剛性を向上させることを目的として、それぞれ所定の箇所に設けられている。
補強シート9aは、上物体7の下端縁に沿って設けた帯状のシートとして設けられている。当該補強シート9aは、中底6付近の両側面部分に設けたものであり、アッパー体2の中底6の両側面を補強することにより、作業靴1の剛性を高めて足の保持作用を向上させるものである。その他の補強シート9b、9c、9dは、複合繊維素材8よって形成した袋状部分の形状保持、引っ張りに対する伸び防止等を目的として設けている。
【0013】
上物体7内面の踵周囲には、踵部の外周を覆う月形補強芯10が設けられている。また、上物体7外面の踵周囲には、一般的には腰革と称される後方から前方に向かって高さが低くなる補強シート11が設けられている。
上物体7の爪先部は、複合繊維素材8を爪先を覆うように立体的に閉塞させた形状を成しており、内部に先芯5を介在させた状態で、その表面を爪先補強部材12(12a、12b)によって覆っている。
爪先補強部材12は、前記補強シート9と同一の合成皮革シートによって形成されたものであり、上面を覆う上面部材12aと側面を覆う側面部材12bとを縫合し靴先に内蔵した先芯5を覆うよう形状に形成したものである。
爪先補強部材12を上面部材12aと側面部材12bの二部材によって形成したのは、一枚の合成皮革シートを立体的な湾曲形状にするには、強い張力によってシートを変形させながら先芯5表面に密着させる必要があるからである。強い張力でシートを先芯5表面に密着させるには、シートを引っ張って底面に接合させるための専用のつり込み装置が必要である。また、先芯5表面に密着させたシートは傷ができるとその部位から裂けて先芯を露出させやすくなる。以上の理由から爪先補強部材12は、無負荷の状態でもある程度先芯5の表面形状と近似した形状に形成し、極端に強い張力を要することなく先芯5を覆うようになっている。
【0014】
爪先補強部材12と複合繊維素材8は、後端縁12cにおいて縫合されている。爪先補強部材12の下端である側面部材12bの下端は、中底6の位置よりも長く延ばした縁部を有しており、当該縁部を中底6の裏面に貼り付けている。そして、爪先補強部材12の底面(縁部)は、中底6と靴底3の間に挟まれて固定されている。
アッパー体2の爪先部は、複合繊維素材8と爪先補強部材12との二重構造になっており、複合繊維素材8と爪先補強部材12の間に設けられた隙間に先芯5が装着されるようになっている。爪先補強部材12を固定している後端縁12cは、先芯5の後端縁近くに配置されるようになっている。
先芯5は、上記構造により中底6と靴底3によって固定された爪先補強部材12に保持されることになり、つま先部から移動することなく固定されるようになっている。
【0015】
爪先補強部材12は、前記先芯5を覆った後に下方の縁部を中底6の底面側に引っ張りつつ接着される。これにより、爪先補強部材12は張力によって伸びつつ先芯5の表面に密着し先芯5を固定することができる。
また、前記先芯5を装着し、爪先補強部材12の下端を引っ張って固定した中底6の底面には、靴底3が貼り付けられる。この靴底3の貼り付けは、足の土踏まず若しくは拇指球付近を境界として、その前方部分においては中底6に対して直接貼り付けられている。また、境界の後方部分では中底6の底面にミッドソール4を貼り付け、当該ミッドソール4に対して靴底3が貼り付けられている。
【0016】
前記爪先補強部材12によって保持される先芯5は、下端に内側に向かって突出した折り曲げ片(例えば、特開2001−252101の図5に示された符号14Aの部分であって、以下「スカート」という。)を有しない外周壁を有するとともに、当該外周壁とともに足先全体を覆う一個の収容空間を形成する上部壁を有した図4に示す形状を成している。
一般的な先芯は、下端から内側に折り曲げた所定幅のフランジ状の縁部として形成したスカートを有している。スカートは、先芯の上方から荷重がかかった際に、靴底に対する受圧面積を増大させ先芯の沈み込みを軽減させる効果を有するものである。一方、スカートは上記のように内側に向かって張り出した部分であるから、靴底が接する歩行面からの振動や起伏などの感覚的な情報を足裏に伝えにくいという性質を有している。
本発明では、歩行面からの振動や起伏などの情報が足裏に伝わり易くするためにスカートの無い先芯5を装着し、当該先芯5に作用する荷重はミッドソールが介在しない中底6の裏面に直接貼り付けた靴底3によって受けるようになっている。
【0017】
一方、拇指球付近から後方の部分には、中底6と靴底3の間にミッドソール4が設けられている。本実施の形態では、ミッドソール4は軽量なEVAによって形成されており、前方から後方に向かって次第に肉厚を増す形状に形成されている。また、肉厚を増すに従って外周囲を高く形成し、アッパー体2の踵部周囲を中心に高く覆うようになっている。このような形状にすることで、軽量かつ柔軟な素材で形成されているアッパー体2の外周囲を補強し、アッパー体2の型崩れを防止するようになっている。
なお、作業靴1の使用時には、アッパー体2の内部に足裏の形状に合わせて立体的に形成した中敷き(インナーソール)を装着する。中敷きは、前記ミッドソール4の外周部位によって補強された踵部の内面によって保持されるので、中敷きによってホールドされている足もアッパー体2の内部に保持される。これにより、歩行面が前後あるいは左右方向に傾いた傾斜面であっても靴内で足が滑らず、かつ高さを低く形成したアッパー体2によって足首の屈曲運動を妨げないようになっている。
【0018】
靴底3は、略均等な肉厚に形成された基部13と、当該基部13の表面から突設した複数の小突起を接地ブロック14として設けたゴム製の柔軟性のあるシート状の部材である。当該靴底3の基部13の厚みは2〜3mm、接地ブロック14の突出量も2〜3mmに形成されている。接地ブロック14は、四角柱や円柱といった形状の小凸片として靴底面全体に隙間を設けながら分散して配置されており、前記2〜3mmの肉厚に形成されている基部13の屈曲を阻害しないように形成されている。
【0019】
前述したように、作業靴1は靴の前半部にミッドソールを設けていない。そのため、靴の前半部では靴底3の変形や靴底3に作用する荷重、摩擦、滑り等の感覚的な情報が、中底6を介して直接的に足裏に伝達することができるようになっている。
また、前述のように本発明に用いる先芯5は、下端縁の所定幅を内側に折り曲げたスカートを設けていない。ミッドソールを有した靴の場合、先芯に荷重が作用するとミッドソールの沈み込みによって足先の空間が狭くなり足先が圧迫される。スカートは、このミッドソールの沈み込みによる空間の圧迫を軽減する作用を有しているが、ミッドソールの無い靴では、先芯の沈み込みはさほど生じない。そのため、本発明ではスカートの無い先芯を使用している。また、先芯にスカートがあると、足裏に伝わる靴底の形状変化や各種の情報伝達が阻害されるので、不安定な足場で作業する着用者にとっては、歩行面からの情報を得にくい靴となり好まれない。この点、本発明に係る靴は先芯にスカートを設けていないので歩行面からの情報が得やすい靴となっている。
【0020】
また、作業靴1は前記ミッドソール4の略土踏まずに相当する領域の底面に凹所15を形成するとともに、靴底5を当該ミッドソールの凹所15に倣って接着することで接地面にも凹所16を形成している。凹所16は、なだらかな湾曲面として形成されており、当該凹所16が、歩行や作業時のつまずきの原因にならないようになっている。
【0021】
なお、上記の実施例ではスカートの無い先芯を用いた例を示しているが、スカートの無い先芯とは、内側に向かって僅かに突出させたような形態の突出部を設けた先芯を除外するものではない。
すなわち、スカートの無い先芯とは、実質的な意味において、靴底3と足の指先や爪先部周辺との間に、靴底3の変形等を感じ取る際に障害となるような硬質の遮蔽物が存在しない先芯であれば良いということである。したがって、靴底3からの感覚的な情報が遮断されない程度の僅かな突出物を設けていたとしても、本発明に使用するスカートの無い先芯と同一である。
【0022】
図5は、このような先芯の一例を表した説明図である。図5aは先芯20の斜視図、図5bは同側面から見た断面図、図5cは同底面図である。当該先芯20は、先端中央付近に親指の先端と小指の先端付近を端部とした弧状の突出片21を設けたものである。突出片21は、指先の裏と靴底を結ぶ領域内に大きく突出しないよう配慮された形状となっており、図示した例では突出片21の形状が三日月状を成すように形成されている。すなわち、先芯20は、先端中央付近にのみ下端から突出した部位を有し、左右の側壁部下端にはスカートに相当する折り曲げ片を有していないものとなっている。
前記先端中央付近のみに突出させた上記の突出片21は、足裏に伝わる靴底面からの情報を阻害することなく、先芯20先端の浮き上がりを防止し、先芯20を靴内で移動させることなく適切な位置に保持する作用を有するものとなっている。
【産業上の利用可能性】
【0023】
本発明は、高所での作業時に使用する作業靴に利用可能である。
【符号の説明】
【0024】
1 作業靴
2 アッパー体
3 靴底
4 ミッドソール
5 先芯
6 中底
7 上物体
8 複合繊維素材
9 補強シート
9a 補強シート
10 月形補強芯
12 爪先補強部材
12a 上面部材
12b 側面部材
12c 後端縁
13 基部
14 接地ブロック
15 凹所
16 凹所
【技術分野】
【0001】
本発明は、屋根上等の高所で作業を行う際に使用する高所作業者用靴に関するものである。
【背景技術】
【0002】
住宅やビル等の建設作業では、不安定な足場で作業しなければならない場合が多く、このような不安定な足場で作業を行う機会の多い作業者は、地下足袋を好んで着用している。このような作業者が地下足袋を好むのは、靴底が薄く歩行面の状況を足裏の感覚として把握しやすいことと、柔軟かつ軽量であることが挙げられる。
一方において、建設現場では重量物を運んだり、つま先の接地を伴う姿勢で鉄筋結束作業を行ったり、傾斜した屋根の上で作業を行う等、作業者が履く靴には様々な方向から力が働くことになる。また、地下足袋は軽量に形成されているので靴自体の剛性は低く、足にしっかりと装着するために、長靴のように足首部が長めに形成されている。
【先行技術文献】
【特許文献】
【0003】
【特許文献1】特許第2814218号公報
【発明の概要】
【発明が解決しようとする課題】
【0004】
上記のように足に対して様々な方向から力が働くような状況では、足首から踵に亘る部分が靴によってしっかりと保持されていることが望ましい。しかし、地下足袋のように足首部分が長いと、履き脱ぎに時間がかかってしまう。また、しゃがんだ時のように足首を屈曲させた姿勢が長く続くと、足首部がアッパー体によって締め付けられるため、屈曲姿勢の維持がつらくなってしまう。
また、屋根などの高所で作業する靴としては、つまずきや引っかかりを起こしやすいような一般的な紳士靴タイプの靴のように、踵部分が突出した靴は適さない。しかし、一方において梯子や鉄筋を使った上り下りでは、靴底面に当該梯子や鉄筋と係合して滑り止めのような機能を発揮する形状部分があると便利である。
【0005】
本発明は上記問題に鑑み発明されたものであって、足首部の屈曲動作を阻害しないように短靴形状に形成した作業靴であって、傾斜した歩行面であっても踵部周囲をしっかりとホールドすることができ、かつ歩行面の凹凸や滑りやすさなどを足裏の感覚として把握しやすく、しゃがんだ姿勢での長時間作業も行いやすい高所作業者用の作業靴を提供することを課題とする。
また、歩行時のつまづきを発生させることなく、梯子等の登り降り時には当該梯子等と係合する部位を有した作業靴の提供することを課題とする。
【課題を解決するための手段】
【0006】
上記課題を解決するために本発明は以下の構成を有する。すなわち、
下端に内側に向かって突出した折り曲げ片を有しない外周壁および当該外周壁とともに足先全体を覆う一個の収容空間を形成する上部壁を有した先芯と、先端に先芯を収容したアッパー体を有し、
先端から足の拇指球付近までを除いた前記アッパー体の底面に、弾力性のある素材によって形成したミッドソールを設けるとともに、
前記アッパー体およびミッドソールの底面に、柔軟性の素材によって形成した靴底を設けたことを特徴とする作業靴。
【0007】
また、本発明は以下の構成を有する。すなわち、上記作業靴において
前記アッパー体の底面に設けた靴底を、靴先の前面部分まで延長して設けたことを特徴とする。
【0008】
また、本発明は以下の構成を有する。すなわち、上記作業靴において
前記ミッドソールの略土踏まずに相当する領域の底面に凹所を形成することにより、当該ミッドソールに接着した靴底の接地面にも凹所を形成したことを特徴とする。
【発明の効果】
【0009】
本発明に係る作業靴は、第1に先芯を有する靴でありながら、その先芯は足と靴底との間を遮蔽するスカート(折り曲げ片)を有していない。したがって、靴底から得られる歩行面の情報(状態)を着用者に伝えやすいという効果を有している。第2に、拇指球付近ではミッドソールを介すことなくアッパー体の底面に靴底を設けている。これにより、上記効果に加えて、靴底から伝わる歩行面の情報をミッドソールによって減衰させることなく着用者に伝えることができるという効果を有している。
また、本発明は靴先の前面部分まで靴底面を延長した構造となっている。これにより、つま先を接地させなければならない作業姿勢が続く場合であっても接地部分が滑らず、かつ爪先部が損傷して先芯が露出することもなく円滑な作業が行えるようになっている。
また、本発明は、土踏まず付近の靴底面になだらかな湾曲面となるように形成された凹部を設けているので、急激な引っかかりによってつまずきを生じさせることなく、梯子や鉄筋との係合作用を発揮させることができるという効果を有している。
【図面の簡単な説明】
【0010】
【図1】本発明に係る作業靴の側面図である。
【図2】本発明に係る作業靴の側部断面図である。
【図3】本発明に係る作業靴の平面図である。
【図4】先芯の斜視図である。
【図5】先芯の他の例に関する説明図である。
【発明を実施するための形態】
【0011】
以下、発明を実施するための形態について説明する。図1は、本発明に係る作業靴1の側面図を表している。作業靴1は、主な構成要素として足入れ部を構成するアッパー体2、歩行面と接する靴底3、アッパー体2と靴底3の間に設けたミッドソール4、爪先部に内蔵した先芯5を有している。また、図2は同作業靴1の側部断面図を表し、図3はつま先部の平面図を表している。
【0012】
アッパー体2は、中底6と当該中底6の周囲に縫付された袋状の上物体7によって形成されている。上物体7は、軽量かつ柔軟な通気性の高い複合繊維素材8の表面に、合成皮革によって形成した所定形状の補強シート9(9a、9b、9c、9d)を縫い付けたものとなっている。本実施の形態に係る複合繊維素材8には、網目状の繊維シートに弾力性のある薄い発泡層を重ね合わせた多層構造の素材を用いている。当該複合繊維素材8は、耐引き裂き性、通気性、クッション性に優れた柔軟な素材である。
補強シートは、複合繊維素材8の補強および剛性を向上させることを目的として、それぞれ所定の箇所に設けられている。
補強シート9aは、上物体7の下端縁に沿って設けた帯状のシートとして設けられている。当該補強シート9aは、中底6付近の両側面部分に設けたものであり、アッパー体2の中底6の両側面を補強することにより、作業靴1の剛性を高めて足の保持作用を向上させるものである。その他の補強シート9b、9c、9dは、複合繊維素材8よって形成した袋状部分の形状保持、引っ張りに対する伸び防止等を目的として設けている。
【0013】
上物体7内面の踵周囲には、踵部の外周を覆う月形補強芯10が設けられている。また、上物体7外面の踵周囲には、一般的には腰革と称される後方から前方に向かって高さが低くなる補強シート11が設けられている。
上物体7の爪先部は、複合繊維素材8を爪先を覆うように立体的に閉塞させた形状を成しており、内部に先芯5を介在させた状態で、その表面を爪先補強部材12(12a、12b)によって覆っている。
爪先補強部材12は、前記補強シート9と同一の合成皮革シートによって形成されたものであり、上面を覆う上面部材12aと側面を覆う側面部材12bとを縫合し靴先に内蔵した先芯5を覆うよう形状に形成したものである。
爪先補強部材12を上面部材12aと側面部材12bの二部材によって形成したのは、一枚の合成皮革シートを立体的な湾曲形状にするには、強い張力によってシートを変形させながら先芯5表面に密着させる必要があるからである。強い張力でシートを先芯5表面に密着させるには、シートを引っ張って底面に接合させるための専用のつり込み装置が必要である。また、先芯5表面に密着させたシートは傷ができるとその部位から裂けて先芯を露出させやすくなる。以上の理由から爪先補強部材12は、無負荷の状態でもある程度先芯5の表面形状と近似した形状に形成し、極端に強い張力を要することなく先芯5を覆うようになっている。
【0014】
爪先補強部材12と複合繊維素材8は、後端縁12cにおいて縫合されている。爪先補強部材12の下端である側面部材12bの下端は、中底6の位置よりも長く延ばした縁部を有しており、当該縁部を中底6の裏面に貼り付けている。そして、爪先補強部材12の底面(縁部)は、中底6と靴底3の間に挟まれて固定されている。
アッパー体2の爪先部は、複合繊維素材8と爪先補強部材12との二重構造になっており、複合繊維素材8と爪先補強部材12の間に設けられた隙間に先芯5が装着されるようになっている。爪先補強部材12を固定している後端縁12cは、先芯5の後端縁近くに配置されるようになっている。
先芯5は、上記構造により中底6と靴底3によって固定された爪先補強部材12に保持されることになり、つま先部から移動することなく固定されるようになっている。
【0015】
爪先補強部材12は、前記先芯5を覆った後に下方の縁部を中底6の底面側に引っ張りつつ接着される。これにより、爪先補強部材12は張力によって伸びつつ先芯5の表面に密着し先芯5を固定することができる。
また、前記先芯5を装着し、爪先補強部材12の下端を引っ張って固定した中底6の底面には、靴底3が貼り付けられる。この靴底3の貼り付けは、足の土踏まず若しくは拇指球付近を境界として、その前方部分においては中底6に対して直接貼り付けられている。また、境界の後方部分では中底6の底面にミッドソール4を貼り付け、当該ミッドソール4に対して靴底3が貼り付けられている。
【0016】
前記爪先補強部材12によって保持される先芯5は、下端に内側に向かって突出した折り曲げ片(例えば、特開2001−252101の図5に示された符号14Aの部分であって、以下「スカート」という。)を有しない外周壁を有するとともに、当該外周壁とともに足先全体を覆う一個の収容空間を形成する上部壁を有した図4に示す形状を成している。
一般的な先芯は、下端から内側に折り曲げた所定幅のフランジ状の縁部として形成したスカートを有している。スカートは、先芯の上方から荷重がかかった際に、靴底に対する受圧面積を増大させ先芯の沈み込みを軽減させる効果を有するものである。一方、スカートは上記のように内側に向かって張り出した部分であるから、靴底が接する歩行面からの振動や起伏などの感覚的な情報を足裏に伝えにくいという性質を有している。
本発明では、歩行面からの振動や起伏などの情報が足裏に伝わり易くするためにスカートの無い先芯5を装着し、当該先芯5に作用する荷重はミッドソールが介在しない中底6の裏面に直接貼り付けた靴底3によって受けるようになっている。
【0017】
一方、拇指球付近から後方の部分には、中底6と靴底3の間にミッドソール4が設けられている。本実施の形態では、ミッドソール4は軽量なEVAによって形成されており、前方から後方に向かって次第に肉厚を増す形状に形成されている。また、肉厚を増すに従って外周囲を高く形成し、アッパー体2の踵部周囲を中心に高く覆うようになっている。このような形状にすることで、軽量かつ柔軟な素材で形成されているアッパー体2の外周囲を補強し、アッパー体2の型崩れを防止するようになっている。
なお、作業靴1の使用時には、アッパー体2の内部に足裏の形状に合わせて立体的に形成した中敷き(インナーソール)を装着する。中敷きは、前記ミッドソール4の外周部位によって補強された踵部の内面によって保持されるので、中敷きによってホールドされている足もアッパー体2の内部に保持される。これにより、歩行面が前後あるいは左右方向に傾いた傾斜面であっても靴内で足が滑らず、かつ高さを低く形成したアッパー体2によって足首の屈曲運動を妨げないようになっている。
【0018】
靴底3は、略均等な肉厚に形成された基部13と、当該基部13の表面から突設した複数の小突起を接地ブロック14として設けたゴム製の柔軟性のあるシート状の部材である。当該靴底3の基部13の厚みは2〜3mm、接地ブロック14の突出量も2〜3mmに形成されている。接地ブロック14は、四角柱や円柱といった形状の小凸片として靴底面全体に隙間を設けながら分散して配置されており、前記2〜3mmの肉厚に形成されている基部13の屈曲を阻害しないように形成されている。
【0019】
前述したように、作業靴1は靴の前半部にミッドソールを設けていない。そのため、靴の前半部では靴底3の変形や靴底3に作用する荷重、摩擦、滑り等の感覚的な情報が、中底6を介して直接的に足裏に伝達することができるようになっている。
また、前述のように本発明に用いる先芯5は、下端縁の所定幅を内側に折り曲げたスカートを設けていない。ミッドソールを有した靴の場合、先芯に荷重が作用するとミッドソールの沈み込みによって足先の空間が狭くなり足先が圧迫される。スカートは、このミッドソールの沈み込みによる空間の圧迫を軽減する作用を有しているが、ミッドソールの無い靴では、先芯の沈み込みはさほど生じない。そのため、本発明ではスカートの無い先芯を使用している。また、先芯にスカートがあると、足裏に伝わる靴底の形状変化や各種の情報伝達が阻害されるので、不安定な足場で作業する着用者にとっては、歩行面からの情報を得にくい靴となり好まれない。この点、本発明に係る靴は先芯にスカートを設けていないので歩行面からの情報が得やすい靴となっている。
【0020】
また、作業靴1は前記ミッドソール4の略土踏まずに相当する領域の底面に凹所15を形成するとともに、靴底5を当該ミッドソールの凹所15に倣って接着することで接地面にも凹所16を形成している。凹所16は、なだらかな湾曲面として形成されており、当該凹所16が、歩行や作業時のつまずきの原因にならないようになっている。
【0021】
なお、上記の実施例ではスカートの無い先芯を用いた例を示しているが、スカートの無い先芯とは、内側に向かって僅かに突出させたような形態の突出部を設けた先芯を除外するものではない。
すなわち、スカートの無い先芯とは、実質的な意味において、靴底3と足の指先や爪先部周辺との間に、靴底3の変形等を感じ取る際に障害となるような硬質の遮蔽物が存在しない先芯であれば良いということである。したがって、靴底3からの感覚的な情報が遮断されない程度の僅かな突出物を設けていたとしても、本発明に使用するスカートの無い先芯と同一である。
【0022】
図5は、このような先芯の一例を表した説明図である。図5aは先芯20の斜視図、図5bは同側面から見た断面図、図5cは同底面図である。当該先芯20は、先端中央付近に親指の先端と小指の先端付近を端部とした弧状の突出片21を設けたものである。突出片21は、指先の裏と靴底を結ぶ領域内に大きく突出しないよう配慮された形状となっており、図示した例では突出片21の形状が三日月状を成すように形成されている。すなわち、先芯20は、先端中央付近にのみ下端から突出した部位を有し、左右の側壁部下端にはスカートに相当する折り曲げ片を有していないものとなっている。
前記先端中央付近のみに突出させた上記の突出片21は、足裏に伝わる靴底面からの情報を阻害することなく、先芯20先端の浮き上がりを防止し、先芯20を靴内で移動させることなく適切な位置に保持する作用を有するものとなっている。
【産業上の利用可能性】
【0023】
本発明は、高所での作業時に使用する作業靴に利用可能である。
【符号の説明】
【0024】
1 作業靴
2 アッパー体
3 靴底
4 ミッドソール
5 先芯
6 中底
7 上物体
8 複合繊維素材
9 補強シート
9a 補強シート
10 月形補強芯
12 爪先補強部材
12a 上面部材
12b 側面部材
12c 後端縁
13 基部
14 接地ブロック
15 凹所
16 凹所
【特許請求の範囲】
【請求項1】
下端に内側に向かって突出した折り曲げ片を有しない外周壁および当該外周壁とともに足先全体を覆う一個の収容空間を形成する上部壁を有した先芯と、先端に先芯を収容したアッパー体を有し、
先端から足の拇指球付近までを除いた前記アッパー体の底面に、弾力性のある素材によって形成したミッドソールを設けるとともに、
前記アッパー体およびミッドソールの底面に、柔軟性の素材によって形成した靴底を設けたことを特徴とする作業靴。
【請求項2】
前記アッパー体の底面に設けた靴底を、靴先の前面部分まで延長して設けたことを特徴とする請求項1記載の作業靴。
【請求項3】
前記ミッドソールの略土踏まずに相当する領域の底面に凹所を形成することにより、当該ミッドソールに接着した靴底の接地面にも凹所を形成したことを特徴とする請求項1または2記載の作業靴。
【請求項1】
下端に内側に向かって突出した折り曲げ片を有しない外周壁および当該外周壁とともに足先全体を覆う一個の収容空間を形成する上部壁を有した先芯と、先端に先芯を収容したアッパー体を有し、
先端から足の拇指球付近までを除いた前記アッパー体の底面に、弾力性のある素材によって形成したミッドソールを設けるとともに、
前記アッパー体およびミッドソールの底面に、柔軟性の素材によって形成した靴底を設けたことを特徴とする作業靴。
【請求項2】
前記アッパー体の底面に設けた靴底を、靴先の前面部分まで延長して設けたことを特徴とする請求項1記載の作業靴。
【請求項3】
前記ミッドソールの略土踏まずに相当する領域の底面に凹所を形成することにより、当該ミッドソールに接着した靴底の接地面にも凹所を形成したことを特徴とする請求項1または2記載の作業靴。
【図1】


【図2】


【図3】


【図4】


【図5】




【図2】


【図3】


【図4】


【図5】


【公開番号】特開2012−10900(P2012−10900A)
【公開日】平成24年1月19日(2012.1.19)
【国際特許分類】
【出願番号】特願2010−149551(P2010−149551)
【出願日】平成22年6月30日(2010.6.30)
【出願人】(391009372)ミドリ安全株式会社 (201)
【Fターム(参考)】
【公開日】平成24年1月19日(2012.1.19)
【国際特許分類】
【出願日】平成22年6月30日(2010.6.30)
【出願人】(391009372)ミドリ安全株式会社 (201)
【Fターム(参考)】
[ Back to top ]