¹ñºÝÆÃµöʬÎà¡ÎA43B13/14¡Ï¤ÎÆâÍÆ
À¸³èɬ¼ûÉÊ (1,310,238) | Íúʪ (4,053) | Íúʪ¤ÎÆÃħ¡¨Íúʪ¤ÎÉôʬ (3,598) | Ä졨Äì¤È¤«¤«¤ÈÄì¤È¤¬·ë¹ç¤µ¤ì¤¿¤â¤Î (1,127) | ¹½Â¤¤ËÆÃħ¤Î¤¢¤ë¤â¤Î (717)
¹ñºÝÆÃµöʬÎà¡ÎA43B13/14¡Ï¤Î²¼°Ì¤Ë°¤¹¤ëʬÎà
Àܹ礵¤ì¤¿Äì (24)
ÃÆÀÄì (162)
³ê¤ê»ß¤áÄì¤Þ¤¿¤ÏÂÑËàÌפÎÄ졤Îã¡¥½¼¤Æ¤ó¤Ë¤è¤ë¤â¤Î¤Þ¤¿¤ÏÂÑËàÌ×ÁؤÎÅÉÃå¤Ë¤è¤ë¤â¤Î (175)
¹ñºÝÆÃµöʬÎà¡ÎA43B13/14¡Ï¤ËʬÎव¤ì¤ëÆÃµö
81 - 90 / 356
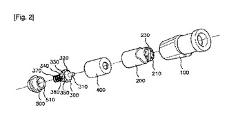
¸ò´¹²Äǽ¤Ê¥¢¥¦¥È¥½¡¼¥ëÉôºà¤ò´Þ¤à·¤
¡Ú²ÝÂê¡Û¼è¤ê³°¤·²Äǽ¤Ç¸ò´¹²Äǽ¤Ê¥¢¥¦¥È¥½¡¼¥ëÉôºà¤ò´Þ¤à·¤¤òÄ󶡤¹¤ë¡£
¡Ú²ò·è¼êÃʡۼè¤ê³°¤·²Äǽ¤Ç¸ò´¹²Äǽ¤Ê¥¢¥¦¥È¥½¡¼¥ëÉôºà£±£°£´¤ò´Þ¤à·¤£±£°£°¤Ï¥¢¥¦¥È¥½¡¼¥ëÉôºà£±£°£´¤ò¡¢¥ß¥Ã¥É¥½¡¼¥ëÉôºà£±£°£¸¤ª¤è¤Ó¡¿¤Þ¤¿¤Ï¾åÉôÉôºà£±£°£¶¤ËÍÍ¡¹¤Ê°Û¤Ê¤ëÊýË¡¤Ç¼è¤êÉÕ¤±¤ë¤³¤È¤¬¤Ç¤¤ë¡£»ÈÍÑ»þ¤Ë¤Ï¡¢ÃåÍѼԤϡ¢Î㤨¤Ð¡¢¶¥µ»É½Ì̤Υ¿¥¤¥×¡¢²¹ÅÙ¡¢¤ª¤è¤Ó¡¿¤Þ¤¿¤Ï¤½¤Î¾¤Î¾ò·ï¤Ë±þ¤¸¤Æ¡¢°ìÄê»þ´Ö¤Ë¤ª¤±¤ë»ÈÍѤËÂФ·¤ÆÆÃÄê¤Î1ÁȤΥ¢¥¦¥È¥½¡¼¥ëÉôºà£±£°£´¤òÁªÂò¤¹¤ë¤³¤È¤¬¤Ç¤¤ë¡£ÃåÍѤ·¤¿¥¢¥¦¥È¥½¡¼¥ëÉôºà£±£°£´¤Ï¡¢·¤¤Î»Ä¤ê¤ÎÉôʬ¤â¸ò´¹¤¹¤ëºÝ¤Ëȼ¤¦·ÐÈñ̵¤·¤Ë¸ò´¹¤¹¤ë¤³¤È¤¬¤Ç¤¤ë¡£
¡Ê¤â¤Ã¤ÈÆÉ¤à¡Ë
Æ©¼¾À¡¦ËÉ¿åÀÄì³×ÍÑ¥¤¥ó¥µ¡¼¥È
±ÕÂξõÂ֤ˤ¢¤ë¿å¤ËÂФ·¤ÆÉÔÆ©²áÀ¤Ç¡¢¿å¾øµ¤¤ËÂФ·¤ÆÆ©²áÀ¤Ç¤¢¤ë¥Ý¥ê¥Þ¡¼ºàÎÁ¤«¤éºî¤é¤ì¤¿Ê£¿ô¤Îµ¡Ç½ÁؤòÈ÷¤¨¤ëÁؾõ²½¡¦·ë¹çÀ°ìÂη¿¥·¡¼¥È¾õ¹½Â¤¤òͤ·¤Æ¤¤¤ëÆ©¼¾À¡¦ËÉ¿åÀÄì³×ÍÑ¥¤¥ó¥µ¡¼¥È¡£Äì³×ÍÑ¥¤¥ó¥µ¡¼¥È¡Ê£±£°¡Ë¤Î¾¯¤Ê¤¯¤È¤â£±¤Ä¤Îµ¡Ç½Éôʬ¤¬¡¢£É£Ó£Ï £²£°£³£´£´¡Ý£²£°£°£´µ¬³Ê¤Î£µ¡¥£¸¡¥£²¾Ï¤ËÄ󼨤µ¤ì¤¿ÊýË¡¤Ë¤è¤Ã¤Æ»»Äꤵ¤ì¤¿¤ª¤è¤½£±£°£Î¤è¤ê¤âÂ礤¤´ÓÆþÄñ¹³¤ò¤½¤ì¤ËÉÕÍ¿¤¹¤ë¤è¤¦¤Ê¸ü¤µ¤òͤ·¤Æ¤¤¤ë¡£ ¡Ê¤â¤Ã¤ÈÆÉ¤à¡Ë
¥È¥ì¡¼¥Ë¥ó¥°¥·¥å¡¼¥º
¡Ú²ÝÂê¡Û ¸«¤¿ÌܤÏÉáÄ̤Υȥ졼¥Ë¥ó¥°¥·¥å¡¼¥º¤È²¿¤éÊѤï¤ë¤³¤È¤Î¤Ê¤¤³°´Ñ¤òÄ褹¤ë¤Î¤Ç¡¢ÉáÃÊÍú¤¤Ë»ÈÍѤ·¤Æ¤â³°¸«¾å²¿¤é¤ÎÌäÂê¤Ï¤Ê¤¤°ìÊý¡¢¤½¤Î·¤Äì¤ÎÃÇÌÌÆâ¤Ë¥¢¥¥ì¥¹ç§¤òÃ䨤뤿¤á¤Î¹½Â¤¤òÆâ¡¤·¤¿·¤Äì¤òÈ÷¤¨¤ë¤³¤È¤Ë¤è¤ê¡¢ÉáÃÊÍú¤¥·¥å¡¼¥º¤È¤·¤ÆÍѤ¤¤ë¤³¤È¤¬¤Ç¤¤ë¤³¤È¤ÏÌÞÏÀ¡¢¥È¥ì¡¼¥Ë¥ó¥°ÀìÍÑ¥·¥å¡¼¥º¤È¤·¤Æ¤âµ¡Ç½¤¹¤ë¤¤¤ï¤Ð¿µ¡Ç½¥·¥å¡¼¥º¤òÄ󶡤¹¤ë¤³¤È¡£
¡Ú²ò·è¼êÃÊ¡Û ¥È¥ì¡¼¥Ë¥ó¥°¥·¥å¡¼¥ºTS¤Ë·ÁÀ®¤µ¤ì¤¿·¤¤Ë¤ª¤±¤ë·¤Ä죶¤ÎÆâÉô¤Ë¡¢¤½¤Î·¤ÄìÁ´ÂΤò·ÁÀ®¤¹¤ë¥¯¥Ã¥·¥ç¥óºà63¤è¤ê¤â¹ÅÅÙ¤¬¹â¤¤ºàÎÁ¤ò¡¢Åö³º·¤Ä죶¤Î³°·Á¤È¸ü¤ß¤Ë±è¤Ã¤Æ·ÁÀ®¤·ÆâÉô¿Äºà61¤È¤·¤ÆÀߤ±¤ë¤È¶¦¤Ë¡¢¤½¤ÎÆâÉô¿Äºà61¤ÎÅÚÆ§¤Þ¤º£³¤ËÂбþ¤¹¤ëÉôʬ¤Ë¡¢²¼¸þ¤¤Î»õ¾õÉô¤ò·ÁÀ®¤·¤¿¤¿¤³¤È¡£
¡Ê¤â¤Ã¤ÈÆÉ¤à¡Ë
¥¢¥¦¥È¥½¡¼¥ë¤ª¤è¤Ó¥¹¥Ý¡¼¥Ä¥·¥å¡¼¥º
¡Ú²ÝÂê¡Û ¸øÃΤβò·èºö¤ÈÈæ³Ó¤·¤Æ½ÅÎ̤¬¼Â¼ÁŪ¤Ë¸º¾¯¤·¤Æ¤¤¤ë¤ÈƱ»þ¤Ë¡¢¸º¾¯¤·¤¿À½Â¤¥³¥¹¥È¤Ç¡¢°ÂÄêÀ¡¢Íú¤¿´ÃϤª¤è¤Ó¸£°úÎϤÎÍ×·ï¤òËþ¤¿¤¹¥¢¥¦¥È¥½¡¼¥ë¤ª¤è¤Ó¥¹¥Ý¡¼¥Ä¥·¥å¡¼¥º¤òÄ󶡤¹¤ë¡£
¡Ú²ò·è¼êÃÊ¡Û ËÜȯÌÀ¤Î¥¢¥¦¥È¥½¡¼¥ë¡Ê£³£°¡Ë¤Ï¡¢¥¢¥¦¥È¥½¡¼¥ë¡Ê£³£°¡Ë¤ÎìûÉôʬ¡Ê£³£²¡Ë¤«¤éÃæÂÉô¡Ê£³£³¡Ë¤ò·Ð¤ÆÁ°ÂÉô¡Ê£³£´¡Ë¤Þ¤Ç±äºß¤¹¤ë°ìÂÎ¥½¡¼¥ë¥×¥ì¡¼¥È¡Ê£³£±¡Ë¡¢¥½¡¼¥ë¥×¥ì¡¼¥È¡Ê£³£±¡Ë¤ËÁȤ߹þ¤Þ¤ì¤¿¾¯¤Ê¤¯¤È¤â£±¤Ä¤ÎÂ裱¤ÎÊ䶯¥ê¥Ö¡Ê£³£·¡Ë¡¢¤ª¤è¤Ó¾¯¤Ê¤¯¤È¤â£±¤Ä¤ÎÂ裱¤ÎÊ䶯¥ê¥Ö¡Ê£³£·¡Ë¤Î¾å¤Þ¤¿¤Ï²¼¤ËÇÛÃÖ¤µ¤ì¤¿Ê䶯¥×¥ì¡¼¥È¡Ê£´£°¡Ë¤òÈ÷¤¨¤ë¡£
¡Ê¤â¤Ã¤ÈÆÉ¤à¡Ë
ÍúʪÄì
¿Í´Ö¤Î·¤Äì¡¢¤¢¤ë¤¤¤Ï¿Í´Ö¤Î·¤¤ËÁÞÆþ¤¹¤ëÃæÄì¡¢ÃæÉß¡¢¶ºÀµ¶ñ¤Ï¡¢µÓ¤ÎÂ裱¡¢Â裲¡¢Â裳¡¢Â裴¤ª¤è¤ÓǤ°Õ¤ËÂè£µÃæÂ¹üƬ¤ò»Ù»ý¤¹¤ë¤¿¤á¤ÎÂ裱¤ÎÎΰè¤È¡¢Á°µÂ裱¤ÎÎΰè¤ò¼è¤ê°Ï¤ßÁ°µµÓ¤Î»Ä¤ê¤ÎÉôʬ¤ò¾¯¤Ê¤¯¤È¤âÉôʬŪ¤Ë»Ù»ý¤¹¤ë¤¿¤á¤ÎÂ裲¤ÎÎΰè¤È¤ò´Þ¤àµÓ»Ù»ý¾å¦Ì̤òͤ¹¤ë¡£Á°µÂ裱¤ÎÎΰ褬¡¢Á°µÂ裲¤ÎÎΰè¤è¤ê¾®¤µ¤¤²¼Êý±¿Æ°Äñ¹³¤òÄ󶡤·¡¢Á°µÂ裱¤ÎÎΰ褬¡¢Á°µÂ裱¤ÎÎΰè¤Î»Ä¤ê¤ÎÉôʬ¤ËÂФ·¤Æ¡¢Æâ¦±ïÉôʬ¤È³°Â¦±ïÉôʬ¤òͤ¹¤ë·ê¤Þ¤¿¤Ï¤¯¤Ü¤ßÎΰè¤òͤ·¡¢Á°µ¤¯¤Ü¤ß¤¬¡¢Ãæ¿´Æâ¦¤ËÊФ俺ÇÄãÅÀ¤òͤ·¡¢¤½¤ì¤Ë¤è¤êÁ°µÃåÍѼԤ¬Î©µÓÃæ´ü¤«¤é¿ä¿Ê´ü¤Ëư¤¯¤È¤¤ËÁ°µÂè£±ÃæÂ¹üƬ¤Î³°Å¾¤¬Â¥¿Ê¤µ¤ì¤ë¡£¤Þ¤¿¿Í´Ö¤Î·¤Äì¤Ï¡¢ÃåÍѼԤεӤÎ΢Ì̤ÎÍÍ¡¹¤Ê¹Å¤µ¤ÎÎΰè¤È¤Û¤ÜÀ°¹ç¤¹¤ëÍÍ¡¹¤Ê¹Å¤µ¤ÎÎΰè¤òͤ¹¤ëµÓ»Ù»ýÌ̤òͤ¹¤ë¡£ ¡Ê¤â¤Ã¤ÈÆÉ¤à¡Ë
·¤¤ÎÃæÉߤ
¡Ú²ÝÂê¡Û·¤Äì¤ÈÂ΢¤È¤ò³Î¼Â¤ËÀÜÃ夹¤ë¤³¤È¤Ë¤è¤Ã¤ÆÂ¤È·¤¤È¤Î°ìÂ䶤ò¹â¤á¡¢Â¤Î±¿Æ°ÎϤò·¤¤ò²ð¤·¤ÆÃÏÌ̤˳μ¤ËÅÁ¤¨¤ë¤³¤È¤¬¤Ç¤¤ë·¤¤ÎÃæÉߤ¤òÄ󶡤¹¤ë¡£
¡Ú²ò·è¼êÃʡ۷¤Ä죸£á¤ÈÂ΢£·£á¤È¤Î´Ö¤Ë²ðºß¤µ¤»¤ë·¤¤ÎÃæÉߤ£±¤Ç¤¢¤Ã¤Æ¡¢Â΢·Á¾õ¤Ë·ÁÀ®¤¹¤ë¤È¶¦¤Ë¡¢Â΢£·£á¤ËÀܤ¹¤ëÂ裱ÌÌ£±£áµÚ¤Ó·¤Ä죸£á¤ËÀܤ¹¤ëÂ裲ÌÌ£±£â¤ÎξÌÌÁ´Ì̤òÇ´ÃåºÞ£³¤Ë¤è¤ëÇ´ÃåÌÌ£²¤È¤¹¤ë¤³¤È¤Ë¤è¤ê¡¢Â΢£·£á¤È·¤Ä죸£á¤È¤ÎÁê¸ß¤ËÅöÀܤ¹¤ëÌÌÆ±»Î¤òÁ´ÌÌŪ¤ËÀÜÃ夵¤»¤ë¡£
¡Ê¤â¤Ã¤ÈÆÉ¤à¡Ë
Íúʪ
¡Ú²ÝÂê¡Û³Ú¤ËÊâ¹Ô¤Ç¤¤ë¤ÈƱ»þ¤Ë¤è¤ê·ì¹Ô¤òÂ¥¿Ê¤·¤Æ¿·ÄÄÂå¼Õ¤òÂ¥¤¹¤³¤È¤¬¤Ç¤¡¢¤«¤Ä¡¢Çضڤο¤Ó¤¿»ÑÀª¤ÇÊâ¹Ô¤¹¤ë¤³¤È¤¬¤Ç¤¤ë¥¦¥©¡¼¥¥ó¥°¥·¥å¡¼¥º¤òÄ󶡤¹¤ë¡£
¡Ú²ò·è¼êÃÊ¡ÛÆ§ÉÕÉô31¤ÈìûÉô32¤È¤¬¸ß¤¤¤ËÆÈΩ¤·¤¿·¤Äì¤òͤ¹¤ë¥¦¥©¡¼¥¥ó¥°¥·¥å¡¼¥º£±¤Ç¤¢¤Ã¤Æ¡¢Á°µÆ§ÉÕÉô31¤ÈìûÉô32¤È¤Î´Ö¤Ç¤¢¤ë·¤Äì¤Î¤Ê¤¤ÅÚÆ§¤Þ¤ºÉô222¤ò¶´¤àƧÉÕÉô31µÚ¤ÓìûÉô32¤ÎÂиþÌ̤ϡ¢²¼Êý¤Ë¸þ¤«¤Ã¤ÆÆ§ÉÕÉô31¤ÈìûÉô32¤È¤Î´Ö¤Î¶õ´Ö¤¬¹¤¬¤ë¤è¤¦¤ËÀÚ¤ê·ç¤311,321¤¬Àߤ±¤é¤ì¤ë¡£
¡Ê¤â¤Ã¤ÈÆÉ¤à¡Ë
ÍúʪÍÑÄ̵¤Äì
ËÜȯÌÀ¤ÏÍúʪÍÑÄ̵¤Äì¤Ë·¸¤ê¡¢ÍúʪÄì¤Î¦Ì̤˶õµ¤Î®½ÐÆþ¸ý¤¬·ÁÀ®¤µ¤ì¡¢Á°µÍúʪÄì¤Î¾åÌ̤ˤÏÁ°µ¶õµ¤Î®½ÐÆþ¸ý¤ÈÏ¢Ä̤¹¤ëÄ̹¦¤¬·ÁÀ®¤µ¤ì¡¢Á°µ¶õµ¤Î®½ÐÆþ¸ý¤Ë·ë¹ç¤µ¤ì¤ë¶õµ¤Î®½ÐÆþ¸ý³«ÊÄÁõÃ֤ˤè¤ê³°Éô¶õµ¤¤¬Á°µÄ̹¦¤òÄ̤¸¤ÆÍúʪ¤ÎÆâÉô¤Ë¶¡µë¤µ¤ì¤ë¤è¤¦¤Ë¤·¤¿ÍúʪÍÑÄ̵¤Äì¤Ç¤¢¤Ã¤Æ¡¢Á°µ¶õµ¤Î®½ÐÆþ¸ý³«ÊÄÁõÃ֤ϡ¢Á°¸å¦¤¬³«Êü¹½Â¤¤òÀ®¤·¤ÆÎ®Ï©¤ò·ÁÀ®¤¹¤ë¥á¥¤¥ó¥¥ã¥Ã¥×¤È¡¨Á°µ¥á¥¤¥ó¥¥ã¥Ã¥×¤ËÁÞÆþ¤µ¤ì¡¢Á°µ¶õµ¤Î®½ÐÆþ¸ý¤ËϪ½Ð¤¹¤ë¤è¤¦¤Ë·ë¹ç¤µ¤ì¡¢¥í¥Ã¥¯µÚ¤Ó²ò½ü¤Îưºî¤¬²Äǽ¤Ê¥Ü¥¿¥ó¥¥ã¥Ã¥×¤È¡¨Á°µ¥á¥¤¥ó¥¥ã¥Ã¥×¤ËÁÞÆþ¤µ¤ì¡¢Á°µ¥Ü¥¿¥ó¥¥ã¥Ã¥×¤Î¥í¥Ã¥¯µÚ¤Ó²ò½ü¤Îưºî¤ËÂбþ¤·¤ÆÃÆÀŪ¤Ë¿ÊÂष¤ÆÁ°µ¥á¥¤¥ó¥¥ã¥Ã¥×¤Ë·ÁÀ®¤µ¤ì¤¿Î®Ï©¤ò³«ÊĤµ¤»¤ëÃÆÀÀòÉô¤È¡¨¤ò´Þ¤ó¤Ç¤Ê¤ë¤³¤È¤òÆÃħ¤È¤¹¤ëÍúʪÍÑÄ̵¤Äì¤òµ»½ÑŪÍ׻ݤȤ¹¤ë¡£¤³¤ì¤Ë¤è¤ê¡¢Ä̵¤Äì¤Î¶õµ¤Î®½ÐÆþ¸ý¤ËÂФ¹¤ë¥Ü¥¿¥ó¥¥ã¥Ã¥×¤Î²óžºîÍѤˤè¤Ã¤Æ³«Êü¤Þ¤¿¤ÏÊĺ¿¤µ¤ì¤ë¶õµ¤Î®½ÐÆþ¸ý³«ÊÄÁõÃÖ¤¬Ïª½Ð¤¹¤ë¤è¤¦¤ËÀßÃÖ¤µ¤ì¤ë¤Î¤Ç¡¢É¬Íפ˱þ¤¸¤Æ»ÈÍѼԤ¬¶õµ¤Î®½ÐÆþ¸ý¤ò³«Êü¤Þ¤¿¤ÏÊĺ¿¤µ¤»¤ë¤³¤È¤¬¤Ç¤¤ëÊØÍø¤ÊÍøÅÀ¤¬¤¢¤ë¡£
¡Ê¤â¤Ã¤ÈÆÉ¤à¡Ë
¥·¥å¡¼¥º¤Î¥½¡¼¥ë¹½Â¤ÂÎ
¡Ú²ÝÂê¡Û ¥·¥å¡¼¥º¤È¤·¤Æ¤Î¥¯¥Ã¥·¥ç¥óÀ¤Îµ¡Ç½¤ò»¤Ê¤¦¤³¤È¤Ê¤¯¡¢¸Ä¡¹¤Î¥æ¡¼¥¶¡¼¤¬·¤Äì¤Î¸ò´¹¤ò°Â²Á¤Ë¤«¤Ä´Êñ¤Ë¹Ô¤¦¤³¤È¤¬¤Ç¤¤ë¥½¡¼¥ë¹½Â¤ÂΤòÄ󶡤¹¤ë¡£
¡Ú²ò·è¼êÃÊ¡Û ¥·¥å¡¼¥º¤Î¥½¡¼¥ë¹½Â¤ÂΣ±¤Ë¤ª¤¤¤Æ¡¢¾åÊý¤ËÇÛÀߤµ¤ì¡¢¹Å¼ÁÃÆÀÉôºà¤«¤é¹½À®¤µ¤ì¤¿¾åÉô¥×¥ì¡¼¥È£²¤È¡¢¾åÉô¥×¥ì¡¼¥È£²¤Î²¼Êý¤ËÇÛÀߤµ¤ì¡¢¹Å¼ÁÃÆÀÉôºà¤«¤é¹½À®¤µ¤ì¤ë¤È¤È¤â¤Ë¡¢¥·¥å¡¼¥º¤ÎÁ°¸åÊý¸þ¤Ë¿Ê¤àÇÈ·Á¾õ¤òͤ·¡¢¾åÉô¥×¥ì¡¼¥È£²¤ËÂФ·¤Æ¥Í¥¸£±£°¤ò²ð¤·¤ÆÃåæ¼«ºß¤Ê²¼ÉôÇÈ·Á¥×¥ì¡¼¥È£³¤È¤òÀߤ±¤ë¡£²¼ÉôÇÈ·Á¥×¥ì¡¼¥È£³¤ÎÇÈ·Á¾õ¤ÎÁ°¸åü¤Î¾å¦ÆÌÉô£³£³¡¢£³£´¤ª¤è¤Ó¾åÆÌ¾õËĽÐÉô£³£²¤¬¾åÉô¥×¥ì¡¼¥È£²¤ËÅöÀܤ·¤Æ¤ª¤ê¡¢¤³¤ì¤é¤ÎÅöÀÜÎΰ褬¥Í¥¸£±£°¤Ë¤è¤êÏ¢·ë¤µ¤ì¤Æ¤¤¤ë¡£¤³¤Î¹½À®¤Ë¤è¤ê¡¢²¼ÉôÇÈ·Á¥×¥ì¡¼¥È£³¤Ï¡¢¥·¥å¡¼¥º¤ËÂФ·¤Æ¸ò´¹²Äǽ¤Ë¤Ê¤Ã¤Æ¤¤¤ë¡£
¡Ê¤â¤Ã¤ÈÆÉ¤à¡Ë
¿åÅÄÊâ¹ÔÉéô·Ú¸º¥´¥àĹ·¤
¡Ú²ÝÂê¡Û¿åÅÄÆâÇÀºî¶È»þ¤ÎÊâ¹Ôº¤Æñ¡¢ÆùÂÎÉéô¤ò·Ú¸º¤¹¤ë¤¿¤á¤Ë¡¢¥´¥àĹ·¤¤ò²þÎɤ·¿åÅĤξå¤òÊ⤰פ¯ÆùÂÎŪÉéô¤Î¾¯¤Ê¤¤¿åÅÄÍѤÎĹ·¤¤òÄ󶡤¹¤ë¡£
¡Ú²ò·è¼êÃʡۿåÅÄÊâ¹Ô¤òº¤Æñ¤Ë¤·¤Æ¤¤¤ëºÇÂçÍ×°ø¤Î¤Ò¤È¤Ä¤Ç¤¢¤ë¥´¥àĹ·¤¤ÈÅ¥¤È¤Î´Ö¤ËȯÀ¸¤¹¤ëʪÍýµÛÃå¾õÂÖ¤«¤é¤ÎΥæ¤òÍÆ°×¤Ë¤¹¤ë¤¿¤á¤Ë¡¢¤«¤«¤È¤ÎµÞ·ã¤Ë³ÑÅÙ¤ÎÊѲ½¤¹¤ëÉô°Ì¤ò¡¢¤Õ¤¯¤é¤Ï¤®Éô¤«¤é¡¢¤«¤«¤È¡¢·¤Äì¤Ë¤«¤±¤Æ»°³ÑÃÇÌ̤ò¤·¤¿´Ý¤ß¤òÂÓ¤Ó¤¿ÆÍµ¯Êª¤È¡¢ÄÀ²¼ÍÞÀ©ÊɤòÀߤ±¤ë¤³¤È¤Ë¤è¤ê¡¢Â¤ò¾å¤²¤è¤¦¤È¤·¤¿ºÝ¤Ë½Ö»þ¤ËÂ絤¡¢µÚ¤Ó¿å¤¬·¤ÄìÌ̤ؤÈήÆþ¤¹¤ë¤è¤¦¤Ë¤·¤¿¿åÅÄÍÑĹ·¤¡£
¡Ê¤â¤Ã¤ÈÆÉ¤à¡Ë
81 - 90 / 356
[ Back to top ]
